TOP
|
特許
|
意匠
|
商標
特許ウォッチ
Twitter
他の特許を見る
公開番号
2025133113
公報種別
公開特許公報(A)
公開日
2025-09-10
出願番号
2025073010,2024030496
出願日
2025-04-25,2024-02-29
発明の名称
インテリア空間シミュレーション装置
出願人
株式会社サンゲツ
代理人
フェリシテ弁理士法人
主分類
G06T
11/80 20060101AFI20250903BHJP(計算;計数)
要約
【課題】簡単な操作でユーザのイメージに合致したインテリア用品を含むインテリア空間の画像を表示させる。
【解決手段】インテリア空間シミュレーション装置1は、ユーザ端末200によって入力されたインテリア空間の雰囲気情報を取得する取得部12と、取得されたインテリア空間の雰囲気情報に関連付けられて記憶されている複数のインテリア空間の画像を記憶部11から抽出する抽出部13と、抽出された複数のインテリア空間の画像の中から所定数のインテリア空間の画像を選択する選択部14と、ユーザ端末20に対して選択された所定数のインテリア空間の画像の少なくとも1つを送信する送信部15と、を備える。選択部14は、画像認識で、複数のインテリア空間の画像の中から、エンティティによって過去に施工されたインテリア空間の画像の類似画像を検索できた場合、検索したインテリア空間の画像を、所定数のインテリア空間の画像として選択する。
【選択図】図1
特許請求の範囲
【請求項1】
インテリア用品を含むインテリア空間の雰囲気情報と、複数の前記インテリア空間の画像とを関連付けて記憶する記憶部と、
ユーザ端末によって入力された前記インテリア空間の雰囲気情報を取得する取得部と、
前記取得部によって取得された前記インテリア空間の雰囲気情報に関連付けられて記憶されている前記複数のインテリア空間の画像を前記記憶部から抽出する抽出部と、
前記抽出部によって抽出された前記複数のインテリア空間の画像の中から所定数の前記インテリア空間の画像を選択する選択部と、
前記ユーザ端末に対して、前記選択部によって選択された前記所定数のインテリア空間の画像の少なくとも1つを送信する送信部と、を備え、
前記選択部は、画像認識で、前記複数のインテリア空間の画像の中から、前記エンティティによって過去に施工されたインテリア空間の画像の類似画像を検索できた場合、検索した前記インテリア空間の画像を、前記所定数のインテリア空間の画像として選択する、インテリア空間シミュレーション装置。
続きを表示(約 200 文字)
【請求項2】
前記選択部は、前記ユーザ端末からの要求に応じて、前記インテリア空間の表示用画像に含まれる前記インテリア用品を変更する、請求項1に記載のインテリア空間シミュレーション装置。
【請求項3】
前記ユーザ端末からの要求は、前記インテリア用品の製品情報及び前記インテリア用品が掲載されている見本帳の情報の少なくとも1つを含む、請求項2に記載のインテリア空間シミュレーション装置。
発明の詳細な説明
【技術分野】
【0001】
本開示は、インテリア空間シミュレーション装置に関する。
続きを表示(約 1,700 文字)
【背景技術】
【0002】
従来、ユーザによるインテリア用品の選定を支援する装置が知られている(例えば、特許文献1参照)。
【先行技術文献】
【特許文献】
【0003】
特開2021-189618号公報
【発明の概要】
【発明が解決しようとする課題】
【0004】
しかしながら、特許文献1に記載の装置では、ユーザのイメージに合致したインテリア用品を含むインテリア空間の表示画像を表示させるのに複雑な操作を行う必要があるという問題点があった。
【0005】
そこで、本開示は、上述の課題に鑑みてなされたものであり、簡単な操作で、ユーザのイメージに合致したインテリア用品を含むインテリア空間の表示画像を表示させることができるインテリア空間シミュレーション装置を提供することを目的とする。
【課題を解決するための手段】
【0006】
本開示の第1の特徴は、インテリア空間シミュレーション装置であって、インテリア用品を含むインテリア空間の雰囲気情報と、複数の前記インテリア空間の画像とを関連付けて記憶する記憶部と、ユーザ端末によって入力された前記インテリア空間の雰囲気情報を取得する取得部と、前記取得部によって取得された前記インテリア空間の雰囲気情報に関連付けられて記憶されている前記複数のインテリア空間の画像を前記記憶部から抽出する抽出部と、前記抽出部によって抽出された前記複数のインテリア空間の画像の中から所定数の前記インテリア空間の画像を選択する選択部と、前記ユーザ端末に対して、前記選択部によって選択された前記所定数のインテリア空間の画像の少なくとも1つを送信する送信部と、を備え、前記選択部は、画像認識で、前記複数のインテリア空間の画像の中から、前記エンティティによって過去に施工されたインテリア空間の画像の類似画像を検索できた場合、検索した前記インテリア空間の画像を、前記所定数のインテリア空間の画像として選択することを要旨とする。
【発明の効果】
【0007】
本開示によれば、簡単な操作で、ユーザのイメージに合致したインテリア用品を含むインテリア空間の表示画像を表示させることができるインテリア空間シミュレーション装置を提供することができる。
【図面の簡単な説明】
【0008】
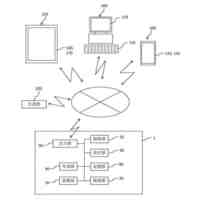
図1は、一実施形態に係るインテリア空間シミュレーション装置1の機能ブロックの一例を示す図である。
図2は、一実施形態に係るインテリア空間シミュレーション装置11の記憶部11によって記憶される情報の一例を示す図である。
図3は、一実施形態に係るインテリア空間シミュレーション装置1の動作の一例を示すフローチャートである。
【発明を実施するための形態】
【0009】
以下に添付図面を参照しながら、本発明の好適な実施形態について詳細に説明する。なお、以下の図面の記載において、同一又は類似の部分には、同一又は類似の符号を付している。ただし、図面は模式的なものであり、各寸法の比率等は現実のものとは異なることに留意すべきである。したがって、具体的な寸法等は、以下の説明を参酌して判断すべきである。また、図面相互間においても互いの寸法の関係や比率が異なる部分が含まれ得る。本明細書及び図面において、実質的に同一の機能、構成を有する要素については、同一の符号を付することにより重複説明を省略し、また本発明に直接関係のない要素は図示を省略する。
【0010】
(第1実施形態)
以下、図1~図3を参照して、本発明の第1実施形態に係るインテリア空間シミュレーション装置1について説明する。図1は、本実施形態に係るインテリア空間シミュレーション装置1の機能ブロックの一例を示す図であり、図3は、本実施形態に係るインテリア空間シミュレーション装置11の記憶部11によって記憶される情報の一例を示す図であり、図3は、本実施形態に係るインテリア空間シミュレーション装置1の動作の一例を示すフローチャートである。
(【0011】以降は省略されています)
この特許をJ-PlatPat(特許庁公式サイト)で参照する
関連特許
株式会社ITP
仮想展示システム
今日
大同大學
スーパーアプリ構築方法
6日前
村田機械株式会社
タスク管理システム
6日前
個人
新規提案・特典情報提供システム
1日前
個人
視線滞留と高速閉瞼を用いた情報処理システム
6日前
シーアンドアールエム株式会社
情報処理装置
今日
株式会社博報堂テクノロジーズ
創出支援装置
今日
矢崎総業株式会社
車載制御システム
今日
トヨタ自動車株式会社
情報処理方法
今日
日本圧着端子製造株式会社
ICカード用コネクタ
6日前
富士通株式会社
ダウンサンプリング
今日
信越ファインテック株式会社
サーバ格納構造
6日前
株式会社KAZAORI
アーティスト活動の支援装置
今日
山洋電気株式会社
営業支援システム
今日
日本製鉄株式会社
処理装置、処理方法、およびプログラム
6日前
マンカイサクラ株式会社
Web上データの信憑性評価装置
今日
トヨタ自動車株式会社
情報処理装置
今日
株式会社ゼロボード
情報処理システム、情報処理方法及びプログラム
6日前
日本電気株式会社
情報処理装置、応答方法、及び応答プログラム
今日
個人
免税店端末、税関端末およびコンピュータプログラム
1日前
株式会社デンソー
通信システム、通信方法、及びプログラム
今日
松村洋蘭株式会社
供花提供方法及び供花提供システム
今日
株式会社関電工
情報処理方法、プログラムおよび情報処理装置
今日
日立ヴァンタラ株式会社
ストレージ装置及びその制御方法
今日
株式会社NTTドコモ
生成装置及び生成方法
今日
LAPRAS株式会社
情報処理装置、情報処理方法、情報処理プログラム
今日
日本電気株式会社
情報処理装置、情報処理方法、および情報処理プログラム
6日前
Turing株式会社
半導体集積回路及びECU
今日
株式会社三菱総合研究所
情報処理装置、情報処理方法及びプログラム
今日
富士通株式会社
情報処理装置および情報処理方法
今日
株式会社リコー
筆記装置、表示装置、および、コミュニケーションシステム
6日前
株式会社ユーザベース
プログラム、方法、情報処理装置
6日前
川崎重工業株式会社
情報処理装置および情報提供方法
今日
井関農機株式会社
営農管理システム
6日前
日本電気株式会社
天体撮像装置、天体撮像方法および天体撮像プログラム
今日
三菱電機株式会社
画像処理システム及び画像処理装置
今日
続きを見る
他の特許を見る