TOP
|
特許
|
意匠
|
商標
特許ウォッチ
Twitter
他の特許を見る
10個以上の画像は省略されています。
公開番号
2025172530
公報種別
公開特許公報(A)
公開日
2025-11-26
出願番号
2024078083
出願日
2024-05-13
発明の名称
通信システム、通信方法、及びプログラム
出願人
株式会社デンソー
代理人
個人
,
個人
主分類
G06F
13/14 20060101AFI20251118BHJP(計算;計数)
要約
【課題】通信相手のアドレスの変更に柔軟に対応可能な通信システムを提供する。
【解決手段】通信相手を特定するアドレスを含む通信信号は、メモリ12に記憶された設定値を読み出して、読み出した設定値に従って生成される。設定値は、時間を規定するための複数のカウント値を含む。通信信号は、複数のカウント値に基づく時間が経過するごとに、信号レベルを反転することによって生成される。従って、通信相手の数や種類の変化によるアドレスの変更は、メモリ12に記憶される設定値を変更するだけで済む。このため、通信相手のアドレスの変更に柔軟に対応可能とすることができる。
【選択図】図1
特許請求の範囲
【請求項1】
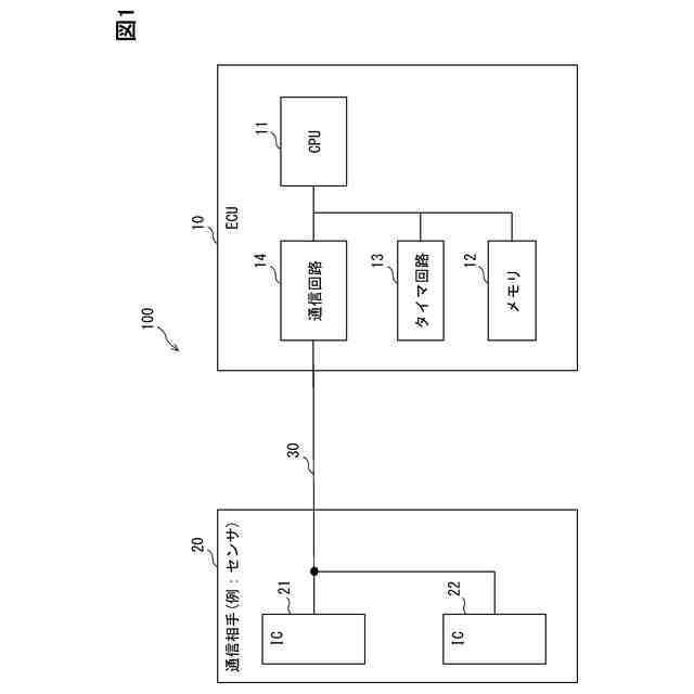
制御ユニット(10)が、少なくとも1つの通信相手(21、22)に対して、前記通信相手を特定するアドレスを含む通信信号を送信するための通信システム(100)であって、
前記制御ユニットに設けられ、前記通信信号を生成するための設定値を記憶するメモリ(12)と、
前記制御ユニットに設けられ、前記メモリに記憶された前記設定値に従って、前記通信信号を生成する生成部(14)と、を備え、
前記設定値は、時間を規定するための複数のカウント値を含み、
前記生成部は、複数の前記カウント値に基づく時間が経過するごとに、信号レベルを反転することによって、前記通信信号を生成する、通信システム。
続きを表示(約 1,500 文字)
【請求項2】
タイマ回路(13)をさらに備え、
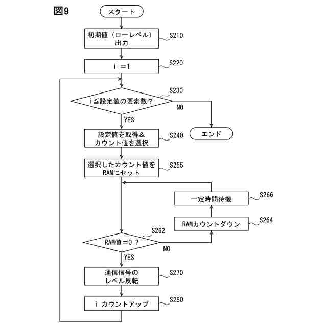
前記タイマ回路は、複数の前記カウント値を順番にカウントするように動作し、
前記生成部は、前記タイマ回路にて、カウント対象の前記カウント値のカウントが完了することに応じて、前記信号レベルを反転することによって、前記通信信号を生成する、請求項1に記載の通信システム。
【請求項3】
前記メモリから、前記設定値に含まれる複数のカウント値を順番に読み込んで、前記タイマ回路にセットするDMAコントローラ(15)をさらに備える、請求項2に記載の通信システム。
【請求項4】
前記制御ユニットにおいて、一定の制御周期で繰り返し実行される繰り返し処理により、複数の前記カウント値が順番にカウントされ、
前記生成部は、前記繰り返し処理により、カウント対象の前記カウント値のカウントが完了することに応じて、前記信号レベルを反転することによって、前記通信信号を生成する、請求項1に記載の通信システム。
【請求項5】
前記制御ユニットは、複数の前記通信相手に対して、前記通信相手を特定するアドレスを含む前記通信信号を送信するものであり、
前記メモリは、複数の前記通信相手に対応する、複数の前記設定値を記憶し、
前記生成部は、通信を行う前記通信相手に対応する前記設定値を選択する、請求項1乃至4のいずれか1項に記載の通信システム。
【請求項6】
前記通信相手は、所定の物理量を検出するセンサ装置であり、
前記通信システムは、前記制御ユニットが、前記通信信号に含まれるアドレスによって特定される前記センサ装置からセンサ信号を取得するために用いられる、請求項1乃至4のいずれか1項に記載の通信システム。
【請求項7】
前記通信システムは、車両における電動パワーステアリングシステムの制御ユニットと複数のセンサ装置との通信に適用される、請求項1乃至4のいずれか1項に記載の通信システム。
【請求項8】
制御ユニット(10)が、少なくとも1つの通信相手(21、22)に対して、前記通信相手を特定するアドレスを含む通信信号を送信するための通信方法であって、
前記制御ユニットのメモリ(12)に記憶された、前記通信信号を生成するための設定値を読み出すこと、及び
前記制御ユニットに設けられた生成部(14)が、読み出された前記設定値に従って、前記通信信号を生成すること、を備え、
前記設定値は、時間を規定するための複数のカウント値を含み、
前記生成部は、複数の前記カウント値に基づく時間が経過するごとに、信号レベルを反転することによって、前記通信信号を生成する、通信方法。
【請求項9】
少なくとも1つのプロセッサ(11)によって実行され、制御ユニット(10)が、少なくとも1つの通信相手(21、22)に対して、前記通信相手を特定するアドレスを含む通信信号を送信するためのプログラムであって、
少なくとも1つの前記プロセッサに、
前記制御ユニットのメモリ(12)に記憶された、前記通信信号を生成するための設定値を読み出すこと、及び
読み出された前記設定値に従って、前記通信信号を生成すること、を実行させ、
前記設定値は、時間を規定するための複数のカウント値を含み、
前記通信信号は、複数の前記カウント値に基づく時間が経過するごとに、信号レベルを反転することによって生成される、プログラム。
発明の詳細な説明
【技術分野】
【0001】
本開示は、制御ユニットが、少なくとも1つの通信相手に対して、通信相手を特定するアドレスを含む通信信号を送信するための技術に関する。
続きを表示(約 2,000 文字)
【背景技術】
【0002】
例えば、特許文献1には、マスタデバイスとスレーブデバイスとを含むシステムについて記載されている。特許文献1のシステムでは、マスタデバイスが、ポイントツーポイントネットワークプロトコル(例えば、SENTプロトコル)に従って、スレーブデバイスのアドレスを含むコマンドを送信する。スレーブデバイスは、受信されたコマンドを処理し、かつコマンドに含まれているアドレスがスレーブデバイスのアドレスに一致した場合に、返答を生成する。
【先行技術文献】
【特許文献】
【0003】
特開2020-149703号公報
【発明の概要】
【発明が解決しようとする課題】
【0004】
特許文献1のシステムは、上述したように、1つのマスタデバイスから複数のスレーブデバイスに1本の通信線でコマンドを送信し、各スレーブデバイスにてコマンドに含まれるアドレスが一致するか否かを判定し、一致する場合に返答するものである。このように、特許文献1は、主として、スレーブデバイスを対象としたものとなっており、マスタデバイスから出力するコマンド(通信信号)の生成手法に関しては、具体的に述べられていない。
【0005】
上述した特許文献1のシステムにおいて、マスタデバイスは、通信ノードを有するコントローラによって構成され、スレーブデバイスは双方向ノードを有するセンサによって構成される。特許文献1のシステムが適用される対象が異なる場合、センサの数や種類が変化することが考えられる。このように、センサの数や種類が変化すると、コマンドに含まれるアドレスも変更する必要が生じ得る。コントローラは、このようなアドレスの変更に柔軟に対応可能であることが望まれる。
【0006】
本開示は、上述した点に鑑みてなされたものであり、通信相手のアドレスの変更に柔軟に対応可能な通信システム、通信方法、及びプログラムを提供することを目的とする。
【課題を解決するための手段】
【0007】
上記目的を達成するために、本開示の通信システム(100)は、制御ユニット(10)が、少なくとも1つの通信相手(21、22)に対して、通信相手を特定するアドレスを含む通信信号を送信するための通信システムであって、
制御ユニットに設けられ、通信信号を生成するための設定値を記憶するメモリ(12)と、
制御ユニットに設けられ、メモリに記憶された設定値に従って、通信信号を生成する生成部(14)と、を備え、
設定値は、時間を規定するための複数のカウント値を含み、
生成部は、複数のカウント値に基づく時間が経過するごとに、信号レベルを反転することによって、通信信号を生成する。
【0008】
また、本開示の通信方法は、制御ユニット(10)が、少なくとも1つの通信相手(21、22)に対して、通信相手を特定するアドレスを含む通信信号を送信するための通信方法であって、
制御ユニットのメモリ(12)に記憶された、通信信号を生成するための設定値を読み出すこと、及び
制御ユニットに設けられた生成部(14)が、読み出された設定値に従って、通信信号を生成すること、を備え、
設定値は、時間を規定するための複数のカウント値を含み、
生成部は、複数のカウント値に基づく時間が経過するごとに、信号レベルを反転することによって、通信信号を生成する。
【0009】
さらに、本開示のプログラムは、少なくとも1つのプロセッサ(11)によって実行され、制御ユニット(10)が、少なくとも1つの通信相手(21、22)に対して、通信相手を特定するアドレスを含む通信信号を送信するためのプログラムであって、
少なくとも1つのプロセッサに、
制御ユニットのメモリ(12)に記憶された、通信信号を生成するための設定値を読み出すこと、及び
読み出された設定値に従って、通信信号を生成すること、を実行させ、
設定値は、時間を規定するための複数のカウント値を含み、
通信信号は、複数のカウント値に基づく時間が経過するごとに、信号レベルを反転することによって生成される。
【0010】
上述したように、本開示の通信システム、通信方法、及びプログラムによれば、通信相手を特定するアドレスを含む通信信号は、メモリに記憶された設定値を読み出して、読み出した設定値に従って生成される。設定値は、時間を規定するための複数のカウント値を含む。通信信号は、複数のカウント値に基づく時間が経過するごとに、信号レベルを反転することによって生成される。
(【0011】以降は省略されています)
この特許をJ-PlatPat(特許庁公式サイト)で参照する
関連特許
株式会社デンソー
分離体
7日前
株式会社デンソー
電動弁
21日前
株式会社デンソー
端子台
1日前
株式会社デンソー
撮像装置
20日前
株式会社デンソー
撮像装置
20日前
株式会社デンソー
摺動機構
20日前
株式会社デンソー
摺動機構
20日前
株式会社デンソー
熱交換器
20日前
株式会社デンソー
電子装置
21日前
株式会社デンソー
光学部材
7日前
株式会社デンソー
光学部材
7日前
株式会社デンソー
電解装置
22日前
株式会社デンソー
電気回路
15日前
株式会社デンソー
制御装置
23日前
株式会社デンソー
電子装置
1か月前
株式会社デンソー
センサ装置
28日前
株式会社デンソー
半導体装置
7日前
株式会社デンソー
半導体装置
20日前
株式会社デンソー
熱交換部材
22日前
株式会社デンソー
半導体装置
22日前
株式会社デンソー
熱交換装置
1か月前
株式会社デンソートリム
鞍乗り車両
29日前
株式会社デンソー
半導体装置
1か月前
株式会社デンソー
センサ装置
28日前
株式会社デンソー
ヒータ装置
29日前
株式会社デンソー
半導体装置
1か月前
株式会社デンソー
電気化学セル
20日前
株式会社デンソー
表面加工方法
今日
株式会社デンソー
電気化学セル
今日
株式会社デンソー
電子制御装置
20日前
株式会社デンソー
電気化学セル
20日前
株式会社デンソーテン
車載表示装置
20日前
株式会社デンソー
形状検査方法
1日前
株式会社デンソー
電力変換装置
1か月前
株式会社デンソー
電圧検出回路
1か月前
株式会社デンソー
給電システム
7日前
続きを見る
他の特許を見る