TOP
|
特許
|
意匠
|
商標
特許ウォッチ
Twitter
他の特許を見る
10個以上の画像は省略されています。
公開番号
2025171909
公報種別
公開特許公報(A)
公開日
2025-11-20
出願番号
2024161046
出願日
2024-09-18
発明の名称
ICカード用コネクタ
出願人
日本圧着端子製造株式会社
代理人
個人
主分類
G06K
7/00 20060101AFI20251113BHJP(計算;計数)
要約
【課題】ICカードの表面に形成された金属箔端子に接続するICカード用コネクタにおいて、ICカードとの接続の有無を検知するためのスイッチ機構を設けることができ、さらに、部品点数を削減できるとともに、組み立て工数も削減する。
【解決手段】ICカード用コネクタ1は、ハウジング11と、複数対のコンタクト12・12と、ハウジング11に装着される防水部材14と、複数対のコンタクト12・12のうちの一対のコンタクト12a・12aに接触して短絡する短絡端子13とを備える。コンタクト12は、ICカード100に接触して押圧される接触部21と、接触部21とともに変位する先端側変位部22とを有する。短絡端子13は、防水部材14に装着され、一対のコンタクト12a・12aにおける一対の先端側変位部22・22が、短絡端子13に対して接触することで、一対のコンタクト12a・12aが短絡される。
【選択図】 図5
特許請求の範囲
【請求項1】
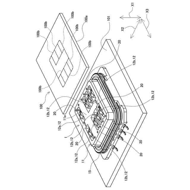
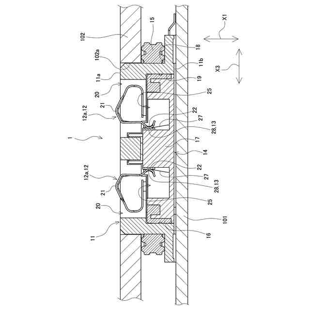
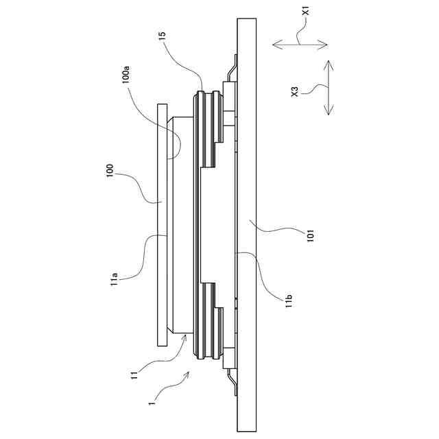
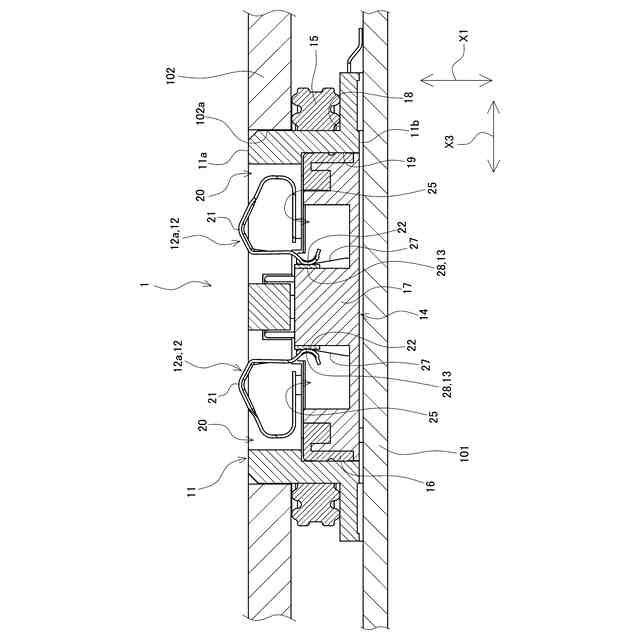
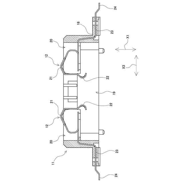
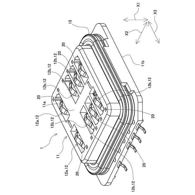
ハウジングと、所定距離離間して互いに対向して前記ハウジングに並んで配置される複数対のコンタクトと、を備え、ICカードの表面に形成された金属箔端子に接続するICカード用コネクタであって、
複数対の前記コンタクトが配置された前記ハウジングに嵌め込まれて装着される防水部材と、複数対の前記コンタクトのうちの一対の前記コンタクトに接触して短絡する短絡端子と、を更に備え、
前記コンタクトは、中間部に形成されて前記ハウジングの一方の面に隆起するように突出して設けられて前記ICカードに接触して押圧される接触部と、先端側に形成されて前記接触部が押圧される際に前記接触部とともに変位するように設けられた先端側変位部と、基端側に形成されて前記ハウジングに固定される固定部と、を有し、
前記短絡端子は、前記防水部材に装着され、一対の前記コンタクトにおける一対の前記先端側変位部が、前記短絡端子に対して接触することで、一対の前記コンタクトが短絡されることを特徴とする、ICカード用コネクタ。
続きを表示(約 1,300 文字)
【請求項2】
請求項1に記載のICカード用コネクタであって、
一対の前記コンタクトにおける一対の前記先端側変位部が、前記短絡端子に対して、一対の前記コンタクトが対向する方向において接触することで、一対の前記コンタクトが短絡されることを特徴とする、ICカード用コネクタ。
【請求項3】
請求項2に記載のICカード用コネクタであって、
前記防水部材には、前記先端側変位部が摺動するテーパ部が設けられていることを特徴とする、ICカード用コネクタ。
【請求項4】
請求項2又は請求項3に記載のICカード用コネクタであって、
前記短絡端子は、一対の前記コンタクトが対向する方向の両端に設けられて当該対向する方向において向かい合う一対の端壁部と、一対の前記端壁部を連結する連結部と、前記連結部から突出して設けられて前記防水部材に圧入される圧入部と、を有していることを特徴とする、ICカード用コネクタ。
【請求項5】
ハウジングと、所定距離離間して互いに対向して前記ハウジングに並んで配置される複数対のコンタクトと、を備え、ICカードの表面に形成された金属箔端子に接続するICカード用コネクタであって、
複数対の前記コンタクトのうちの一対の前記コンタクトに接触して短絡する短絡端子を更に備え、
前記コンタクトは、中間部に形成されて前記ハウジングの一方の面に隆起するように突出して設けられて前記ICカードに接触して押圧される接触部と、先端側に形成されて前記接触部が押圧される際に前記接触部とともに変位するように設けられた先端側変位部と、基端側に形成されて前記ハウジングに固定される固定部と、を有し、
前記短絡端子は、前記ハウジングに装着され、一対の前記コンタクトにおける一対の前記先端側変位部が、前記短絡端子に対して接触することで、一対の前記コンタクトが短絡されることを特徴とする、ICカード用コネクタ。
【請求項6】
請求項5に記載のICカード用コネクタであって、
一対の前記コンタクトにおける一対の前記先端側変位部が、前記短絡端子に対して、一対の前記コンタクトが対向する方向において接触することで、一対の前記コンタクトが短絡されることを特徴とする、ICカード用コネクタ。
【請求項7】
請求項6に記載のICカード用コネクタであって、
複数対の前記コンタクトが配置された前記ハウジングに嵌め込まれて装着される防水部材を更に備え、
前記防水部材には、前記先端側変位部が摺動するテーパ部が設けられていることを特徴とする、ICカード用コネクタ。
【請求項8】
請求項5に記載のICカード用コネクタであって、
前記短絡端子は、一対の前記先端側変位部とそれぞれ接触する一対のバネ接点部を有し、
一対の前記バネ接点部は、一対の前記先端側変位部と接触した際に弾性変形するバネ構造を有していることを特徴とする、ICカード用コネクタ。
発明の詳細な説明
【技術分野】
【0001】
本発明は、接触式のICカードの表面に形成された金属箔端子に接続するICカード用コネクタに関する。
続きを表示(約 2,000 文字)
【背景技術】
【0002】
ICカードは、矩形のプラスチック製のカードにICチップが内蔵され、データを記録するように構成されている。ICカードは、磁気カードに比べて大容量のデータを記録でき、データの暗号化や偽造防止に優れていることから、電子マネーや識別カードなどに応用されている。
【0003】
ICカードは、データを読み書きする方式の違いによって、非接触式と接触式とに分類されている。データを微弱な電波で無線交信する非接触式のICカードは、例えば、自動改札システムに利用されている。接触式のICカードは、表面に金属箔端子が形成されており、表面の金属箔端子に接触することで接触式のICカードに接続するICカード用コネクタを介して端末機にデータが取得される。接触式のICカードは、例えば、契約者情報を記録したSIM(Subscriber Identity Module)カードとして携帯電話機に使われている。
【0004】
接触式のICカードに接続されるICカード用コネクタにおいては、ICカードとの接続の有無を検知するためのスイッチ機構が設けられる。このようなスイッチ機構が設けられたICカード用コネクタとして、特許文献1に開示されたものが知られている。
【0005】
特許文献1に開示されたICカード用コネクタは、ハウジングと、ハウジングに並んで配置される複数対のコンタクトと、ハウジングに取り付けられる防水リングおよび防水キャップと、を備え、コンタクトがICカードの金属箔端子に接触することでICカードに接続される。そして、特許文献1のICカード用コネクタでは、複数対のコンタクトのうちの一対のコンタクトが、ICカードとの接続の有無を検知するためのスイッチ機構として用いられる。
【0006】
特許文献1のICカード用コネクタでは、ICカードとの接続の有無を検知するためのスイッチ機構を実現するために、複数対のコンタクトのうちの一対のコンタクトを短絡可能な短絡端子と、短絡端子が圧入されて取り付けられるキャップハウジングとが設けられ、キャップハウジングがハウジングに対して取り付けられる。
【先行技術文献】
【特許文献】
【0007】
特開2008-41372号公報
【発明の概要】
【発明が解決しようとする課題】
【0008】
特許文献1に開示されたICカード用コネクタにおいては、スイッチ機構の実現のため、複数対のコンタクトのうちの一対のコンタクトを短絡する短絡端子が圧入されて取り付けられるキャップハウジングが必要となる。このため、部品点数が増大してしまうという問題がある。また、特許文献1のICカード用コネクタでは、短絡端子をキャップハウジングに取り付ける工程と、短絡端子を取り付けたキャップハウジングをさらにハウジングに組み付けて装着する工程とが必要となる。このため、ICカード用コネクタを組み立てる際の組み立て工数の増大を招いてしまうという問題もある。
【0009】
本発明は、上記実情に鑑みることにより、接触式のICカードの表面に形成された金属箔端子に接続するICカード用コネクタにおいて、ICカードとの接続の有無を検知するためのスイッチ機構を設けることができ、さらに、部品点数を削減できるとともに、組み立て工数も削減することができる、ICカード用コネクタを提供することを目的とする。
【課題を解決するための手段】
【0010】
(1)上記目的を達成するための本発明のある局面に係るICカード用コネクタは、ハウジングと、所定距離離間して互いに対向して前記ハウジングに並んで配置される複数対のコンタクトと、を備え、ICカードの表面に形成された金属箔端子に接続するICカード用コネクタに関する。そして、本発明のある局面に係るICカード用コネクタは、複数対の前記コンタクトが配置された前記ハウジングに嵌め込まれて装着される防水部材と、複数対の前記コンタクトのうちの一対の前記コンタクトに接触して短絡する短絡端子と、を更に備え、前記コンタクトは、中間部に形成されて前記ハウジングの一方の面に隆起するように突出して設けられて前記ICカードに接触して押圧される接触部と、先端側に形成されて前記接触部が押圧される際に前記接触部とともに変位するように設けられた先端側変位部と、基端側に形成されて前記ハウジングに固定される固定部と、を有し、前記短絡端子は、前記防水部材に装着され、一対の前記コンタクトにおける一対の前記先端側変位部が、前記短絡端子に対して接触することで、一対の前記コンタクトが短絡されることを特徴とする。
(【0011】以降は省略されています)
この特許をJ-PlatPat(特許庁公式サイト)で参照する
関連特許
個人
詐欺保険
1か月前
個人
縁伊達ポイン
1か月前
個人
RFタグシート
26日前
個人
5掛けポイント
15日前
個人
職業自動販売機
8日前
個人
QRコードの彩色
1か月前
個人
ペルソナ認証方式
23日前
個人
地球保全システム
1か月前
個人
自動調理装置
25日前
個人
情報処理装置
18日前
個人
農作物用途分配システム
1か月前
個人
表変換編集支援システム
2か月前
個人
残土処理システム
1か月前
個人
インターネットの利用構造
22日前
個人
サービス情報提供システム
10日前
個人
知的財産出願支援システム
1か月前
個人
タッチパネル操作指代替具
1か月前
個人
スケジュール調整プログラム
1か月前
個人
携帯端末障害問合せシステム
1か月前
個人
パスワード管理支援システム
2か月前
個人
AIキャラクター制御システム
2か月前
個人
食品レシピ生成システム
1か月前
株式会社キーエンス
受発注システム
1か月前
株式会社キーエンス
受発注システム
1か月前
個人
海外支援型農作物活用システム
2か月前
株式会社キーエンス
受発注システム
1か月前
個人
エリアガイドナビAIシステム
23日前
個人
システム及びプログラム
2か月前
個人
音声・通知・再配達UX制御構造
1か月前
個人
人格進化型対話応答制御システム
2か月前
キヤノン株式会社
情報処理装置
16日前
キヤノン株式会社
表示システム
1か月前
キヤノン株式会社
情報処理装置
2日前
大同特殊鋼株式会社
疵判定方法
1か月前
キヤノン株式会社
印刷システム
1か月前
株式会社ワコム
電子ペン
17日前
続きを見る
他の特許を見る