TOP
|
特許
|
意匠
|
商標
特許ウォッチ
Twitter
他の特許を見る
公開番号
2025172370
公報種別
公開特許公報(A)
公開日
2025-11-26
出願番号
2024077846
出願日
2024-05-13
発明の名称
情報処理装置、情報処理方法及びプログラム
出願人
株式会社三菱総合研究所
代理人
個人
,
個人
主分類
G06Q
50/10 20120101AFI20251118BHJP(計算;計数)
要約
【課題】客観的な論点を設定した上で、ユーザの手間を少なくして報告書や企画書等の作成書面を効率的に作成することができる情報処理装置等を提供する。
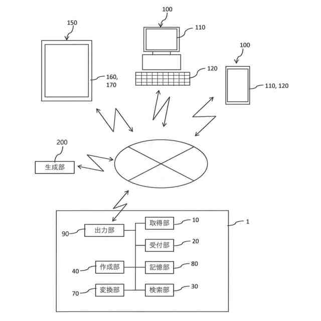
【解決手段】情報処理装置1は、ユーザから報告書や企画書等の作成書面を作成する背景又は目的を含む入力情報を受け付ける受付部20と、前記受付部20が受け付けた前記入力情報を用いて、生成部200から前記入力情報に関連した論点の取得を行う取得部10と、を有する。
【選択図】図8
特許請求の範囲
【請求項1】
ユーザから作成書面を作成する背景又は目的を含む入力情報を受け付ける受付部と、
前記受付部が受け付けた前記入力情報を用いて、生成部から前記入力情報に関連した論点の取得を行う取得部と、
を備える情報処理装置。
続きを表示(約 850 文字)
【請求項2】
論点は、主論点と、主論点を細分化した小論点を含み、
取得部は、背景又は目的を用いて、生成部から主論点の取得を行い、かつ主論点を用いて、生成部から小論点を取得する、請求項1に記載の情報処理装置。
【請求項3】
取得部は、論点の取得を行う際に、当該論点に関する調査項目、焦点又は仮説に関する情報を取得する、請求項1又は2に記載の情報処理装置。
【請求項4】
取得部は、論点の調査のための検索ワードを生成部から取得し、
検索ワードを用いて検索を行う検索部を備える、請求項1又は2に記載の情報処理装置。
【請求項5】
取得部は、検索部で取得された複数の検索情報から、論点に関連する検索情報を生成部によって選択させる、請求項4に記載の情報処理装置。
【請求項6】
取得部は、生成部によって、選択された検索情報から、論点に関連する要約を作成させて、生成された要約結果を取得する、請求項5に記載の情報処理装置。
【請求項7】
論点に関する情報を出力する出力部を備え、
受付部は、出力された論点に関する情報の修正入力を受け付ける、請求項1又は2に記載の情報処理装置。
【請求項8】
前記作成書面は報告書又は企画書である、請求項1又は2に記載の情報処理装置。
【請求項9】
取得部は、前記論点の取得を行う際に、所定のマトリクスに分類して又は時系列に沿って論点を分解するよう、生成部に入力する、請求項1又は2に記載の情報処理装置。
【請求項10】
受付部によって、ユーザから作成書面を作成する背景又は目的を含む入力情報を受け付ける工程と、
取得部によって、前記受付部が受け付けた前記入力情報を用いて、生成部から前記入力情報に関連した論点の取得を行う工程と、
を備える情報処理方法。
(【請求項11】以降は省略されています)
発明の詳細な説明
【技術分野】
【0001】
本発明は、報告書又は企画書を作成するために用いられる情報処理装置、情報処理方法及びプログラムに関する。
続きを表示(約 1,300 文字)
【背景技術】
【0002】
従来からコンサルタントによる調査レポートの作成が行われている。レポート作成を支援する装置としては、各種事業に関する規定の情報が格納されたデータベースと、ユーザ入力部と、事業理論作成プログラムによって事業理論を生成する事業理論作成部と、ユーザが、事業理論で設定された指標を用いて事業の結果および/または成果を入力する結果および/または効果入力部と、事業の結果および/または成果に基づいて、社会的インパクト評価プログラムが、事業の社会的インパクトの評価結果を生成する社会的インパクト評価部と、事業の社会的インパクトの評価結果を用いてユーザが事業に関するレポートを作成するレポート作成部と、を含む装置が、特許文献1で提案されている。
【先行技術文献】
【特許文献】
【0003】
特開2022-077772号公報
【発明の概要】
【発明が解決しようとする課題】
【0004】
コンサルタントに報告書や企画書といった書面の作成を依頼するには高額な費用がかかるという問題がある。またコンサルタントを利用せずに報告書や企画書といった書面を作成する場合には、外部に拠出する費用を抑えられるものの、社内での作業が発生することから、結局、人的コストがかかってしまう。
【0005】
本願では、客観的な論点を設定した上で、ユーザの手間を少なくして報告書や企画書等の作成書面を効率的に作成することができる情報処理装置等を提供する。
【課題を解決するための手段】
【0006】
[概念1]
本発明による情報処理装置は、
ユーザから作成書面を作成する背景又は目的を含む入力情報を受け付ける受付部と、
前記受付部が受け付けた前記入力情報を用いて、生成部から前記入力情報に関連した論点の取得を行う取得部と、
を備えてもよい。
【0007】
[概念2]
概念1による情報処理装置において、
論点は、主論点と、主論点を細分化した小論点を含み、
取得部は、背景又は目的を用いて、生成部から主論点の取得を行い、かつ主論点を用いて、生成部から小論点を取得してもよい。
【0008】
[概念3]
概念1又は2による情報処理装置において、
取得部は、論点の取得を行う際に、当該論点に関する調査項目、焦点又は仮説に関する情報を取得してもよい。
【0009】
[概念4]
概念1乃至3のいずれか1つによる情報処理装置において、
取得部は、論点の調査のための検索ワードを生成部から取得し、
検索ワードを用いて検索を行う検索部を備えてもよい。
【0010】
[概念5]
概念4による情報処理装置において、
取得部は、検索部で取得された複数の検索情報から、論点に関連する検索情報を生成部によって選択させてもよい。
(【0011】以降は省略されています)
この特許をJ-PlatPat(特許庁公式サイト)で参照する
関連特許
個人
詐欺保険
1か月前
個人
縁伊達ポイン
1か月前
個人
5掛けポイント
21日前
個人
職業自動販売機
14日前
個人
RFタグシート
1か月前
個人
ペルソナ認証方式
29日前
個人
地球保全システム
1か月前
個人
QRコードの彩色
1か月前
個人
自動調理装置
1か月前
個人
情報処理装置
24日前
個人
残土処理システム
1か月前
個人
表変換編集支援システム
2か月前
個人
農作物用途分配システム
1か月前
個人
インターネットの利用構造
28日前
個人
知的財産出願支援システム
1か月前
個人
タッチパネル操作指代替具
1か月前
個人
サービス情報提供システム
16日前
個人
パスワード管理支援システム
2か月前
個人
スケジュール調整プログラム
1か月前
個人
携帯端末障害問合せシステム
1か月前
個人
AIキャラクター制御システム
2か月前
個人
食品レシピ生成システム
1か月前
株式会社キーエンス
受発注システム
1か月前
株式会社キーエンス
受発注システム
1か月前
個人
海外支援型農作物活用システム
2か月前
株式会社キーエンス
受発注システム
1か月前
個人
エリアガイドナビAIシステム
29日前
個人
システム及びプログラム
2か月前
個人
音声対話型帳票生成支援システム
2か月前
株式会社ワコム
電子ペン
23日前
個人
社会還元・施設向け供給支援構造
2か月前
個人
未来型家系図構築システム
2か月前
キヤノン株式会社
画像認識装置
8日前
トヨタ自動車株式会社
通知装置
1か月前
個人
帳票自動生成型SaaSシステム
1か月前
キヤノン株式会社
情報処理装置
8日前
続きを見る
他の特許を見る