TOP
|
特許
|
意匠
|
商標
特許ウォッチ
Twitter
他の特許を見る
10個以上の画像は省略されています。
公開番号
2025171772
公報種別
公開特許公報(A)
公開日
2025-11-20
出願番号
2024077428
出願日
2024-05-10
発明の名称
サーバ格納構造
出願人
信越ファインテック株式会社
代理人
個人
,
個人
主分類
G06F
1/20 20060101AFI20251113BHJP(計算;計数)
要約
【課題】簡単な構造で、効率よくサーバラック上にアクセスすることで、作業効率を向上できる。
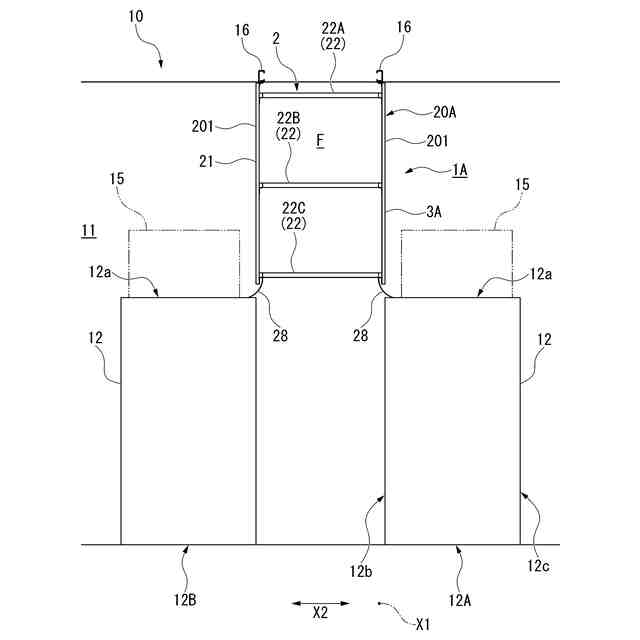
【解決手段】データセンタ10の空調室11に設けられ、電子機器を多段に収納するサーバを備えるサーバ格納構造1Aであって、複数を一方向に配列させたラック列を構成し、ホットアイルHを挟んだ両側にラック列の背面同士を向かい合わせて配置され、サーバを格納するサーバラック12と、ホットアイルHの上側に設けられるホットアイルコンテインメント2と、を備え、ホットアイルコンテインメント2は、ホットアイルHに連通するとともに空調室11の室内空間との間を遮断するパーティションによって区画され、パーティション20Aは、サーバラック12の上面12aに連設するパーティション側面の下部において、ホットアイルコンテインメント2の内側から着脱可能な上開き窓3Aがサーバラック12の配列方向に沿って複数設けられるサーバ格納構造を提供する。
【選択図】図1
特許請求の範囲
【請求項1】
データセンタの空調室に設けられ、電子機器を多段に収納するサーバを備えるサーバ格納構造であって、
複数を一方向に配列させたラック列を構成し、ホットアイルを挟んだ両側に前記ラック列の背面同士を向かい合わせて配置され、前記サーバを格納するサーバラックと、
前記ホットアイルの上側に設けられる上部暖気通路囲い込み部と、を備え、
前記上部暖気通路囲い込み部は、前記ホットアイルに連通するとともに前記空調室の室内空間との間を遮断するパーティションによって区画され、
前記パーティションは、前記サーバラックの上面に連設するパーティション側面の下部において、前記上部暖気通路囲い込み部の内側に開閉可能な開閉パネルが前記サーバラックの配列方向に沿って複数設けられることを特徴とするサーバ格納構造。
続きを表示(約 1,400 文字)
【請求項2】
前記開閉パネルは、前記開閉パネルの上縁部に設けられる第1ヒンジを回転中心として下から上に開く上開き窓である、請求項1に記載のサーバ格納構造。
【請求項3】
前記開閉パネルは、前記開閉パネルの下縁部に設けられる第2ヒンジを回転中心として上から下に開く下開き窓である、請求項1に記載のサーバ格納構造。
【請求項4】
前記開閉パネルは、前記開閉パネルの両側縁部に設けられる第3ヒンジを回転中心として左右両側に開く両開き窓である、請求項1に記載のサーバ格納構造。
【請求項5】
前記開閉パネルは、前記開閉パネルのいずれか一方の側縁部に設けられる第4ヒンジを回転中心として左右のいずれか一方側に開く片開き窓である、請求項1に記載のサーバ格納構造。
【請求項6】
データセンタの空調室に設けられ、電子機器を多段に収納するサーバを備えるサーバ格納構造であって、
複数を一方向に配列させたラック列を構成し、ホットアイルを挟んだ両側に前記ラック列の背面同士を向かい合わせて配置され、前記サーバを格納するサーバラックと、
前記ホットアイルの上側に設けられる上部暖気通路囲い込み部と、を備え、
前記上部暖気通路囲い込み部は、前記ホットアイルに連通するとともに前記空調室の室内空間との間を遮断するパーティションによって区画され、
前記パーティションは、前記サーバラックの上面に連設するパーティション側面の下部において、前記上部暖気通路囲い込み部の内側から開閉可能な開閉パネルが前記サーバラックの配列方向に沿って複数設けられ、
前記開閉パネルは、上下にスライド可能な上げ下げ窓であることを特徴とするサーバ格納構造。
【請求項7】
前記上げ下げ窓は、上下に分割された分割窓により構成され、
前記分割窓がそれぞれ上下にスライド可能である、請求項6に記載のサーバ格納構造。
【請求項8】
データセンタの空調室に設けられ、電子機器を多段に収納するサーバを備えるサーバ格納構造であって、
複数を一方向に配列させたラック列を構成し、ホットアイルを挟んだ両側に前記ラック列の背面同士を向かい合わせて配置され、前記サーバを格納するサーバラックと、
前記ホットアイルの上側に設けられる上部暖気通路囲い込み部と、を備え、
前記上部暖気通路囲い込み部は、前記ホットアイルに連通するとともに前記空調室の室内空間との間を遮断するパーティションによって区画され、
前記パーティションは、前記サーバラックの上面に連設するパーティション側面の下部において、前記上部暖気通路囲い込み部の内側から着脱可能な開閉パネルが前記サーバラックの配列方向に沿って複数設けられることを特徴とするサーバ格納構造。
【請求項9】
前記パーティションの前記開閉パネルが装着される上下開口縁、及び前記開閉パネルの上下端縁のいずれか一方に凹溝が設けられ、他方が前記凹溝に係合するケンドン式窓である、請求項8に記載のサーバ格納構造。
【請求項10】
前記凹溝は前記開閉パネルの外面に設けられ、
前記開閉パネルの内面には、前記凹溝の一部を着脱可能に係止する係止部を有する、請求項9に記載のサーバ格納構造。
発明の詳細な説明
【技術分野】
【0001】
本発明は、サーバ格納構造に関する。
続きを表示(約 1,800 文字)
【背景技術】
【0002】
従来、データセンタの空調室に設けられるサーバ格納構造は、電子機器の多段に収納するサーバを備えている。このようなサーバ格納構造では、複数を一方向に配列させたラック列を構成し、ホットアイルを挟んだ両側にラック列の背面同士を向かい合わせて配置され、サーバを格納するサーバラックと、サーバラック及びホットアイルの上側に設けられるホットアイルコンテインメントと、を備えた構造のものが知られている(例えば、特許文献1参照)。
【先行技術文献】
【特許文献】
【0003】
特開2010-49330号公報
【発明の概要】
【発明が解決しようとする課題】
【0004】
上述したような従来のサーバ格納構造では、サーバラックの上面にサーバに接続する多大な量のケーブルが配線されている。そして、近年では、高速大容量の通信が可能な5G(第5世代移動通信システム)の普及が進められ、データセンタにおけるサーバとして機能するコンピュータや種々の電子機器、すなわちサーバの処理量及び設置数も増大している。
そのため、上述したようなサーバに接続するケーブルに効率よくアクセスすることができ、ケーブルの配線作業やメンテナンス作業にかかる手間や時間を低減でき、効率よく作業を行うことができる簡単な設備構造が求められており、その点で改善の余地があった。
【0005】
本発明は、上述する問題点に鑑みてなされたもので、簡単な構造で、効率よくサーバラック上にアクセスすることで、作業効率を向上できるサーバ格納構造を提供することを目的とする。
【課題を解決するための手段】
【0006】
上記目的を達成するため、本発明に係るサーバ格納構造は、データセンタの空調室に設けられ、電子機器の多段に収納するサーバを備えるサーバ格納構造であって、複数を一方向に配列させたラック列を構成し、ホットアイルを挟んだ両側に前記ラック列の背面同士を向かい合わせて配置され、前記サーバを格納するサーバラックと、前記ホットアイルの上側に設けられる上部暖気通路囲い込み部と、を備え、前記上部暖気通路囲い込み部は、前記ホットアイルに連通するとともに前記空調室の室内空間との間を遮断するパーティションによって区画され、前記パーティションは、前記サーバラックの上面に連設するパーティション側面の下部において、前記上部暖気通路囲い込み部の内側に開閉可能な開閉パネルが前記サーバラックの配列方向に沿って複数設けられることを特徴としている。
【0007】
本発明に係るサーバ格納構造では、上部暖気通路囲い込み部を作業空間とし、上部暖気通路囲い込み部の内側から開閉パネルを例えば上部暖気通路囲い込み部の内側に開くことで、上部暖気通路囲い込み部からサーバラックの上面にアクセスすることができる。そのため、適宜な開閉パネルを開いてサーバラックの上面にケーブルを配線する作業や、配線されたケーブルのメンテンナス作業を上部暖気通路囲い込み部の内側から効率よく行うことができる。そして、本発明のサーバ格納構造は、パーティションの一部に開閉可能な開閉パネルを設けるといった簡単な構造により実現できる。
また、本発明では、パーティションにおいて複数の開閉パネルを配置することで、上部暖気通路囲い込み部を部分的に開放して作業を行うことができるので、冷気が送り込まれる空調室の温度上昇を抑えることができ、サーバの温度管理もしやすくなる利点がある。
【0008】
また、本発明に係るサーバ格納構造は、前記開閉パネルは、前記開閉パネルの上縁部に設けられる第1ヒンジを回転中心として下から上に開く上開き窓であることを特徴としてもよい。
【0009】
この場合には、上部暖気通路囲い込み部の内側から上開き窓を例えば上部暖気通路囲い込み部の内側に向けて下から上に開くことで、上部暖気通路囲い込み部からサーバラックの上面に容易にアクセスすることができる。
【0010】
また、本発明に係るサーバ格納構造は、前記開閉パネルは、前記開閉パネルの下縁部に設けられる第2ヒンジを回転中心として上から下に開く下開き窓であることを特徴としてもよい。
(【0011】以降は省略されています)
この特許をJ-PlatPat(特許庁公式サイト)で参照する
関連特許
個人
詐欺保険
1か月前
個人
縁伊達ポイン
1か月前
個人
職業自動販売機
9日前
個人
RFタグシート
27日前
個人
5掛けポイント
16日前
個人
QRコードの彩色
1か月前
個人
ペルソナ認証方式
24日前
個人
地球保全システム
1か月前
個人
自動調理装置
26日前
個人
情報処理装置
19日前
個人
残土処理システム
1か月前
個人
農作物用途分配システム
1か月前
個人
知的財産出願支援システム
1か月前
個人
タッチパネル操作指代替具
1か月前
個人
インターネットの利用構造
23日前
個人
サービス情報提供システム
11日前
個人
携帯端末障害問合せシステム
1か月前
個人
スケジュール調整プログラム
1か月前
株式会社キーエンス
受発注システム
1か月前
個人
食品レシピ生成システム
1か月前
個人
エリアガイドナビAIシステム
24日前
株式会社キーエンス
受発注システム
1か月前
個人
海外支援型農作物活用システム
2か月前
株式会社キーエンス
受発注システム
1か月前
個人
システム及びプログラム
2か月前
株式会社ケアコム
項目選択装置
19日前
キヤノン株式会社
情報処理装置
3日前
キヤノン株式会社
表示システム
1か月前
トヨタ自動車株式会社
通知装置
1か月前
キヤノン株式会社
情報処理装置
3日前
キヤノン株式会社
画像認識装置
3日前
キヤノン株式会社
印刷システム
1か月前
大同特殊鋼株式会社
疵判定方法
1か月前
エッグス株式会社
情報処理装置
1か月前
株式会社ケアコム
項目選択装置
19日前
個人
帳票自動生成型SaaSシステム
1か月前
続きを見る
他の特許を見る