TOP
|
特許
|
意匠
|
商標
特許ウォッチ
Twitter
他の特許を見る
10個以上の画像は省略されています。
公開番号
2025172349
公報種別
公開特許公報(A)
公開日
2025-11-26
出願番号
2024077814
出願日
2024-05-13
発明の名称
車載制御システム
出願人
矢崎総業株式会社
代理人
個人
,
個人
,
個人
主分類
G06F
8/654 20180101AFI20251118BHJP(計算;計数)
要約
【課題】車両の停止時において、車両全体の消費電力の増加を回避しつつ、ECUのソフトウェアを更新し得る車載制御システムを提供する。
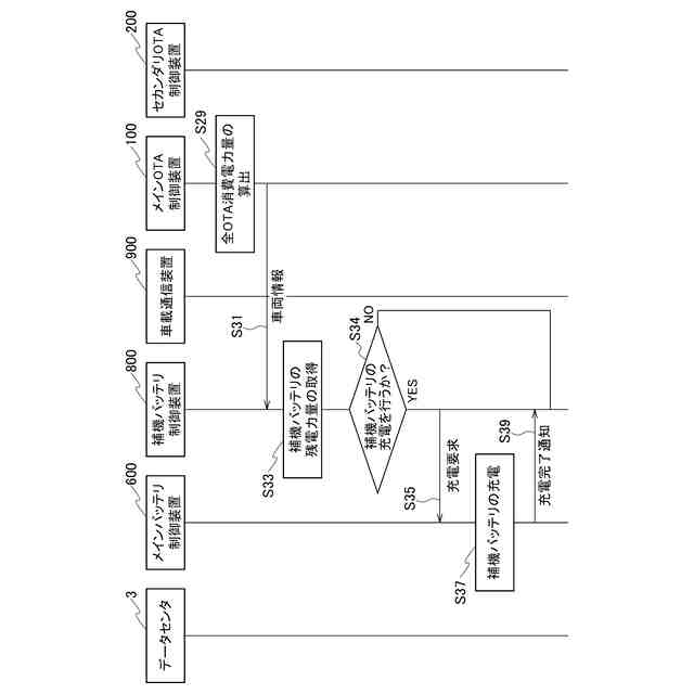
【解決手段】車載制御システム10は、メインOTA制御装置100、複数のセカンダリOTA制御装置200、メインバッテリ制御装置600、及び補機バッテリ制御装置800を備える。メインOTA制御装置100は、複数のセカンダリOTA制御装置200から受信した複数のエリア内のOTA消費電力量に基づいて、全OTA消費電力量を算出する。補機バッテリ制御装置800は、全OTA消費電力量と補機バッテリ700の残電力量との差分に基づいて、補機バッテリ700に電力を補充する必要があると判定すると、メインバッテリ制御装置600に補充電力量を送信する。メインバッテリ制御装置600は、車両1の動作時に、補充電力量に基づいて、メインバッテリ400から補機バッテリ700に電力を補充する。
【選択図】図11B
特許請求の範囲
【請求項1】
メインOTA制御装置と、
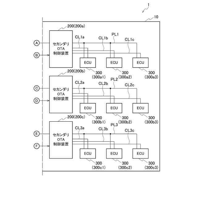
前記メインOTA制御装置に通信可能に接続されて、車両の複数のエリアにそれぞれ配置された複数のセカンダリOTA制御装置と、
前記複数のセカンダリOTA制御装置にそれぞれ通信可能に接続されて、ソフトウェアの更新を実行する複数のターゲットECU(Electronic Control Unit)と、
前記メインOTA制御装置及び前記複数のセカンダリOTA制御装置に電力を供給する補機バッテリを制御する第1制御装置と、
前記車両を駆動する電力を蓄えるメインバッテリを制御する第2制御装置と、
を備え、
前記メインOTA制御装置は、
データセンタから送信された、前記複数のターゲットECUの更新用のソフトウェアをそれぞれ含む複数の更新データを取得する第1更新データ取得部と、
前記複数の更新データをそれぞれ前記複数のセカンダリOTA制御装置に送信する第1更新データ送信部と、
各セカンダリOTA制御装置から、前記各セカンダリOTA制御装置に通信可能に接続されたターゲットECUがソフトウェアを更新するのに必要なエリア内のOTA消費電力量を受信するエリア情報受信部と、
前記複数のセカンダリOTA制御装置から受信した複数のエリア内のOTA消費電力量に基づいて、車両全体でソフトウェアの更新に必要な全OTA消費電力量を算出する算出部と、
前記全OTA消費電力量を前記第1制御装置に送信する車両情報送信部と、
を有し、
前記第1制御装置は、
前記全OTA消費電力量を前記メインOTA制御装置から取得する車両情報取得部と、
前記補機バッテリの残電力量を取得する残電力量取得部と、
前記全OTA消費電力量と前記補機バッテリの残電力量との差分に基づいて、前記メインバッテリから前記補機バッテリに電力を補充する必要があるか否かを判定する判定部と、
前記判定部が、前記メインバッテリから前記補機バッテリに電力を補充する必要があると判定する場合、補充電力量を算出する補充電力量算出部と、
前記補充電力量を前記第2制御装置に送信する補充電力量送信部と、
を有し、
前記第2制御装置は、
前記補充電力量を前記第1制御装置から取得する補充電力量取得部と、
前記車両の動作時に、前記補充電力量に基づいて、前記メインバッテリから前記補機バッテリに電力を補充する電力補充部と、
を有し、
前記各セカンダリOTA制御装置は、
前記ターゲットECUの更新用のソフトウェアを含む更新データを前記メインOTA制御装置から取得する第2更新データ取得部と、
前記車両の停止時に、前記補機バッテリから供給された電力を、前記ターゲットECUに供給する電力供給部と、
前記車両の停止時に、前記更新データを前記ターゲットECUに送信する第2更新データ送信部と、
を有し、
前記ターゲットECUは、前記車両の停止時に、前記更新データに基づいて、前記ソフトウェアの更新を実行し、
前記メインOTA制御装置及び前記第2制御装置は、前記車両の停止時に動作を停止する、車載制御システム。
続きを表示(約 990 文字)
【請求項2】
前記各セカンダリOTA制御装置は、
前記ターゲットECUの更新用のソフトウェアのデータ量を取得するデータ量取得部と、
取得された前記データ量に基づいて、前記ターゲットECUが前記ソフトウェアの更新を実行するのにかかる時間を推定する時間推定部と、
前記ソフトウェアの更新時の平均消費電力に、推定された前記時間を掛けて、前記ターゲットECUのOTA消費電力量を算出する算出部と、
を更に有する、請求項1に記載の車載制御システム。
【請求項3】
前記複数の更新データは、前記複数のターゲットECUの識別情報をそれぞれ含んでおり、
前記メインOTA制御装置は、
前記複数のセカンダリOTA制御装置の識別情報にそれぞれ紐付けられた前記複数のターゲットECUの識別情報を記憶する記憶部と、
前記複数の更新データから前記複数のターゲットECUの識別情報を取得する識別情報取得部と、
取得された各ターゲットECUの識別情報に基づいて、前記各ターゲットECUの識別情報を含んだ更新データの送信先であるセカンダリOTA制御装置を判定する送信先判定部と、
を更に有し、
前記第1更新データ送信部は、判定された前記セカンダリOTA制御装置に、前記各ターゲットECUの識別情報を含んだ前記更新データを送信する、請求項1に記載の車載制御システム。
【請求項4】
前記ターゲットECUは、前記車両の停止時に前記ソフトウェアを更新すると、更新完了通知を前記各セカンダリOTA制御装置に送信して、動作を停止し、
前記各セカンダリOTA制御装置は、前記車両の停止時に、前記更新完了通知を受信すると、動作を停止する、請求項1に記載の車載制御システム。
【請求項5】
前記第1制御装置において、
前記残電力量取得部は、前記車両の動作時に、前記補機バッテリの残電力量を一定期間毎に取得し、
前記判定部は、前記残電力量取得部が前記補機バッテリの残電力量を取得する毎に、前記全OTA消費電力量と前記補機バッテリの残電力量との差分に基づいて、前記メインバッテリから前記補機バッテリに電力を補充する必要があるか否かを判定する、請求項1に記載の車載制御システム。
発明の詳細な説明
【技術分野】
【0001】
本発明は、車載制御システムに関する。
続きを表示(約 2,100 文字)
【背景技術】
【0002】
従来、車両に搭載された電子制御装置(ECU:Electronic Control Unit)のソフトウェアを更新する技術が知られている。近年では、ECUのソフトウェアの更新を無線で行う技術(OTA:Over The Air)も構築されつつある。
【0003】
一方で、車両に搭載されるECUの数が増加するにつれて、ECUのソフトウェアを更新するのに必要な電力量も増える傾向にある。このため、ECUに電力を供給する補機バッテリの電力不足が懸念されている。
【0004】
この問題に対処するために、特許文献1では、ECUのソフトウェアの更新時に、補機バッテリの残電力量が少なくなると、車両を駆動する電力を蓄えるメインバッテリから、補機バッテリに電力を補充する方法が開示されている。
【先行技術文献】
【特許文献】
【0005】
特開2021-27695号公報
【発明の概要】
【発明が解決しようとする課題】
【0006】
しかしながら、車両の停止時(駐車時)にECUのソフトウェアを更新する場合、特許文献1に開示された方法では、メインバッテリを制御する装置などを動作させる必要がある。
【0007】
このため、車両の停止時における車両全体の消費電力が増加するため、更なる改善が求められていた。
【0008】
本発明は、このような従来技術が有する課題に鑑みてなされたものである。そして本発明の目的は、車両の停止時において、車両全体の消費電力の増加を回避しつつ、ECUのソフトウェアを更新し得る車載制御システムを提供することにある。
【課題を解決するための手段】
【0009】
本発明の態様に係る車載制御システムは、メインOTA制御装置と、前記メインOTA制御装置に通信可能に接続されて、車両の複数のエリアにそれぞれ配置された複数のセカンダリOTA制御装置と、前記複数のセカンダリOTA制御装置にそれぞれ通信可能に接続されて、ソフトウェアの更新を実行する複数のターゲットECU(Electronic Control Unit)と、前記メインOTA制御装置及び前記複数のセカンダリOTA制御装置に電力を供給する補機バッテリを制御する第1制御装置と、前記車両を駆動する電力を蓄えるメインバッテリを制御する第2制御装置と、を備える。前記メインOTA制御装置は、データセンタから送信された、前記複数のターゲットECUの更新用のソフトウェアをそれぞれ含む複数の更新データを取得する第1更新データ取得部と、前記複数の更新データをそれぞれ前記複数のセカンダリOTA制御装置に送信する第1更新データ送信部と、各セカンダリOTA制御装置から、前記各セカンダリOTA制御装置に通信可能に接続されたターゲットECUがソフトウェアを更新するのに必要なエリア内のOTA消費電力量を受信するエリア情報受信部と、前記複数のセカンダリOTA制御装置から受信した複数のエリア内のOTA消費電力量に基づいて、車両全体でソフトウェアの更新に必要な全OTA消費電力量を算出する算出部と、前記全OTA消費電力量を前記第1制御装置に送信する車両情報送信部と、を有する。前記第1制御装置は、前記全OTA消費電力量を前記メインOTA制御装置から取得する車両情報取得部と、前記補機バッテリの残電力量を取得する残電力量取得部と、前記全OTA消費電力量と前記補機バッテリの残電力量との差分に基づいて、前記メインバッテリから前記補機バッテリに電力を補充する必要があるか否かを判定する判定部と、前記判定部が、前記メインバッテリから前記補機バッテリに電力を補充する必要があると判定する場合、補充電力量を算出する補充電力量算出部と、前記補充電力量を前記第2制御装置に送信する補充電力量送信部と、を有する。前記第2制御装置は、前記補充電力量を前記第1制御装置から取得する補充電力量取得部と、前記車両の動作時に、前記補充電力量に基づいて、前記メインバッテリから前記補機バッテリに電力を補充する電力補充部と、を有する。前記各セカンダリOTA制御装置は、前記ターゲットECUの更新用のソフトウェアを含む更新データを前記メインOTA制御装置から取得する第2更新データ取得部と、前記車両の停止時に、前記補機バッテリから供給された電力を、前記ターゲットECUに供給する電力供給部と、前記車両の停止時に、前記更新データを前記ターゲットECUに送信する第2更新データ送信部と、を有する。前記ターゲットECUは、前記車両の停止時に、前記更新データに基づいて、前記ソフトウェアの更新を実行し、前記メインOTA制御装置及び前記第2制御装置は、前記車両の停止時に動作を停止する。
【発明の効果】
【0010】
本発明によれば、車両の停止時において、車両全体の消費電力の増加を回避しつつ、ECUのソフトウェアを更新し得る車載制御システムを提供することができる。
【図面の簡単な説明】
(【0011】以降は省略されています)
この特許をJ-PlatPat(特許庁公式サイト)で参照する
関連特許
矢崎総業株式会社
給電装置
今日
矢崎総業株式会社
コネクタ
今日
矢崎総業株式会社
コネクタ
8日前
矢崎総業株式会社
コネクタ
7日前
矢崎総業株式会社
コネクタ
7日前
矢崎総業株式会社
電源回路
7日前
矢崎総業株式会社
バスバー電線
今日
矢崎総業株式会社
バスバー電線
今日
矢崎総業株式会社
車両用室内灯
20日前
矢崎総業株式会社
通信ケーブル
20日前
矢崎総業株式会社
連結コネクタ
7日前
矢崎総業株式会社
車両用室内灯
20日前
矢崎総業株式会社
照明ユニット
1日前
矢崎総業株式会社
端子間接続構造
1日前
矢崎総業株式会社
ワイヤハーネス
今日
矢崎総業株式会社
導電モジュール
7日前
矢崎総業株式会社
シールドコネクタ
7日前
矢崎総業株式会社
車載制御システム
1日前
矢崎総業株式会社
導通検査システム
20日前
矢崎総業株式会社
コネクタの製造方法
今日
矢崎総業株式会社
光ファイバ型センサ
今日
矢崎総業株式会社
端子付き電線の製造方法
8日前
矢崎総業株式会社
接続回路及びその製造方法
今日
矢崎総業株式会社
導電性部材のボルト締結構造
20日前
矢崎総業株式会社
検査システム、および検査方法
1日前
矢崎総業株式会社
プロテクタおよびワイヤハーネス
15日前
矢崎総業株式会社
ノイズフィルタ及びワイヤハーネス
1日前
矢崎総業株式会社
アルミニウム合金バスバー及びその製造方法
7日前
矢崎総業株式会社
バスバホルダおよびバスバホルダの製造方法
15日前
矢崎総業株式会社
売買支援装置、売買支援システム、及び売買支援方法
1日前
矢崎総業株式会社
バスバモジュール、およびバスバモジュールの製造方法
1日前
矢崎総業株式会社
ワイヤーハーネス接続構造及びワイヤーハーネス接続構造の製造方法
8日前
矢崎総業株式会社
信号切り替えタイミングの算出システム、及び信号切り替えタイミングの算出方法
今日
個人
詐欺保険
1か月前
個人
縁伊達ポイン
1か月前
個人
RFタグシート
1か月前
続きを見る
他の特許を見る