TOP
|
特許
|
意匠
|
商標
特許ウォッチ
Twitter
他の特許を見る
公開番号
2025168689
公報種別
公開特許公報(A)
公開日
2025-11-12
出願番号
2024073309
出願日
2024-04-30
発明の名称
プロテクタおよびワイヤハーネス
出願人
矢崎総業株式会社
代理人
弁理士法人虎ノ門知的財産事務所
主分類
H02G
3/04 20060101AFI20251105BHJP(電力の発電,変換,配電)
要約
【課題】メスロックとオスロックとの嵌合作業をより適正に行うプロテクタ及びワイヤハーネスを提供する。
【解決手段】プロテクタ1は、ベース10(第1部材)に設けられるメスロック31と、カバー20(第2部材)に設けられる一対のアーム部32a、一対のアーム部32aの基端部32a1同士を連結する連結部32b及び一対のアーム部32aの先端部32a2に設けられる一対の爪部32cを含んで構成されるオスロック32と、を有するロック部30を備える。オスロック32はさらに、一対のアーム部32a及び連結部32bによって囲われて形成され、組み付け方向Zのベース10側に向けて開口する変形許容空間部33を有し、メスロック31の貫通孔31aへの挿入に伴って一対のアーム部32aが軸線方向X(交差方向)に沿って変形許容空間部33に向けて互いに近づく側に弾性変形可能に構成される。
【選択図】図3
特許請求の範囲
【請求項1】
組み付け方向に沿って相互に組み付けられ、配索材を挿通可能である配索空間部を形成する第1部材および第2部材と、
前記第1部材と前記第2部材とが相互に組み付けられた状態でロックするロック部と、を備え、
前記ロック部は、
前記第1部材に設けられ、前記組み付け方向に沿って貫通する貫通孔を有したメスロックと、
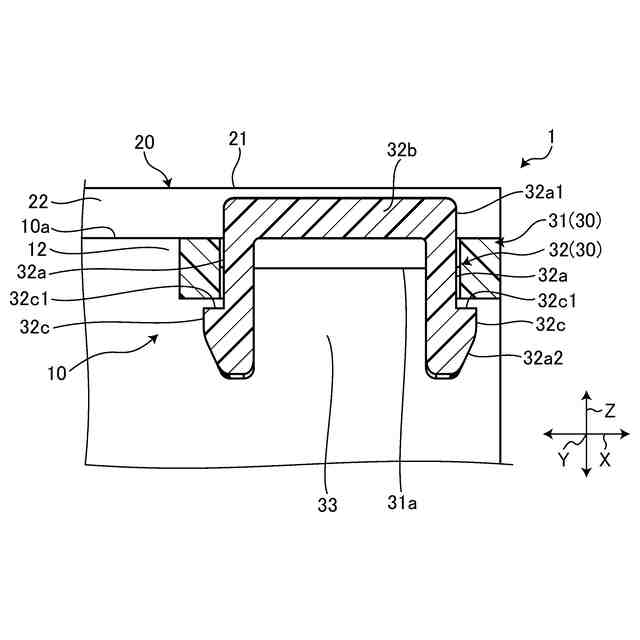
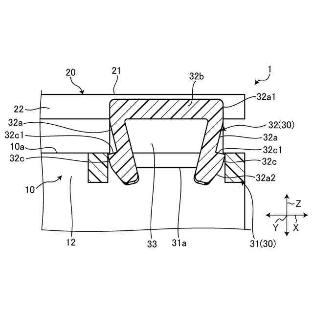
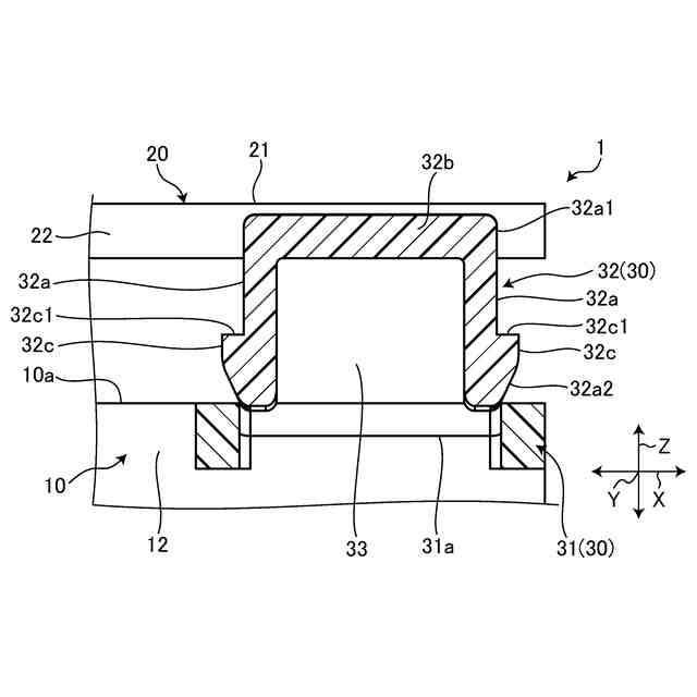
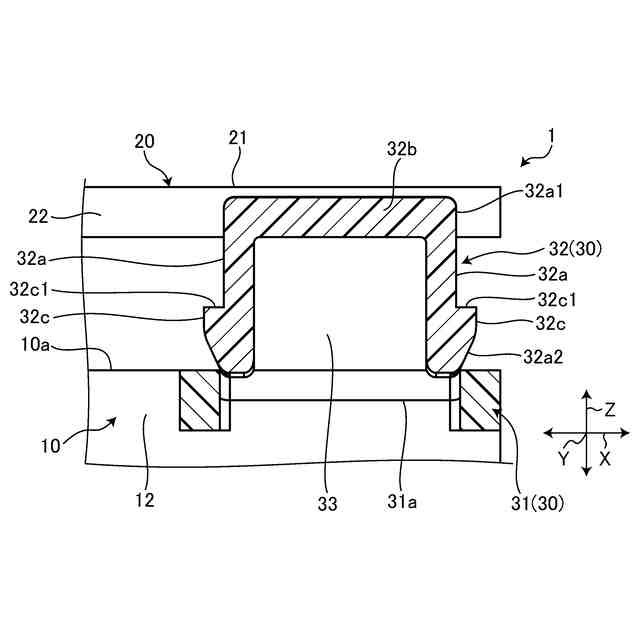
前記第2部材において前記組み付け方向と交差する交差方向に沿って互いに間隔をあけて設けられ、前記組み付け方向に沿って前記第1部材側に向けて突出し、前記メスロックの前記貫通孔に挿入される一対のアーム部と、前記一対のアーム部の前記組み付け方向の基端部同士を連結する連結部と、前記一対のアーム部の前記組み付け方向の先端部に設けられ、前記交差方向に沿って互いに離れる側に向けて突出し、前記メスロックの前記貫通孔の周縁部に係止される一対の爪部と、を含んで構成されるオスロックと、を有し、
前記オスロックは、前記一対のアーム部および前記連結部によって囲われて形成され、前記組み付け方向の前記第1部材側に向けて開口する変形許容空間部を有し、前記メスロックの前記貫通孔への挿入に伴って前記一対のアーム部が前記交差方向に沿って前記変形許容空間部に向けて互いに近づく側に弾性変形可能に構成される、
プロテクタ。
続きを表示(約 750 文字)
【請求項2】
前記メスロックの前記貫通孔は、前記第1部材の外面に設けられ板状に形成された板状部分に設けられ、当該貫通孔の周りが前記板状部分によって閉塞している、
請求項1に記載のプロテクタ。
【請求項3】
導電性を有する配索材と、
前記配索材に外装されるプロテクタと、を備え、
前記プロテクタは、
組み付け方向に沿って相互に組み付けられ、前記配索材を挿通可能である配索空間部を形成する第1部材および第2部材と、
前記第1部材と前記第2部材とが相互に組み付けられた状態でロックするロック部と、を備え、
前記ロック部は、
前記第1部材に設けられ、前記組み付け方向に沿って貫通する貫通孔を有したメスロックと、
前記第2部材において前記組み付け方向と交差する交差方向に沿って互いに間隔をあけて設けられ、前記組み付け方向に沿って前記第1部材側に向けて突出し、前記メスロックの前記貫通孔に挿入される一対のアーム部と、前記一対のアーム部の前記組み付け方向の基端部同士を連結する連結部と、前記一対のアーム部の前記組み付け方向の先端部に設けられ、前記交差方向に沿って互いに離れる側に向けて突出し、前記メスロックの前記貫通孔の周縁部に係止される一対の爪部と、を含んで構成されるオスロックと、を有し、
前記オスロックは、前記一対のアーム部および前記連結部によって囲われて形成され、前記組み付け方向の前記第1部材側に向けて開口する変形許容空間部を有し、前記メスロックの前記貫通孔への挿入に伴って前記一対のアーム部が前記交差方向に沿って前記変形許容空間部に向けて互いに近づく側に弾性変形可能に構成される、
ワイヤハーネス。
発明の詳細な説明
【技術分野】
【0001】
本発明は、プロテクタおよびワイヤハーネスに関する。
続きを表示(約 2,200 文字)
【背景技術】
【0002】
従来のワイヤハーネスのプロテクタに関する技術として、例えば、特許文献1には、組み付け方向に沿って相互に組み付けられ、配索材を挿通可能である配索空間部を形成する第1部材および第2部材と、第1部材と第2部材とが相互に組み付けられた状態でロックするロック部と、を備えたプロテクタが開示されている。ロック部は、第1部材に設けられ、組み付け方向に沿って貫通する貫通孔を有したメスロックと、第2部材に設けられ、一対のアーム部および連結部によって組み付け方向の第1部材とは反対側に向けて開口する変形許容空間部を有したオスロックと、を含んで構成される。
【先行技術文献】
【特許文献】
【0003】
特開2005-80434号公報
【発明の概要】
【発明が解決しようとする課題】
【0004】
ところで、上述した特許文献1に記載のプロテクタでは、例えば、メスロックとオスロックとの嵌合作業をより適正に行う点で更なる改善の余地があった。
【0005】
本発明は、上記の事情に鑑みてなされたものであって、メスロックとオスロックとの嵌合作業をより適正に行うことができるプロテクタおよびワイヤハーネスを提供することを目的とする。
【課題を解決するための手段】
【0006】
上記目的を達成するために、本発明に係るプロテクタは、組み付け方向に沿って相互に組み付けられ、配索材を挿通可能である配索空間部を形成する第1部材および第2部材と、前記第1部材と前記第2部材とが相互に組み付けられた状態でロックするロック部と、を備え、前記ロック部は、前記第1部材に設けられ、前記組み付け方向に沿って貫通する貫通孔を有したメスロックと、前記第2部材において前記組み付け方向と交差する交差方向に沿って互いに間隔をあけて設けられ、前記組み付け方向に沿って前記第1部材側に向けて突出し、前記メスロックの前記貫通孔に挿入される一対のアーム部と、前記一対のアーム部の前記組み付け方向の基端部同士を連結する連結部と、前記一対のアーム部の前記組み付け方向の先端部に設けられ、前記交差方向に沿って互いに離れる側に向けて突出し、前記メスロックの前記貫通孔の周縁部に係止される一対の爪部と、を含んで構成されるオスロックと、を有し、前記オスロックは、前記一対のアーム部および前記連結部によって囲われて形成され、前記組み付け方向の前記第1部材側に向けて開口する変形許容空間部を有し、前記メスロックの前記貫通孔への挿入に伴って前記一対のアーム部が前記交差方向に沿って前記変形許容空間部に向けて互いに近づく側に弾性変形可能に構成される。
【発明の効果】
【0007】
本発明に係るプロテクタおよびワイヤハーネスでは、オスロックは、一対のアーム部および連結部によって囲われて形成され、組み付け方向の第1部材側に向けて開口する変形許容空間部を有し、メスロックの貫通孔への挿入に伴って一対のアーム部が交差方向に沿って変形許容空間部に向けて互いに近づく側に弾性変形可能に構成される。この構成により、プロテクタおよびワイヤハーネスは、例えば、メスロックの貫通孔に対するオスロックの挿入時に、変形許容空間部によって一対のアーム部の自由端となった先端部を比較的容易に交差方向に沿って弾性変形させることができる。この結果、プロテクタおよびワイヤハーネスは、メスロックとオスロックとの嵌合作業をより適正に行うことができる、という効果を奏する。
【図面の簡単な説明】
【0008】
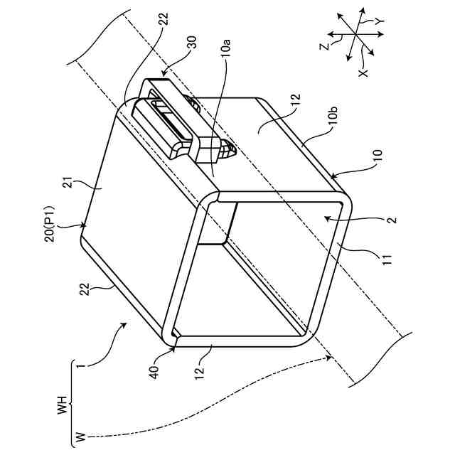
図1は、実施形態に係るプロテクタが適用されるワイヤハーネスの例示的な斜視図である。
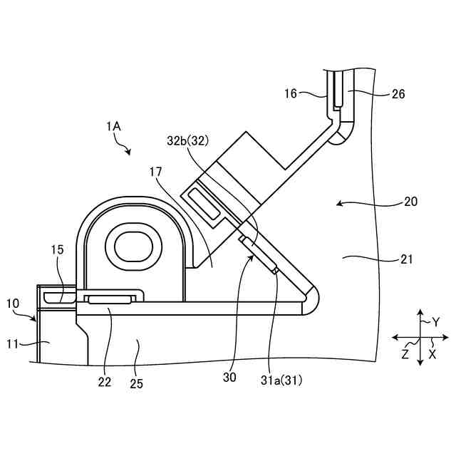
図2は、実施形態に係るプロテクタの例示的な斜視図であって、カバーが開位置にある状態の図である。
図3は、実施形態に係るプロテクタのロック部の例示的な断面図であって、オスロックが嵌合前位置にある状態のである。
図4は、実施形態に係るプロテクタのロック部の例示的な断面図であって、オスロックが嵌合途中位置にある状態の図である。
図5は、実施形態に係るプロテクタのロック部の例示的な断面図であって、オスロックが嵌合完了位置にある状態の図である。
図6は、変形例に係るプロテクタの例示的な平面図である。
【発明を実施するための形態】
【0009】
以下、本発明に係る実施形態および変形例を図面に基づいて詳細に説明する。なお、下記実施形態および変形例によりこの発明が限定されるものではない。また、下記実施形態および変形例における構成要素には、当業者が置換可能かつ容易なもの、あるいは実質的に同一のものが含まれる。
【0010】
また、以下に開示される実施形態および変形例には、同様の構成要素が含まれる。よって、以下では、それら同様の構成要素には共通の符号が付与されるとともに、重複する説明が省略される。なお、本明細書では、序数は、部品や、部材、部位、位置、方向等を区別するためだけに用いられており、順番や優先度を示すものではない。
(【0011】以降は省略されています)
この特許をJ-PlatPat(特許庁公式サイト)で参照する
関連特許
矢崎総業株式会社
端子
17日前
矢崎総業株式会社
箱状体
1か月前
矢崎総業株式会社
箱状体
1か月前
矢崎総業株式会社
箱状体
10日前
矢崎総業株式会社
箱状体
10日前
矢崎総業株式会社
箱状体
10日前
矢崎総業株式会社
コネクタ
1か月前
矢崎総業株式会社
照明装置
18日前
矢崎総業株式会社
照明装置
17日前
矢崎総業株式会社
コネクタ
1か月前
矢崎総業株式会社
コネクタ
1か月前
矢崎総業株式会社
バスバー
28日前
矢崎総業株式会社
照明装置
23日前
矢崎総業株式会社
コネクタ
1か月前
矢崎総業株式会社
コネクタ
1か月前
矢崎総業株式会社
コネクタ
1か月前
矢崎総業株式会社
接続構造
10日前
矢崎総業株式会社
照明装置
18日前
矢崎総業株式会社
コネクタ
1か月前
矢崎総業株式会社
コネクタ
9日前
矢崎総業株式会社
コネクタ
1か月前
矢崎総業株式会社
コネクタ
9日前
矢崎総業株式会社
コネクタ
1か月前
矢崎総業株式会社
報知装置
24日前
矢崎総業株式会社
コネクタ
1か月前
矢崎総業株式会社
コネクタ
1か月前
矢崎総業株式会社
止水部材
1か月前
矢崎総業株式会社
コネクタ
1か月前
矢崎総業株式会社
照明構造
1か月前
矢崎総業株式会社
コネクタ
1か月前
矢崎総業株式会社
コネクタ
1か月前
矢崎総業株式会社
コネクタ
1か月前
矢崎総業株式会社
プロテクタ
1か月前
矢崎総業株式会社
ゴムブーツ
1か月前
矢崎総業株式会社
電気接続箱
1か月前
矢崎総業株式会社
カバー構造
15日前
続きを見る
他の特許を見る