TOP
|
特許
|
意匠
|
商標
特許ウォッチ
Twitter
他の特許を見る
10個以上の画像は省略されています。
公開番号
2025170514
公報種別
公開特許公報(A)
公開日
2025-11-19
出願番号
2024075152
出願日
2024-05-07
発明の名称
ワイヤーハーネス接続構造及びワイヤーハーネス接続構造の製造方法
出願人
矢崎総業株式会社
代理人
個人
,
個人
,
個人
主分類
H02G
3/30 20060101AFI20251112BHJP(電力の発電,変換,配電)
要約
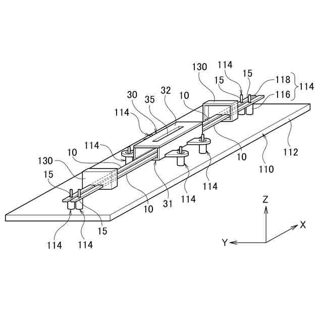
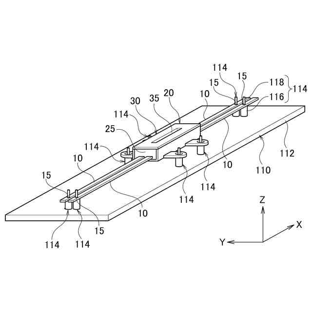
【課題】バスバーの曲げや切断などによる寸法の公差を吸収し、対象物への固定を容易にすることが可能なワイヤーハーネス接続構造を提供する。
【解決手段】ワイヤーハーネス接続構造1は、バスバー10と、バスバー10が貫通した樹脂体25を含み、対象物に固定するための固定部材20とを備え、樹脂体25からバスバー10が突き出した部分の樹脂体25は露出している。
【選択図】図1
特許請求の範囲
【請求項1】
バスバーと、
前記バスバーが貫通した樹脂体を含み、対象物に固定するための固定部材と、
を備え、
前記樹脂体から前記バスバーが突き出した部分の前記樹脂体は露出している、ワイヤーハーネス接続構造。
続きを表示(約 600 文字)
【請求項2】
前記固定部材は、前記バスバーと前記樹脂体を収容する収容部材を含み、前記樹脂体は前記収容部材の内部空間に充填されている、請求項1に記載のワイヤーハーネス接続構造。
【請求項3】
前記バスバーは板状である、請求項1又は2に記載のワイヤーハーネス接続構造。
【請求項4】
前記バスバーは、第1端部に設けられ、第1相手方部材に電気的に接続される第1接続部と、前記第1端部とは反対側の端部である第2端部に設けられ、第2相手方部材に電気的に接続される第2接続部とを含み、
前記固定部材は、前記バスバーの前記第1端部と前記第2端部との間に設けられる、請求項1又は2に記載のワイヤーハーネス接続構造。
【請求項5】
前記樹脂体は樹脂発泡体を含む、請求項1又は2に記載のワイヤーハーネス接続構造。
【請求項6】
請求項2に記載のワイヤーハーネス接続構造の製造方法であって、
前記製造方法は、
前記収容部材の前記内部空間にバスバーが挿通された状態で前記バスバーと前記収容部材とを支持部材に取り付ける工程と、
前記バスバーと前記収容部材とを前記支持部材に取り付けた状態で、前記収容部材の前記内部空間内に樹脂を充填して硬化させ、前記樹脂体を形成する工程と、
を含む、ワイヤーハーネス接続構造の製造方法。
発明の詳細な説明
【技術分野】
【0001】
本発明は、ワイヤーハーネス接続構造及びワイヤーハーネス接続構造の製造方法に関する。
続きを表示(約 1,400 文字)
【背景技術】
【0002】
電気自動車及びプラグインハイブリッド自動車などのような電動車両の高性能化に伴い、ワイヤーハーネスに流れる電流量の増加が求められている。ワイヤーハーネスに流れる電流量を増やすためには、ワイヤーハーネスに電流を流した際の発熱や電流の損失を小さくするために電線径を大きくすることが考えられる。しかしながら、電線径を大きくすると、導体の柔軟性が低くなり、車両内の限られたスペースに配索をすることが困難になる。一方、円筒状のソリッドコアを用いて大電流を流すことが可能な一体型バスバーが知られている。
【0003】
特許文献1には、一体型バスバーと、バスバー上で成形コネクタと電気接続するよう構成される第1の接続点と、成形コネクタと反対側にある端部においてバスバーに電気的に結合される第2の接続点とを備える、電気自動車配電システムが開示されている。一体型バスバーは、ソリッドコア導体、絶縁層、シールド層、及び、ソリッドコア導体から形成される少なくとも1つの成形コネクタを備えている。
【先行技術文献】
【特許文献】
【0004】
特開2023-517714号公報
【発明の概要】
【発明が解決しようとする課題】
【0005】
従来技術では、バスバーの両端に第1の接続点と第2の接続点とが設けられているが、バスバーが長い場合には、バスバーの共振による異音、及び共振による接続部への影響が生じるおそれがある。これらを防止するためには、第1の接続点と第2の接続点との中間部分を固定することが好ましい。
【0006】
しかしながら、バスバーは電線よりも硬い導体であり、柔軟性が低い。そのため、バスバーの中間部分をクランプ又はクリップなどで対象物に固定した場合に、バスバーの公差による固定位置の変化を吸収することができず、車両への組付けが困難になったり、組付けができなくなったりするおそれがある。
【0007】
本発明は、このような従来技術が有する課題に鑑みてなされたものである。そして本発明の目的は、バスバーの曲げや切断などによる寸法の公差を吸収し、対象物への固定を容易にすることが可能なワイヤーハーネス接続構造及びワイヤーハーネス接続構造の製造方法を提供することにある。
【課題を解決するための手段】
【0008】
本発明の態様に係るワイヤーハーネス接続構造は、バスバーと、バスバーが貫通した樹脂体を含み、対象物に固定するための固定部材とを備えている。樹脂体からバスバーが突き出した部分の樹脂体は露出している。
【0009】
本発明の他の態様に係るワイヤーハーネス接続構造の製造方法は、収容部材の内部空間にバスバーが挿通された状態でバスバーと収容部材とを支持部材に取り付ける工程を含む。ワイヤーハーネス接続構造の製造方法は、バスバーと収容部材とを支持部材に取り付けた状態で、収容部材の内部空間内に樹脂を充填して硬化させ、樹脂体を形成する工程とを含む。
【発明の効果】
【0010】
本発明によれば、バスバーの曲げや切断などによる寸法の公差を吸収し、対象物への固定を容易にすることが可能なワイヤーハーネス接続構造及びワイヤーハーネス接続構造の製造方法を提供することができる。
【図面の簡単な説明】
(【0011】以降は省略されています)
この特許をJ-PlatPat(特許庁公式サイト)で参照する
関連特許
矢崎総業株式会社
端子
24日前
矢崎総業株式会社
箱状体
17日前
矢崎総業株式会社
箱状体
17日前
矢崎総業株式会社
箱状体
17日前
矢崎総業株式会社
コネクタ
16日前
矢崎総業株式会社
コネクタ
16日前
矢崎総業株式会社
接続構造
17日前
矢崎総業株式会社
照明装置
24日前
矢崎総業株式会社
コネクタ
1日前
矢崎総業株式会社
照明装置
25日前
矢崎総業株式会社
照明装置
25日前
矢崎総業株式会社
電源回路
1日前
矢崎総業株式会社
コネクタ
2日前
矢崎総業株式会社
報知装置
1か月前
矢崎総業株式会社
バスバー
1か月前
矢崎総業株式会社
コネクタ
1か月前
矢崎総業株式会社
コネクタ
1日前
矢崎総業株式会社
コネクタ
1か月前
矢崎総業株式会社
コネクタ
1か月前
矢崎総業株式会社
照明装置
1か月前
矢崎総業株式会社
カバー構造
22日前
矢崎総業株式会社
コネクタ構造
1か月前
矢崎総業株式会社
画像表示装置
25日前
矢崎総業株式会社
画像表示装置
25日前
矢崎総業株式会社
コネクタ構造
1か月前
矢崎総業株式会社
コネクタ構造
1か月前
矢崎総業株式会社
端子付き電線
1か月前
矢崎総業株式会社
フラット導体
1か月前
矢崎総業株式会社
通信ケーブル
14日前
矢崎総業株式会社
車両用室内灯
14日前
矢崎総業株式会社
連結コネクタ
1日前
矢崎総業株式会社
車両用室内灯
14日前
矢崎総業株式会社
スイッチ装置
14日前
矢崎総業株式会社
スイッチ装置
14日前
矢崎総業株式会社
スイッチ装置
14日前
矢崎総業株式会社
車両用表示装置
25日前
続きを見る
他の特許を見る