TOP
|
特許
|
意匠
|
商標
特許ウォッチ
Twitter
他の特許を見る
10個以上の画像は省略されています。
公開番号
2025173076
公報種別
公開特許公報(A)
公開日
2025-11-27
出願番号
2024078431
出願日
2024-05-14
発明の名称
コネクタの製造方法
出願人
矢崎総業株式会社
代理人
弁理士法人虎ノ門知的財産事務所
主分類
H01R
43/00 20060101AFI20251119BHJP(基本的電気素子)
要約
【課題】製造時の作業性を向上させることができるコネクタの製造方法を提供する。
【解決手段】コネクタ100の製造方法は、筒状部11と筒状部の一端11bbから径方向の外側に向けて突出した係止片12とを有するアウタ端子10を係止片側からアウタハウジング20の第1貫通孔21に挿入した後、アウタ端子10をシールドシェル30の外側からシールドシェルの第2貫通孔31に挿入するアウタ端子挿入工程S1と、垂下部41と垂下部から突出した筒状の本体部42とを有し本体部の先端からインナ端子50の一部を突出させた状態でインナ端子を保持するインナハウジング40をシールドシェルの内側に収容するインナハウジング収容工程S3と、を含み、インナハウジング収容工程において、インナハウジングは、本体部をアウタ端子の係止片側から筒状部に挿入され、垂下部と第2貫通孔の縁部との間に係止片を挟み込む。
【選択図】図8
特許請求の範囲
【請求項1】
筒状部と前記筒状部の一端から径方向の外側に向けて突出した係止片とを有するアウタ端子を前記係止片側からアウタハウジングの第1貫通孔に挿入した後、前記アウタ端子をシールドシェルの外側から前記シールドシェルの第2貫通孔に挿入するアウタ端子挿入工程と、
垂下部と前記垂下部から突出した筒状の本体部とを有し前記本体部の先端からインナ端子の一部を突出させた状態で前記インナ端子を保持するインナハウジングを前記シールドシェルの内側に収容するインナハウジング収容工程と、
を含み、
前記インナハウジング収容工程において、前記インナハウジングは、前記本体部を前記アウタ端子の係止片側から前記筒状部に挿入され、前記垂下部と前記第2貫通孔の縁部との間に前記係止片を挟み込むことを特徴とする、
コネクタの製造方法。
続きを表示(約 230 文字)
【請求項2】
前記筒状部には、前記筒状部の周方向において前記係止片の基端を挟む位置に、前記筒状部の前記一端から他端側に向けて延在する一対のスリットが形成されている、
ことを特徴とする請求項1に記載のコネクタの製造方法。
【請求項3】
前記アウタ端子挿入工程において、前記一対のスリットにおける前記他端側の端部は、前記第2貫通孔の内周面と対向する位置に配置される、
ことを特徴とする請求項2に記載のコネクタの製造方法。
発明の詳細な説明
【技術分野】
【0001】
本発明は、コネクタの製造方法に関する。
続きを表示(約 2,100 文字)
【背景技術】
【0002】
特許文献1には、筒状の相手側端子と電気的に接続される筒状端子と、筒状端子を保持するハウジングとを備えたコネクタに関する技術が開示されている。特許文献1のコネクタにおいて、筒状端子は、板状の導体が筒状に湾曲されて一の縁部と他の縁部とが係合されることによって構成される係合部を有している。一の縁部は、周方向の末端が径方向外向きに窪むように減厚された形状を有し、一の縁部の減厚箇所は、径方向内向きに突出し且つ軸方向に延びる突条を有する。係合部は、減厚箇所が径方向に重なり合うとともに突条が周方向に係合するように互いにオフセットした位置に配置されている。特許文献1においては、上記の構成により、製造を簡素化できるとされている。
【先行技術文献】
【特許文献】
【0003】
特開2021-190229号公報
【発明の概要】
【発明が解決しようとする課題】
【0004】
ところで、コネクタの製造方法において、製造時の作業性を向上させることが望まれている。
【0005】
本発明の目的は、製造時の作業性を向上させることができるコネクタの製造方法を提供することである。
【課題を解決するための手段】
【0006】
本発明のコネクタの製造方法は、筒状部と前記筒状部の一端から径方向の外側に向けて突出した係止片とを有するアウタ端子を前記係止片側からアウタハウジングの第1貫通孔に挿入した後、前記アウタ端子をシールドシェルの外側から前記シールドシェルの第2貫通孔に挿入するアウタ端子挿入工程と、垂下部と前記垂下部から突出した筒状の本体部とを有し前記本体部の先端からインナ端子の一部を突出させた状態で前記インナ端子を保持するインナハウジングを前記シールドシェルの内側に収容するインナハウジング収容工程と、を含み、前記インナハウジング収容工程において、前記インナハウジングは、前記本体部を前記アウタ端子の係止片側から前記筒状部に挿入され、前記垂下部と前記第2貫通孔の縁部との間に前記係止片を挟み込む。
【発明の効果】
【0007】
本発明に係るコネクタの製造方法は、製造時の作業性を向上させることができるという効果を奏する。
【図面の簡単な説明】
【0008】
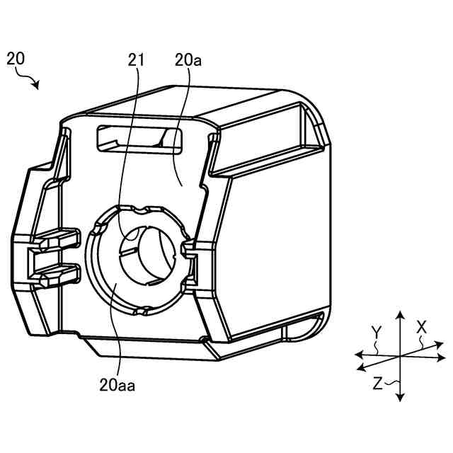
図1は、実施形態に係るコネクタを示す斜視図である。
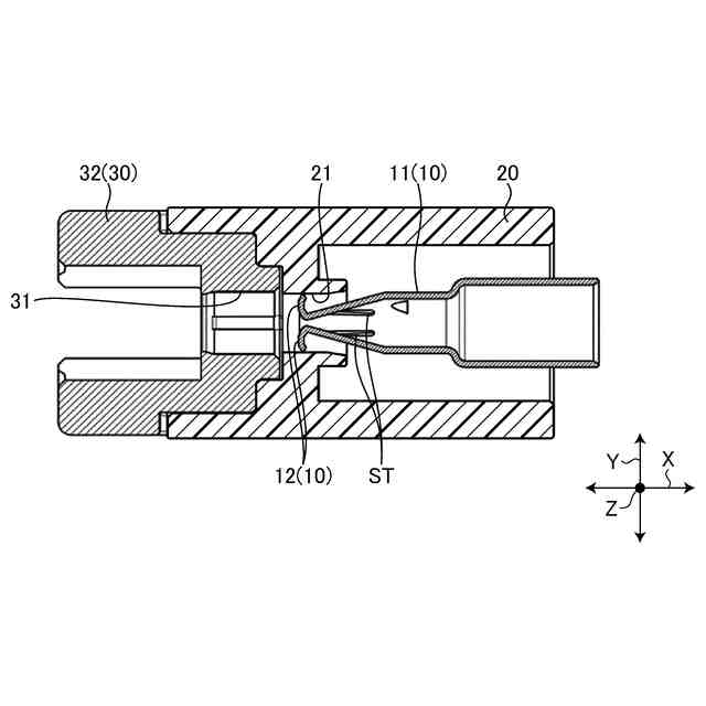
図2は、実施形態に係るコネクタを示す断面図である。
図3は、実施形態に係るコネクタを示す分解斜視図である。
図4は、実施形態のアウタ端子を示す斜視図である。
図5は、実施形態のアウタハウジングを示す斜視図である。
図6は、実施形態のシールドシェルを示す斜視図である。
図7は、実施形態に係るコネクタの製造方法を示すフローチャート図である。
図8は、実施形態のアウタ端子挿入工程を示す斜視図である。
図9は、実施形態のアウタ端子挿入工程を示す断面図である。
図10は、実施形態のアウタ端子挿入工程を示す平面図である。
図11は、実施形態のインナ端子挿入工程を示す斜視図である。
図12は、実施形態のインナハウジング収容工程を示す斜視図である。
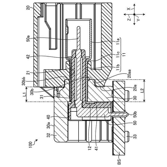
図13は、実施形態のインナハウジング収容工程を示す断面図である。
図14は、実施形態に係るコネクタを基板に取り付ける態様を示す斜視図である。
図15は、実施形態の変形例におけるアウタ端子を示す斜視図である。
【発明を実施するための形態】
【0009】
以下に、本発明の実施形態に係るコネクタの製造方法につき図面を参照しつつ詳細に説明する。なお、この実施形態によりこの発明が限定されるものではない。また、下記の実施形態における構成要素には、当業者が容易に想定できるものあるいは実質的に同一のものが含まれる。
【0010】
[実施形態]
図1から図14を参照して、実施形態について説明する。図1は、実施形態に係るコネクタを示す斜視図、図2は、実施形態に係るコネクタを示す断面図、図3は、実施形態に係るコネクタを示す分解斜視図、図4は、実施形態のアウタ端子を示す斜視図、図5は、実施形態のアウタハウジングを示す斜視図、図6は、実施形態のシールドシェルを示す斜視図、図7は、実施形態に係るコネクタの製造方法を示すフローチャート図、図8は、実施形態のアウタ端子挿入工程を示す斜視図、図9は、実施形態のアウタ端子挿入工程を示す断面図、図10は、実施形態のアウタ端子挿入工程を示す平面図、図11は、実施形態のインナ端子挿入工程を示す斜視図、図12は、実施形態のインナハウジング収容工程を示す斜視図、図13は、実施形態のインナハウジング収容工程を示す断面図、図14は、実施形態に係るコネクタを基板に取り付ける態様を示す斜視図である。なお、図2は、図1に示すA-A線における断面図であり、図9及び図13は、図10に示すB-B線における断面に対応する断面図である。
(【0011】以降は省略されています)
この特許をJ-PlatPat(特許庁公式サイト)で参照する
関連特許
矢崎総業株式会社
端子
1か月前
矢崎総業株式会社
箱状体
23日前
矢崎総業株式会社
箱状体
23日前
矢崎総業株式会社
箱状体
23日前
矢崎総業株式会社
箱状体
1か月前
矢崎総業株式会社
箱状体
1か月前
矢崎総業株式会社
給電装置
今日
矢崎総業株式会社
コネクタ
1か月前
矢崎総業株式会社
接続構造
23日前
矢崎総業株式会社
コネクタ
1か月前
矢崎総業株式会社
照明装置
1か月前
矢崎総業株式会社
照明装置
1か月前
矢崎総業株式会社
照明装置
1か月前
矢崎総業株式会社
照明装置
1か月前
矢崎総業株式会社
報知装置
1か月前
矢崎総業株式会社
バスバー
1か月前
矢崎総業株式会社
コネクタ
1か月前
矢崎総業株式会社
コネクタ
22日前
矢崎総業株式会社
止水部材
1か月前
矢崎総業株式会社
照明構造
1か月前
矢崎総業株式会社
コネクタ
1か月前
矢崎総業株式会社
コネクタ
1か月前
矢崎総業株式会社
コネクタ
1か月前
矢崎総業株式会社
コネクタ
1か月前
矢崎総業株式会社
コネクタ
1か月前
矢崎総業株式会社
コネクタ
1か月前
矢崎総業株式会社
コネクタ
1か月前
矢崎総業株式会社
コネクタ
1か月前
矢崎総業株式会社
コネクタ
1か月前
矢崎総業株式会社
コネクタ
22日前
矢崎総業株式会社
コネクタ
1か月前
矢崎総業株式会社
コネクタ
2か月前
矢崎総業株式会社
コネクタ
2か月前
矢崎総業株式会社
コネクタ
7日前
矢崎総業株式会社
コネクタ
今日
矢崎総業株式会社
電源回路
7日前
続きを見る
他の特許を見る