TOP
|
特許
|
意匠
|
商標
特許ウォッチ
Twitter
他の特許を見る
10個以上の画像は省略されています。
公開番号
2025167588
公報種別
公開特許公報(A)
公開日
2025-11-07
出願番号
2024072369
出願日
2024-04-26
発明の名称
導電性部材のボルト締結構造
出願人
矢崎総業株式会社
代理人
個人
,
個人
,
個人
主分類
H01R
4/34 20060101AFI20251030BHJP(基本的電気素子)
要約
【課題】導電性部材に対する締結力を低減して容易に酸化被膜を破壊することができる導電性部材のボルト締結構造を提供する。
【解決手段】本発明に係る導電性部材のボルト締結構造では、第1導電性部材1の第2導電性部材2との接続面に相当する内側面11に凸部13が設けられ、第2導電性部材2の第1導電性部材1との接続面に相当する内側面21に凹部23が設けられている。これにより、凹部23が設けられた第2導電性部材2の剛性が低下し、比較的小さな締結力でもって、第1導電性部材1の凸部13によって第2導電性部材2の凹部23に形成された酸化被膜を破壊することができる。
【選択図】図3
特許請求の範囲
【請求項1】
それぞれ導電性金属材料により形成された第1導電性部材と第2導電性部材とがボルト及びナットにより締結される導電性部材のボルト締結構造であって、
前記第1導電性部材は、前記第2導電性部材と重なり合う側面に凸部を有し、
前記第2導電性部材は、前記第1導電性部材と重なり合う側面に前記凸部と係合可能な凹部を有する、
ことを特徴とする導電性部材のボルト締結構造。
続きを表示(約 990 文字)
【請求項2】
請求項1に記載の導電性部材のボルト締結構造であって、
前記凸部の最大幅が、前記凹部の開口幅よりも小さく、
前記凸部の高さが、前記凹部の深さよりも大きい、
ことを特徴とする導電性部材のボルト締結構造。
【請求項3】
請求項1に記載の導電性部材のボルト締結構造であって、
前記凸部の最大幅が、前記凹部の開口幅よりも大きく、
前記凸部の高さが、前記凹部の深さよりも小さい、
ことを特徴とする導電性部材のボルト締結構造。
【請求項4】
請求項2又は3に記載の導電性部材のボルト締結構造であって、
前記凸部は、断面が概ね三角形状となる先細り状に形成されている、
ことを特徴とする導電性部材のボルト締結構造。
【請求項5】
請求項2又は3に記載の導電性部材のボルト締結構造であって、
前記凸部は、断面が突出方向に延びる楕円形状に形成されている、
ことを特徴とする導電性部材のボルト締結構造。
【請求項6】
請求項2に記載の導電性部材のボルト締結構造であって、
前記凸部は、断面が概ね四角形状に形成されている、
ことを特徴とする導電性部材のボルト締結構造。
【請求項7】
請求項2又は3に記載の導電性部材のボルト締結構造であって、
前記凸部及び前記凹部は、プレス成型によって形成される、
ことを特徴とする導電性部材のボルト締結構造。
【請求項8】
請求項2又は3に記載の導電性部材のボルト締結構造であって、
前記第1導電性部材及び前記第2導電性部材の一方又は両方に、表面処理が施されている、
ことを特徴とする導電性部材のボルト締結構造。
【請求項9】
請求項8に記載の導電性部材のボルト締結構造であって、
前記表面処理は、Agめっきである、
ことを特徴とする導電性部材のボルト締結構造。
【請求項10】
請求項8に記載の導電性部材のボルト締結構造であって、
前記表面処理は、Snめっきである、
ことを特徴とする導電性部材のボルト締結構造。
(【請求項11】以降は省略されています)
発明の詳細な説明
【技術分野】
【0001】
本発明は、例えばバスバなどの導電性部材のボルト締結構造に関する。
続きを表示(約 2,000 文字)
【背景技術】
【0002】
従来の導電性部材のボルト締結構造としては、例えば以下の特許文献に記載されたものが知られている。
【0003】
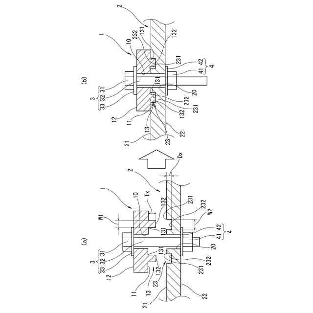
概略を説明すれば、例えば図12に示すように、従来の導電性部材のボルト締結構造は、導電性金属材料であるアルミニウム材料からなる第1導電性部材1と第2導電性部材2とをボルト3及びナット4により締結するにあたって、第1導電性部材1の第2導電性部材2と対向する内側面11に、凹凸が設けられている。すなわち、第1導電性部材1の内側面11に、当該内側面11側へ向かって突出する複数の凸部13が設けられている。これにより、ボルト3及びナット4の締結力に基づき凸部13が塑性変形し、第1導電性部材1を構成するアルミニウムの表面に形成される酸化被膜を破壊することで、第1導電性部材1と第2導電性部材2との接触抵抗が低減されている。
【先行技術文献】
【特許文献】
【0004】
特許第7402422号公報
【発明の概要】
【発明が解決しようとする課題】
【0005】
しかしながら、前記従来の導電性部材のボルト締結構造は、一方の第1導電性部材1のみに凸部13を設ける構成となっている。このため、前記酸化被膜の破壊に際し、第1導電性部材1及び第2導電性部材2に対して比較的大きな締結力を加える必要がある点で、なおも改善の余地が残されていた。
【0006】
本発明は、かかる技術的課題に着目して案出されたものであり、導電性部材に対する締結力を低減して容易に酸化被膜を破壊することができる導電性部材のボルト締結構造を提供することを目的としている。
【課題を解決するための手段】
【0007】
本発明は、その一態様として、それぞれ導電性金属材料により形成された第1導電性部材と第2導電性部材とがボルト及びナットにより締結される導電性部材のボルト締結構造であって、前記第1導電性部材は、前記第2導電性部材と重なり合う側面に凸部を有し、前記第2導電性部材は、前記第1導電性部材と重なり合う側面に前記凸部と係合可能な凹部を有している。
【発明の効果】
【0008】
本発明によれば、第1導電性部材の第2導電性部材との接続面に凸部が設けられると共に、第2導電性部材の第1導電性部材との接続面に凹部が設けられている。このため、凹部が設けられた第2導電性部材の剛性が低下し、比較的小さな締結力でもって、第1導電性部材の凸部により第2導電性部材の凹部に形成された酸化被膜を破壊することができる。
【図面の簡単な説明】
【0009】
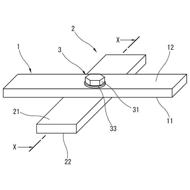
本発明に係る導電性部材のボルト締結構造を表した斜視図である。
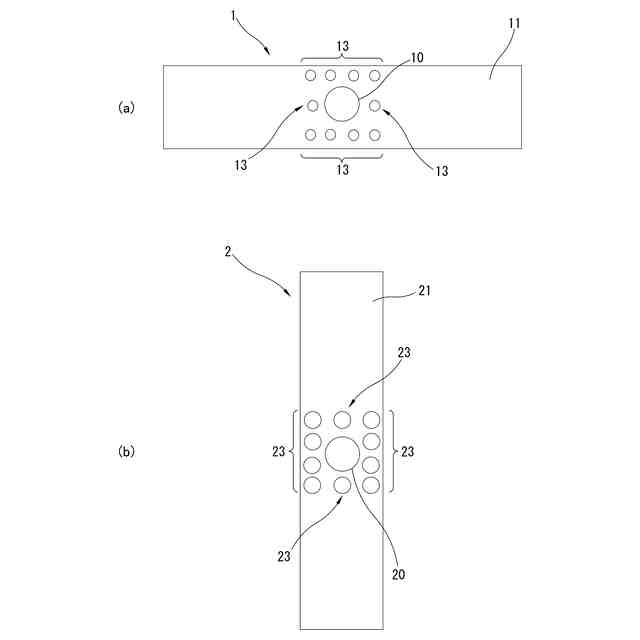
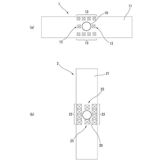
本発明の第1実施形態を示し、(a)は第1導電性部材の内側面の平面図、(b)は第2導電性部材の内側面の平面図である。
本発明の第1実施形態を表した図1のX-X線断面に相当する図であって、(a)はボルト締結前、(b)はボルト締結後の状態を示している。
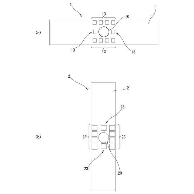
本発明の第1実施形態の第1変形例を示し、(a)は第1導電性部材の内側面の平面図、(b)は第2導電性部材の内側面の平面図である。
本発明の第1実施形態の第1変形例を表した図1のX-X線断面に相当する図であって、(a)はボルト締結前、(b)はボルト締結後の状態を示している。
本発明の第1実施形態の第2変形例を示し、(a)は第1導電性部材の内側面の平面図、(b)は第2導電性部材の内側面の平面図である。
本発明の第1実施形態の第2変形例を表した図1のX-X線断面に相当する図であって、(a)はボルト締結前、(b)はボルト締結後の状態を示している。
本発明の第2実施形態を示し、(a)は第1導電性部材の内側面の平面図、(b)は第2導電性部材の内側面の平面図である。
本発明の第2実施形態を表した図1のX-X線断面に相当する図であって、(a)はボルト締結前、(b)はボルト締結後の状態を示している。
本発明の第2実施形態の変形例を示し、(a)は第1導電性部材の内側面の平面図、(b)は第2導電性部材の内側面の平面図である。
本発明の第2実施形態の変形例を表した図1のX-X線断面に相当する図であって、(a)はボルト締結前、(b)はボルト締結後の状態を示している。
従来の導電性部材のボルト締結構造を示す断面図である。
【発明を実施するための形態】
【0010】
以下に、本発明に係る導電性部材のボルト締結構造の実施形態を図面に基づいて詳述する。なお、下記の実施形態では、本発明に係る導電性部材のボルト締結構造を、前記従来と同様、バスバのボルト締結構造に適用した一例を示す。
(【0011】以降は省略されています)
この特許をJ-PlatPat(特許庁公式サイト)で参照する
関連特許
矢崎総業株式会社
端子
4日前
矢崎総業株式会社
端子
1か月前
矢崎総業株式会社
箱状体
28日前
矢崎総業株式会社
箱状体
1か月前
矢崎総業株式会社
箱状体
28日前
矢崎総業株式会社
箱状体
28日前
矢崎総業株式会社
箱状体
1か月前
矢崎総業株式会社
バスバー
1か月前
矢崎総業株式会社
コネクタ
12日前
矢崎総業株式会社
電源回路
12日前
矢崎総業株式会社
コネクタ
12日前
矢崎総業株式会社
コネクタ
27日前
矢崎総業株式会社
報知装置
1か月前
矢崎総業株式会社
コネクタ
27日前
矢崎総業株式会社
照明装置
1か月前
矢崎総業株式会社
コネクタ
1か月前
矢崎総業株式会社
コネクタ
1か月前
矢崎総業株式会社
コネクタ
1か月前
矢崎総業株式会社
コネクタ
1か月前
矢崎総業株式会社
コネクタ
5日前
矢崎総業株式会社
コネクタ
1か月前
矢崎総業株式会社
コネクタ
1か月前
矢崎総業株式会社
止水部材
2か月前
矢崎総業株式会社
照明装置
1か月前
矢崎総業株式会社
コネクタ
2か月前
矢崎総業株式会社
コネクタ
2か月前
矢崎総業株式会社
コネクタ
4日前
矢崎総業株式会社
コネクタ
4日前
矢崎総業株式会社
照明装置
1か月前
矢崎総業株式会社
照明構造
2か月前
矢崎総業株式会社
コネクタ
1か月前
矢崎総業株式会社
照明装置
1か月前
矢崎総業株式会社
コネクタ
2か月前
矢崎総業株式会社
コネクタ
2か月前
矢崎総業株式会社
給電装置
5日前
矢崎総業株式会社
接続構造
28日前
続きを見る
他の特許を見る