TOP
|
特許
|
意匠
|
商標
特許ウォッチ
Twitter
他の特許を見る
公開番号
2025170793
公報種別
公開特許公報(A)
公開日
2025-11-20
出願番号
2024075534
出願日
2024-05-08
発明の名称
導電モジュール
出願人
矢崎総業株式会社
代理人
弁理士法人虎ノ門知的財産事務所
主分類
H01M
50/507 20210101AFI20251113BHJP(基本的電気素子)
要約
【課題】歩留まりを良くすること。
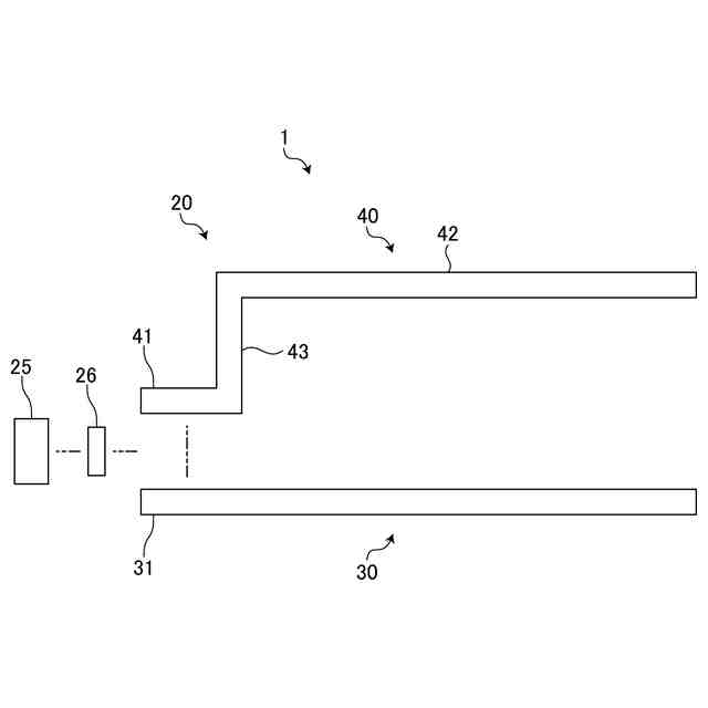
【解決手段】配線部品20は、矩形形状に成形されたフレキシブルプリント基板であり、第1バスバ群10Aの複数のバスバ10毎に設けられた第1配線パターンを有する第1配線部品30と、クランク形状に成形されたフレキシブルプリント基板であり、第2バスバ群10Bの複数のバスバ毎に設けられた第2配線パターンを有する第2配線部品40と、を備え、第1配線部品は、矩形形状を維持したまま長手方向を電池セルBCの配列方向に合わせ且つ第1バスバ群に寄せて配索され、第2配線部品は、第1バスバ群と第2バスバ群の対向配置方向で第1配線部品の一端側の第1コネクタ実装部31に寄せて配置された一端側の第2コネクタ実装部41と、長手方向を配列方向に合わせ且つ第2バスバ群に寄せて配索された他端側の主経路部42と、第2コネクタ実装部と主経路部を繋ぐ中間経路部43と、を有すること。
【選択図】図1
特許請求の範囲
【請求項1】
電池モジュールを構成する電池セルの電極端子に対して物理的且つ電気的に接続させるバスバの集合体であり、前記電池モジュールを構成する複数の前記電池セルの配列方向に並ぶ一方の複数の前記電極端子を接続対象とする第1バスバ群及び前記配列方向に並ぶ他方の複数の前記電極端子を接続対象とする第2バスバ群と、
前記電池セルの電池状態を監視する電池監視ユニットに対して前記バスバを電気的に接続させる配線部品と、
前記配線部品を前記バスバに対して物理的且つ電気的に接続させる前記バスバ毎の電気接続部材と、
を備え、
前記配線部品は、矩形形状に成形されたフレキシブルプリント基板であり、前記第1バスバ群の複数の前記バスバ毎に設けられた第1配線パターンを有する第1配線部品と、クランク形状に成形されたフレキシブルプリント基板であり、前記第2バスバ群の複数の前記バスバ毎に設けられた第2配線パターンを有する第2配線部品と、前記第1配線部品と前記第2配線部品を前記電池監視ユニットにコネクタ接続させるためのコネクタと、を備え、
前記第1配線部品は、前記矩形形状を維持したまま長手方向を前記配列方向に合わせ且つ前記第1バスバ群に寄せて配索され、
前記第2配線部品は、前記第1バスバ群と前記第2バスバ群の対向配置方向で前記第1配線部品の一端側の第1コネクタ実装部に寄せて配置された一端側の第2コネクタ実装部と、長手方向を前記配列方向に合わせ且つ前記第2バスバ群に寄せて配索された他端側の主経路部と、前記第2コネクタ実装部と前記主経路部を繋ぐ中間経路部と、を有することを特徴とした導電モジュール。
続きを表示(約 1,100 文字)
【請求項2】
電池モジュールを構成する電池セルの電極端子に対して物理的且つ電気的に接続させるバスバの集合体であり、前記電池モジュールを構成する複数の前記電池セルの配列方向に並ぶ一方の複数の前記電極端子を接続対象とする第1バスバ群及び前記配列方向に並ぶ他方の複数の前記電極端子を接続対象とする第2バスバ群と、
前記電池セルの電池状態を監視する電池監視ユニットに対して前記バスバを電気的に接続させる配線部品と、
前記配線部品を前記バスバに対して物理的且つ電気的に接続させる前記バスバ毎の電気接続部材と、
を備え、
前記配線部品は、矩形形状に成形されたフレキシブルプリント基板であり、前記第1バスバ群の複数の前記バスバ毎に設けられた第1配線パターンを有する第1配線部品と、矩形形状に成形され、かつ、2つの折曲げ部を有するクランク形状に折り曲げられたフレキシブルプリント基板であり、前記第2バスバ群の複数の前記バスバ毎に設けられた第2配線パターンを有する第2配線部品と、前記第1配線部品と前記第2配線部品を前記電池監視ユニットにコネクタ接続させるためのコネクタと、を備え、
前記第1配線部品は、前記矩形形状を維持したまま長手方向を前記配列方向に合わせ且つ前記第1バスバ群に寄せて配索され、
前記第2配線部品は、前記第1バスバ群と前記第2バスバ群の対向配置方向で前記第1配線部品の一端側の第1コネクタ実装部に寄せて配置された一端側の第2コネクタ実装部と、長手方向を前記配列方向に合わせ且つ前記第2バスバ群に寄せて配索された他端側の主経路部と、2つの前記折曲げ部を介して前記第2コネクタ実装部と前記主経路部を繋ぐ中間経路部と、を有することを特徴とした導電モジュール。
【請求項3】
前記コネクタは、前記第1コネクタ実装部の複数の前記第1配線パターンと前記第2コネクタ実装部の複数の前記第2配線パターンとに対して物理的且つ電気的に接続させることを特徴とした請求項1又は2に記載の導電モジュール。
【請求項4】
前記配線部品は、前記第1コネクタ実装部と前記第2コネクタ実装部に貼り付けて補強する補強板を備えることを特徴とした請求項3に記載の導電モジュール。
【請求項5】
前記電気接続部材は、接続対象となる前記第1バスバ群の前記バスバと前記第1配線パターンに対して物理的且つ電気的に接続させる又は接続対象となる前記第2バスバ群の前記バスバと前記主経路部の前記第2配線パターンに対して物理的且つ電気的に接続させることを特徴とした請求項1又は2に記載の導電モジュール。
発明の詳細な説明
【技術分野】
【0001】
本発明は、導電モジュールに関する。
続きを表示(約 3,200 文字)
【背景技術】
【0002】
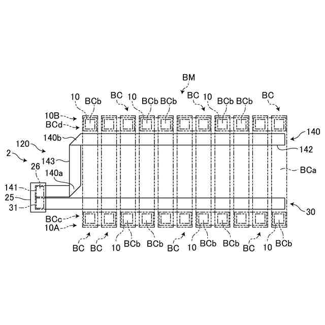
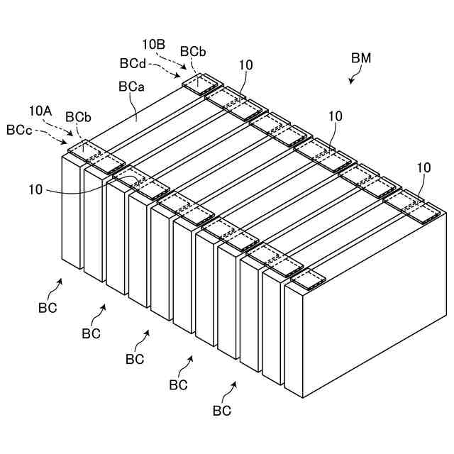
導電モジュールは、複数の電池セルが配列された電池モジュールにおいて、複数のバスバを用いて複数の電池セルを電気的に接続させる。そして、この導電モジュールは、電池セルの電池状態を監視する電池監視ユニットに対してそれぞれのバスバをFPC(フレキシブルプリント基板)等の配線部品を用いて電気的に接続させる。ここで、電池モジュールにおいては、複数の電池セルの配列方向に並ぶ複数の電極端子の集合体(電極端子群)が2列存在しており、それぞれの電極端子群毎に電極端子とバスバが接続される。例えば、配線部品としてのFPCは、それぞれの電極端子群の間に配索される幹線と、この幹線から一方の電極端子群側と他方の電極端子群側とにバスバ毎に分岐させた分岐線と、を備えている。その幹線の一端は、電池監視ユニット側とコネクタ接続するためのコネクタが繋がれるコネクタ実装部になっている。この種の導電モジュールについては、例えば、下記の特許文献1に開示されている。
【先行技術文献】
【特許文献】
【0003】
特開2022-173610号公報
【発明の概要】
【発明が解決しようとする課題】
【0004】
ところで、電池モジュールは、それぞれの電池セルの排気弁に連通させ、その排気弁から排出された電池セルの内部のガスを大気放出させる排気ダクトを備える。例えば、電池モジュールにおいては、その排気ダクトがそれぞれの電極端子群の間に配置されている。この場合、従来の配線部品については、その幹線が排気ダクトを覆ってしまうので、排気ダクトを避けたものへと置き換える必要がある。斯様な対策品としては、例えば、コネクタ実装部から一方の電極端子群側に分岐させた第1主分岐線と、コネクタ実装部から他方の電極端子群側に分岐させた第2主分岐線と、第1主分岐線から一方の電極端子群側のバスバ毎に分岐させた第1副分岐線と、第2主分岐線から他方の電極端子群側のバスバ毎に分岐させた第2副分岐線と、を有し、排気ダクトを避けた経路で第1主分岐線と第2主分岐線を配策させるものが考えられる。ここで、FPCは、母材となる1枚のシートから所定形状のものとして型抜きされる。よって、対策品としてのFPCについては、歩留まりが悪く、原価の観点で好ましいとは云えない。
【0005】
そこで、本発明は、歩留まりの良い導電モジュールを提供することを、その目的とする。
【課題を解決するための手段】
【0006】
本発明は、電池モジュールを構成する電池セルの電極端子に対して物理的且つ電気的に接続させるバスバの集合体であり、前記電池モジュールを構成する複数の前記電池セルの配列方向に並ぶ一方の複数の前記電極端子を接続対象とする第1バスバ群及び前記配列方向に並ぶ他方の複数の前記電極端子を接続対象とする第2バスバ群と、前記電池セルの電池状態を監視する電池監視ユニットに対して前記バスバを電気的に接続させる配線部品と、前記配線部品を前記バスバに対して物理的且つ電気的に接続させる前記バスバ毎の電気接続部材と、を備え、前記配線部品は、矩形形状に成形されたフレキシブルプリント基板であり、前記第1バスバ群の複数の前記バスバ毎に設けられた第1配線パターンを有する第1配線部品と、クランク形状に成形されたフレキシブルプリント基板であり、前記第2バスバ群の複数の前記バスバ毎に設けられた第2配線パターンを有する第2配線部品と、前記第1配線部品と前記第2配線部品を前記電池監視ユニットにコネクタ接続させるためのコネクタと、を備え、前記第1配線部品は、前記矩形形状を維持したまま長手方向を前記配列方向に合わせ且つ前記第1バスバ群に寄せて配索され、前記第2配線部品は、前記第1バスバ群と前記第2バスバ群の対向配置方向で前記第1配線部品の一端側の第1コネクタ実装部に寄せて配置された一端側の第2コネクタ実装部と、長手方向を前記配列方向に合わせ且つ前記第2バスバ群に寄せて配索された他端側の主経路部と、前記第2コネクタ実装部と前記主経路部を繋ぐ中間経路部と、を有することを特徴とする。
【0007】
また、本発明は、電池モジュールを構成する電池セルの電極端子に対して物理的且つ電気的に接続させるバスバの集合体であり、前記電池モジュールを構成する複数の前記電池セルの配列方向に並ぶ一方の複数の前記電極端子を接続対象とする第1バスバ群及び前記配列方向に並ぶ他方の複数の前記電極端子を接続対象とする第2バスバ群と、前記電池セルの電池状態を監視する電池監視ユニットに対して前記バスバを電気的に接続させる配線部品と、前記配線部品を前記バスバに対して物理的且つ電気的に接続させる前記バスバ毎の電気接続部材と、を備え、前記配線部品は、矩形形状に成形されたフレキシブルプリント基板であり、前記第1バスバ群の複数の前記バスバ毎に設けられた第1配線パターンを有する第1配線部品と、矩形形状に成形され、かつ、2つの折曲げ部を有するクランク形状に折り曲げられたフレキシブルプリント基板であり、前記第2バスバ群の複数の前記バスバ毎に設けられた第2配線パターンを有する第2配線部品と、前記第1配線部品と前記第2配線部品を前記電池監視ユニットにコネクタ接続させるためのコネクタと、を備え、前記第1配線部品は、前記矩形形状を維持したまま長手方向を前記配列方向に合わせ且つ前記第1バスバ群に寄せて配索され、前記第2配線部品は、前記第1バスバ群と前記第2バスバ群の対向配置方向で前記第1配線部品の一端側の第1コネクタ実装部に寄せて配置された一端側の第2コネクタ実装部と、長手方向を前記配列方向に合わせ且つ前記第2バスバ群に寄せて配索された他端側の主経路部と、2つの前記折曲げ部を介して前記第2コネクタ実装部と前記主経路部を繋ぐ中間経路部と、を有することを特徴とする。
【発明の効果】
【0008】
本発明に係る導電モジュールにおいて、配線部品は、第1バスバ群側の第1配線部品と第2バスバ群側の第2配線部品とがそれぞれ個別に成形される。そして、第1配線部品については、矩形形状であるがため、最良な歩留まりの部品として成形することができる。また、第2配線部品については、クランク形状ではあるが、その中でも最善な歩留まりの部品として成形することができる。従って、本発明に係る導電モジュールは、歩留まりの良いものとなる。
【0009】
また、本発明に係る導電モジュールにおいて、配線部品は、第1バスバ群側の第1配線部品と第2バスバ群側の第2配線部品とがそれぞれ個別に成形される。そして、この配線部品においては、第1配線部品と第2配線部品の双方とも矩形形状であるがため、それぞれを最良な歩留まりの部品として成形することができる。従って、本発明に係る導電モジュールは、歩留まりの点で最良なものとなる。
【図面の簡単な説明】
【0010】
図1は、実施形態の導電モジュールについて説明する平面図である。
図2は、実施形態の導電モジュールについて説明する分解平面図である。
図3は、電池モジュールをバスバと共に示す模式図である。
図4は、実施形態の第1配線部品の歩留まりについて説明する説明図である。
図5は、実施形態の第2配線部品の歩留まりについて説明する説明図である。
図6は、変形例の導電モジュールについて説明する平面図である。
図7は、変形例の導電モジュールについて説明する分解平面図である。
図8は、変形例の第2配線部品の歩留まりについて説明する説明図である。
【発明を実施するための形態】
(【0011】以降は省略されています)
この特許をJ-PlatPat(特許庁公式サイト)で参照する
関連特許
矢崎総業株式会社
端子
25日前
矢崎総業株式会社
箱状体
18日前
矢崎総業株式会社
箱状体
1か月前
矢崎総業株式会社
箱状体
18日前
矢崎総業株式会社
箱状体
18日前
矢崎総業株式会社
箱状体
1か月前
矢崎総業株式会社
コネクタ
1か月前
矢崎総業株式会社
バスバー
1か月前
矢崎総業株式会社
コネクタ
1か月前
矢崎総業株式会社
接続構造
18日前
矢崎総業株式会社
照明装置
25日前
矢崎総業株式会社
コネクタ
1か月前
矢崎総業株式会社
照明装置
26日前
矢崎総業株式会社
照明装置
26日前
矢崎総業株式会社
コネクタ
2日前
矢崎総業株式会社
報知装置
1か月前
矢崎総業株式会社
コネクタ
1か月前
矢崎総業株式会社
コネクタ
1か月前
矢崎総業株式会社
コネクタ
1か月前
矢崎総業株式会社
コネクタ
1か月前
矢崎総業株式会社
止水部材
1か月前
矢崎総業株式会社
照明構造
1か月前
矢崎総業株式会社
コネクタ
1か月前
矢崎総業株式会社
コネクタ
1か月前
矢崎総業株式会社
コネクタ
1か月前
矢崎総業株式会社
コネクタ
1か月前
矢崎総業株式会社
コネクタ
1か月前
矢崎総業株式会社
電源回路
2日前
矢崎総業株式会社
照明装置
1か月前
矢崎総業株式会社
コネクタ
2日前
矢崎総業株式会社
コネクタ
17日前
矢崎総業株式会社
コネクタ
17日前
矢崎総業株式会社
コネクタ
3日前
矢崎総業株式会社
電気接続箱
1か月前
矢崎総業株式会社
ゴムブーツ
1か月前
矢崎総業株式会社
電気接続箱
1か月前
続きを見る
他の特許を見る