TOP
|
特許
|
意匠
|
商標
特許ウォッチ
Twitter
他の特許を見る
10個以上の画像は省略されています。
公開番号
2025173143
公報種別
公開特許公報(A)
公開日
2025-11-27
出願番号
2024078564
出願日
2024-05-14
発明の名称
接続回路及びその製造方法
出願人
矢崎総業株式会社
代理人
個人
,
個人
,
個人
主分類
H05K
1/02 20060101AFI20251119BHJP(他に分類されない電気技術)
要約
【課題】導電性インクを用いて簡便に作製可能であり、回路形成の自由度を高め、かつ、耐ノイズ性を向上させた、接続回路及びその製造方法を提供する。
【解決手段】接続回路40は、基材10と、基材10上に導電性インクで印刷された回路20と、を備え、基材10の一部が折り曲げられ、回路20の少なくとも一部が平面視で上下方向に重なっており、側面視したときに、上下方向において回路20の間には基材10が介在している。
【選択図】図4
特許請求の範囲
【請求項1】
電気絶縁性を有する基材と、
前記基材上に導電性インクで印刷された回路と、
を備え、
前記基材の一部が折り曲げられ、前記回路の少なくとも一部が平面視で上下方向に重なっており、
側面視したときに、上下方向において前記回路の間には前記基材が介在している、接続回路。
続きを表示(約 550 文字)
【請求項2】
前記基材は、繋ぎ部と、前記繋ぎ部を介してつながっている複数の分割基材と、を有し、
前記繋ぎ部は折り曲げられ、前記複数の分割基材上に印刷された回路の少なくとも一部が平面視で上下方向に重なっている、請求項1に記載の接続回路。
【請求項3】
前記回路を構成する導体パターンはジョイント構造を有する、請求項1又は2に記載の接続回路。
【請求項4】
前記回路を構成する導体パターンは波状線を有する、請求項1又は2に記載の接続回路。
【請求項5】
電気絶縁性を有する基材と、
前記基材上に導電性インクで印刷された回路と、
を備えた接続回路の製造方法であって、
前記基材上に前記導電性インクで回路を印刷する工程と、
前記基材の一部を打ち抜き、前記基材が繋ぎ部と、前記繋ぎ部を介してつながっている複数の分割基材と、を有するように加工する工程と、
前記繋ぎ部を折り曲げ、前記複数の分割基材上に印刷された回路の少なくとも一部が平面視で上下方向に重なるように配置し、
側面視したときに、上下方向において前記回路の間には前記基材が介在しているように配置する工程と、
を有する、接続回路の製造方法。
発明の詳細な説明
【技術分野】
【0001】
本発明は、接続回路及びその製造方法に関する。
続きを表示(約 1,800 文字)
【背景技術】
【0002】
近年、自動車の配索スペースの減少により、ワイヤーハーネス及びその周辺部品の小型化、薄型化及び立体化等を達成することが可能なフレキシブルプリント配線板(FPC)が求められている。特に、自動車の電動化に伴って搭載されるバッテリーを制御するため、各セルの電流を検知可能なFPCを備えるセンサーモジュールの薄型化が求められている。
【0003】
小型化、薄型化及び立体化等の要求に対応するため、FPCよりも回路形成の自由度が高く、安価に製造できる印刷回路体が求められている。この印刷回路体は、電気絶縁性を持った薄く柔らかい樹脂フィルムからなる可撓性を有する基材上に、銀又は銅などの導電性インク又は導電性ペーストからなる導電性材料をスクリーン印刷などの印刷工法によって印刷して導電層を形成したものである。例えば、特許文献1には、フィルム又はシートからなる絶縁性の基材の上に、金属粒子を分散させた導電性インクを印刷することによって、プリント配線板用基板を作製することが記載されている。
【先行技術文献】
【特許文献】
【0004】
特開2010-272837号公報
【発明の概要】
【発明が解決しようとする課題】
【0005】
しかしながら、特許文献1に記載のプリント配線板用基板では、同一層に回路を形成するため、回路形成の自由度が低く、撚り合わせ構造のような複雑な回路形成が困難であるという課題があった。また、多層構造として層を重ねた場合は、設計及び製造工程が煩雑であり、かつ、並行する回路の間でノイズが発生するという課題があった。
【0006】
本発明は、このような従来技術が有する課題に鑑みてなされたものである。そして本発明の目的は、導電性インクを用いて簡便に作製可能であり、回路形成の自由度を高め、かつ、耐ノイズ性を向上させた、接続回路及びその製造方法を提供することにある。
【課題を解決するための手段】
【0007】
本発明の態様に係る接続回路は、電気絶縁性を有する基材と、基材上に導電性インクで印刷された回路と、を備え、基材の一部が折り曲げられ、回路の少なくとも一部が平面視で上下方向に重なっており、側面視したときに、上下方向において回路の間には基材が介在している。
【0008】
本発明の他の態様に係る接続回路の製造方法は、電気絶縁性を有する基材と、基材上に導電性インクで印刷された回路と、を備えた接続回路の製造方法であって、基材上に導電性インクで回路を印刷する工程と、基材の一部を打ち抜き、基材が繋ぎ部と、繋ぎ部を介してつながっている複数の分割基材と、を有するように加工する工程と、繋ぎ部を折り曲げ、複数の分割基材上に印刷された回路の少なくとも一部が平面視で上下方向に重なるように配置し、側面視したときに、上下方向において回路の間には基材が介在しているように配置する工程と、を有する。
【発明の効果】
【0009】
本発明によれば、導電性インクを用いて簡便に作製可能であり、回路形成の自由度を高め、かつ、耐ノイズ性を向上させた、接続回路及びその製造方法を提供することができる。
【図面の簡単な説明】
【0010】
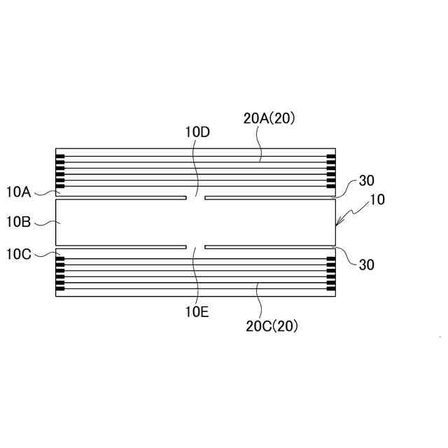
基材上に印刷された回路の一例を示す模式図である。
図1Aに示す基材を打ち抜いて分割された後の状態を示す模式図である。
図1Bに示す基材を折り曲げた後の接続回路を示す上面図である。
基材上に印刷された回路の一例を示す模式図である。
図2Aに示す基材を打ち抜いて分割された後の状態を示す模式図である。
図2Bに示す基材を折り曲げた後の接続回路を示す上面図である。
図1B又は図2Bに示す基材を折り曲げた後の状態を示す側面図である。
図3に示す基材を上下方向に押し潰した後の接続回路を示す側面図である。
基材上に印刷された回路の一例を示す模式図である。
図5Aに示す基材を打ち抜いて分割された後の状態を示す模式図である。
図5Bに示す基材を折り曲げた後の接続回路を示す上面図である。
【発明を実施するための形態】
(【0011】以降は省略されています)
この特許をJ-PlatPat(特許庁公式サイト)で参照する
関連特許
矢崎総業株式会社
端子
今日
矢崎総業株式会社
端子
1か月前
矢崎総業株式会社
箱状体
24日前
矢崎総業株式会社
箱状体
1か月前
矢崎総業株式会社
箱状体
24日前
矢崎総業株式会社
箱状体
24日前
矢崎総業株式会社
箱状体
1か月前
矢崎総業株式会社
バスバー
1か月前
矢崎総業株式会社
コネクタ
8日前
矢崎総業株式会社
電源回路
8日前
矢崎総業株式会社
コネクタ
8日前
矢崎総業株式会社
コネクタ
23日前
矢崎総業株式会社
報知装置
1か月前
矢崎総業株式会社
コネクタ
23日前
矢崎総業株式会社
照明装置
1か月前
矢崎総業株式会社
コネクタ
1か月前
矢崎総業株式会社
コネクタ
1か月前
矢崎総業株式会社
コネクタ
1か月前
矢崎総業株式会社
コネクタ
1か月前
矢崎総業株式会社
コネクタ
1日前
矢崎総業株式会社
コネクタ
1か月前
矢崎総業株式会社
コネクタ
1か月前
矢崎総業株式会社
止水部材
1か月前
矢崎総業株式会社
照明装置
1か月前
矢崎総業株式会社
コネクタ
1か月前
矢崎総業株式会社
コネクタ
1か月前
矢崎総業株式会社
コネクタ
今日
矢崎総業株式会社
コネクタ
今日
矢崎総業株式会社
照明装置
1か月前
矢崎総業株式会社
照明構造
1か月前
矢崎総業株式会社
コネクタ
1か月前
矢崎総業株式会社
照明装置
1か月前
矢崎総業株式会社
コネクタ
1か月前
矢崎総業株式会社
コネクタ
1か月前
矢崎総業株式会社
給電装置
1日前
矢崎総業株式会社
接続構造
24日前
続きを見る
他の特許を見る