TOP
|
特許
|
意匠
|
商標
特許ウォッチ
Twitter
他の特許を見る
公開番号
2025172550
公報種別
公開特許公報(A)
公開日
2025-11-26
出願番号
2024078119
出願日
2024-05-13
発明の名称
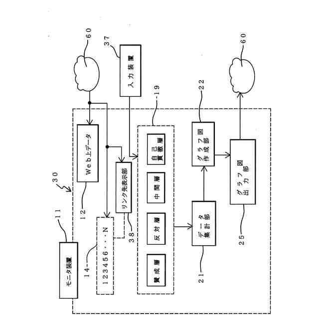
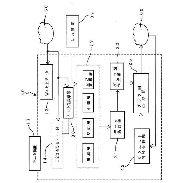
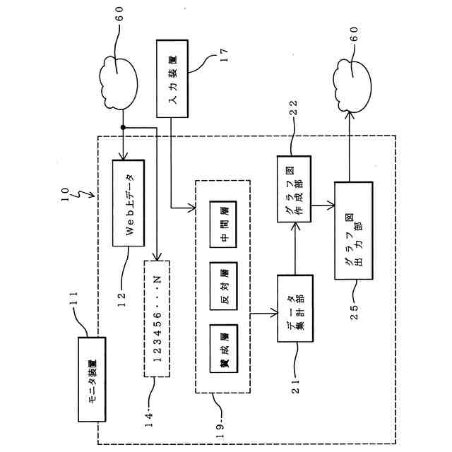
Web上データの信憑性評価装置
出願人
マンカイサクラ株式会社
代理人
個人
主分類
G06Q
50/10 20120101AFI20251118BHJP(計算;計数)
要約
【課題】 端末装置の閲覧者に対し、Web上データの信憑性に関する情報提供を行うこと。
【解決手段】 Web上データに書き込まれたコメント欄14に基づき、当該コメントを、賛成層、反対層、中間層に区別した区別データを受け付ける入力装置17と、入力装置を介して集めた区別データに基づき、の賛成層、反対層、中間層のパーセンテージを集計するデータ集計部21と、データ集計部21の出力に基づき、賛成層、反対層、中間層のパーセンテージをグラフ化するグラフ図作成部22と、グラフ図作成部で作成した画像をインターネット60を介して表示するグラフ図出力部25とを備える(請求項1)。かかる構成によれば、Web上データに書き込まれたコメントに基づいて、Web上データの内容に賛成する者、反対する者、賛成/反対の中間の意見をもつ者(中間層)を区別してグラフ化し、当該グラフ図をインターネット60を介して表示することが出来る。
【選択図】 図1
特許請求の範囲
【請求項1】
Web上データの信憑性を評価する装置であって、
Web上データに関して書き込まれたコメントに基づき、
当該コメントを、賛成層、反対層、中間層に区別した入力データを受け付ける入力装置と、
当該入力装置を介して集めた前記入力データに基づき、
前記の賛成層、反対層、中間層のパーセンテージを集計するデータ集計部と、
当該データ集計部の出力に基づき、前記賛成層、反対層、中間層のパーセンテージをグラフ化するグラフ図作成部と、
当該グラフ図作成部で作成した画像をインターネットを介して表示するグラフ図出力部とを備えることを特徴とするWeb上データの信憑性評価装置。
続きを表示(約 370 文字)
【請求項2】
Web上データの信憑性を評価する装置であって、
Web上データに関して書き込まれたコメントと、
当該Web上データにリンクを貼っているコメント投稿者のコメントとに基づき、
当該コメントの投稿者を、賛成層、反対層、中間層、自己貫徹層に区別した区別データを受け付ける入力装置と、
当該入力装置を介して集めた前記区別データに基づき、
前記の賛成層、反対層、中間層、自己貫徹層のパーセンテージを集計するデータ集計部と、
当該データ集計部の出力に基づき、前記賛成層、反対層、中間層、自己貫徹層のパーセンテージをグラフ化するグラフ図作成部と、
当該グラフ図作成部で作成した画像をインターネットを介して表示するグラフ図出力部とを備えることを特徴とするWeb上データの信憑性評価装置。
発明の詳細な説明
【技術分野】
【0001】
本発明は、Web上データの信憑性を評価する装置に係り、とくにテキスト構成のサイトに書き込まれたコメントや、動画サイトに投稿されたコメントに基づいて、当該サイトの信憑性を判断して提示する装置に関する。
続きを表示(約 780 文字)
【背景技術】
【0002】
Webには、Webサイト(所謂ホームページ)や、検索エンジン、動画配信サービス、各種のSNSが含まれる。
【0003】
ところで、このようなWeb上データは、正確な情報もあれば、所謂フェイクニュースのような虚偽情報もあり、真偽の判断が難しい場合がある。
【0004】
従来、Web上データの真偽評価については、端末閲覧者の判断に委ねられていた。
【0005】
下記特許文献1は、Web上の音声データについて、発話音声の特徴を取得して評価判断し、発話者の発話スタイルを改善する技術が開示されている。
【先行技術文献】
【特許文献】
【0006】
特開2024-55546
【発明の開示】
【発明が解決しようとする課題】
【0007】
Web上データには、正確な情報であることが比較的容易に判断できる場合がある。例えば、複数のWebサイトが同様のニュース配信をしている場合等である。
【0008】
しかしながら、真偽の判別が難しい場合や、虚偽情報と思われるが最終的な真偽判断が出来ない場合があるため、正確な情報ではないのに所謂デマとして拡散されるケースがある。
【0009】
このような場合は、プライバシーの侵害、人格や能力等の否定、国際感情の歪みなどを惹起するおそれがある。このため、Web上データの信憑性は可能な限り正しく見極めてゆくことが大切になる。
【0010】
そこで、本発明の目的は、各種の端末装置の閲覧者に対し、Web上データの信憑性に関する情報提供を可能とする点にある。
【課題を解決するための手段】
(【0011】以降は省略されています)
この特許をJ-PlatPat(特許庁公式サイト)で参照する
関連特許
個人
詐欺保険
1か月前
個人
縁伊達ポイン
1か月前
個人
RFタグシート
1か月前
個人
5掛けポイント
20日前
個人
職業自動販売機
13日前
個人
ペルソナ認証方式
28日前
個人
QRコードの彩色
1か月前
個人
地球保全システム
1か月前
個人
自動調理装置
1か月前
個人
情報処理装置
23日前
個人
農作物用途分配システム
1か月前
個人
残土処理システム
1か月前
個人
知的財産出願支援システム
1か月前
個人
インターネットの利用構造
27日前
個人
タッチパネル操作指代替具
1か月前
個人
サービス情報提供システム
15日前
個人
スケジュール調整プログラム
1か月前
個人
携帯端末障害問合せシステム
1か月前
個人
海外支援型農作物活用システム
2か月前
株式会社キーエンス
受発注システム
1か月前
株式会社キーエンス
受発注システム
1か月前
株式会社キーエンス
受発注システム
1か月前
個人
エリアガイドナビAIシステム
28日前
個人
食品レシピ生成システム
1か月前
株式会社ケアコム
項目選択装置
23日前
キヤノン株式会社
情報処理装置
7日前
個人
未来型家系図構築システム
2か月前
キヤノン株式会社
印刷システム
1か月前
キヤノン株式会社
情報処理装置
21日前
キヤノン株式会社
表示システム
1か月前
トヨタ自動車株式会社
通知装置
1か月前
株式会社ケアコム
項目選択装置
23日前
キヤノン株式会社
情報処理装置
7日前
株式会社ワコム
電子ペン
22日前
キヤノン株式会社
画像認識装置
7日前
株式会社ワコム
電子ペン
22日前
続きを見る
他の特許を見る