TOP
|
特許
|
意匠
|
商標
特許ウォッチ
Twitter
他の特許を見る
公開番号
2025115381
公報種別
公開特許公報(A)
公開日
2025-08-06
出願番号
2025007486
出願日
2025-01-20
発明の名称
半導体装置
出願人
株式会社半導体エネルギー研究所
代理人
主分類
G09G
3/3233 20160101AFI20250730BHJP(教育;暗号方法;表示;広告;シール)
要約
【課題】新規な半導体装置を提供する。
【解決手段】ゲート及びバックゲートを有する第1トランジスタと、発光素子と、を有し、第1トランジスタのバックゲートに第1電位を供給する第1の機能と、第1トランジスタのゲート電位及びソース電位を固定し、第1トランジスタのドレインとバックゲートとを導通状態にして、バックゲートの電位を第1トランジスタのソースとゲートの電位差に相当する第2電位とする第2の機能と、第1トランジスタのゲートに映像信号を供給する第3の機能と、映像信号に応じた電流を発光素子に供給する第4の機能と、を有し、第2の機能を行う頻度は第3の機能を行う頻度より低く、第2の機能を行う頻度は第4の機能を行う頻度より低い、半導体装置である。
【選択図】図1
特許請求の範囲
【請求項1】
ゲート及びバックゲートを有する第1トランジスタと、発光素子と、を有し、
前記第1トランジスタのバックゲートに第1電位を供給する第1の機能と、
前記第1トランジスタのゲート電位及びソース電位を固定し、前記第1トランジスタのドレインとバックゲートとを導通状態にして、バックゲートの電位を第2電位とする第2の機能と、
前記第1トランジスタのゲートに映像信号を供給する第3の機能と、
前記映像信号に応じた電流を前記発光素子に供給する第4の機能と、を有し、
前記第2電位は、前記第1トランジスタのソースとゲートの電位差に相当する電位であり、
前記第2の機能を行う頻度は、前記第3の機能を行う頻度より低く、
前記第2の機能を行う頻度は、前記第4の機能を行う頻度よりも低い、半導体装置。
続きを表示(約 1,600 文字)
【請求項2】
請求項1において、
前記第2電位は前記第1電位よりも低い電位である半導体装置。
【請求項3】
請求項1又は請求項2において、
前記第1トランジスタはn型トランジスタである半導体装置。
【請求項4】
請求項1又は請求項2において、
前記第1トランジスタのチャネルが形成される半導体層に酸化物半導体を含む半導体装置。
【請求項5】
請求項1又は請求項2において、
前記発光素子は有機EL素子である半導体装置。
【請求項6】
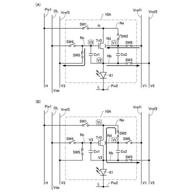
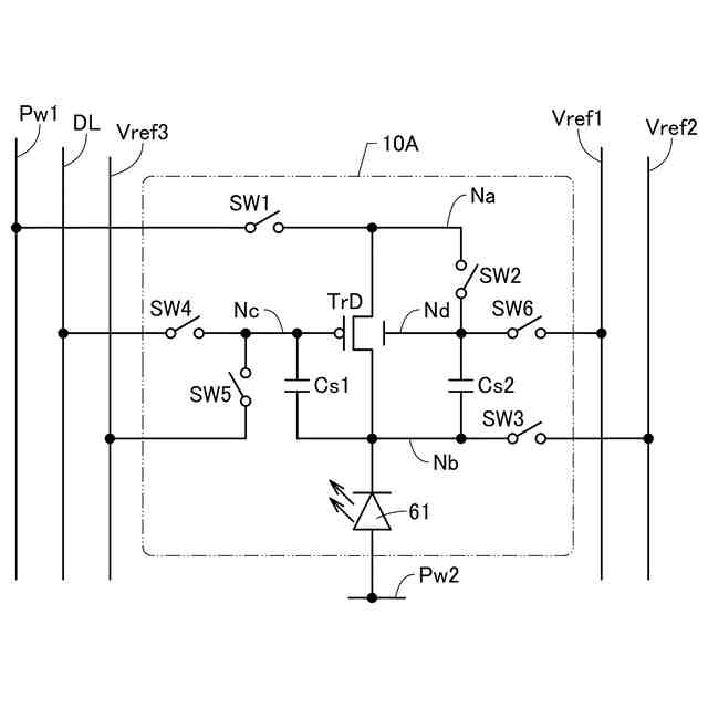
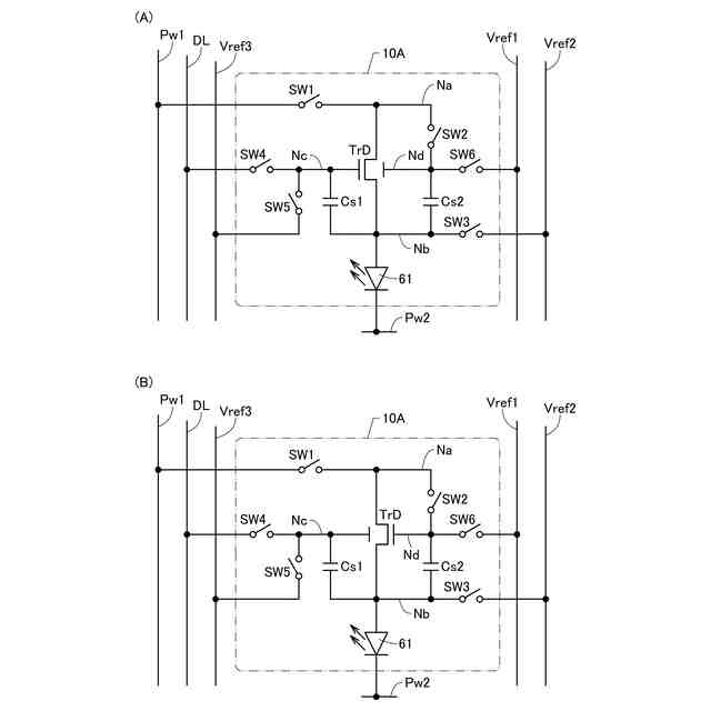
第1乃至第7トランジスタと、第1容量素子と、第2容量素子と、発光素子と、を有し、
前記第1トランジスタは、ゲートと、バックゲートと、第1端子と、第2端子と、を有し、
前記第2乃至第7トランジスタ、前記第1容量素子、前記第2容量素子及び発光素子のそれぞれは、第1端子と、第2端子と、を有し、
前記第1トランジスタの第1端子は、前記第2トランジスタの第2端子及び前記第3トランジスタの第1端子と電気的に接続され、
前記第3のトランジスタの第2端子は、前記第1トランジスタのバックゲート、前記第7トランジスタの第1端子及び前記第2容量素子の第1端子と電気的に接続され、
前記第2容量素子の第2端子は、前記第4トランジスタの第1端子、前記第1トランジスタの第2端子、前記発光素子の第1端子及び前記第1容量素子の第2端子と電気的に接続され、
前記第1トランジスタのゲートは、前記第1容量素子の第1端子、前記第5トランジスタの第2端子及び前記第6トランジスタの第1端子と電気的に接続され、
前記第3トランジスタのW/Lは、前記第5トランジスタのW/Lよりも小さく、
前記第3トランジスタのW/Lは、前記第6トランジスタのW/Lよりも小さく、
前記第7トランジスタのW/Lは、前記第5トランジスタのW/Lよりも小さく、
前記第7トランジスタのW/Lは、前記第6トランジスタのW/Lよりも小さい、半導体装置。
【請求項7】
請求項6において、
前記第1容量素子は、前記第1トランジスタの第2端子と前記第1トランジスタのゲートの電位差を維持する機能を有し、
前記第2容量素子は、前記第1トランジスタの第2端子と前記第1トランジスタのバックゲートの電位差を維持する機能を有する半導体装置。
【請求項8】
請求項6又は請求項7において、
前記第2トランジスタの第1端子は第1配線と電気的に接続され、
前記第5トランジスタの第1端子は第2配線と電気的に接続され、
前記第6トランジスタの第2端子は第3配線と電気的に接続され、
前記第7トランジスタの第2端子は第4配線と電気的に接続され、
前記第4トランジスタの第2端子は第5配線と電気的に接続され、
前記発光素子の第2端子は第6配線と電気的に接続され、
前記第1配線は第1電位を供給する機能を有し、
前記第2配線は映像信号を供給する機能を有し、
前記第3配線は第2電位を供給する機能を有し、
前記第4配線は第3電位を供給する機能を有し、
前記第5配線は第4電位を供給する機能を有し、
前記第6配線は第5電位を供給する機能を有する半導体装置。
【請求項9】
請求項6又は請求項7において、
前記第1トランジスタのチャネルが形成される半導体層に酸化物半導体を含む半導体装置。
【請求項10】
請求項6又は請求項7において、
前記発光素子は有機EL素子である半導体装置。
発明の詳細な説明
【技術分野】
【0001】
本発明の一態様は、半導体装置に関する。
続きを表示(約 1,900 文字)
【0002】
なお、本発明の一態様は、上記の技術分野に限定されない。本発明の一態様の技術分野として、半導体装置、表示装置、発光装置、蓄電装置、記憶装置、電子機器、照明装置、入力装置(例えば、タッチセンサ)、入出力装置(例えば、タッチパネル)、それらの駆動方法又はそれらの製造方法を一例として挙げることができる。
【背景技術】
【0003】
近年、画素に発光ダイオード(LED:Light Emitting Diode)などの発光素子を用いた自発光型の表示装置の研究開発が盛んに行われている。特に、発光素子として有機EL(Electro Luminescence)素子を用いたアクティブマトリクス型の表示装置が注目されている。一般的に、自発光型のアクティブマトリクス型の表示装置は、発光素子を含む画素回路を備える。また、画素回路は、映像信号に従って発光素子に供給する電流量を制御するトランジスタ(駆動トランジスタ)などを備える。
【0004】
発光素子の発光輝度は、駆動トランジスタのドレイン電流の大きさに応じて決定される。このため、表示装置の画面を構成する複数の画素間で、駆動トランジスタの電気特性(しきい値電圧など)にばらつきがあると、複数の画素に同じ映像信号が供給されても、それぞれの画素の発光輝度に違いが生じてしまう。複数の画素間における駆動トランジスタの電気特性のばらつきは、表示装置の表示品位低下の一因となる。
【0005】
複数の画素間における駆動トランジスタの電気特性のばらつきを低減するため、様々な構成の画素回路が提案されている。特許文献1では、駆動トランジスタとしてゲートとバックゲートとを備えるトランジスタを用いて、駆動トランジスタの電気特性のばらつきを低減する構成が開示されている。
【先行技術文献】
【特許文献】
【0006】
特開2015-132816号公報
【発明の概要】
【発明が解決しようとする課題】
【0007】
特許文献1では、駆動トランジスタのソースが有機EL素子と接続されている構成において、当該駆動トランジスタのバックゲートの電位を固定し、かつソースの電位を変化させることによって、当該駆動トランジスタしきい値電圧を取得する構成が示されている。有機EL素子はアノードとカソードの間に発光層が挟まれた構成を備えるため、静電容量を有する。よって、特許文献1に示されている構成では、当該駆動トランジスタのしきい値電圧を取得するために有機EL素子の静電容量が充電される必要があった。このため、しきい値電圧を取得する期間が長くなりやすいという問題があった。
【0008】
本発明の一態様は、特性のばらつきの影響が低減された半導体装置を提供することを課題の一とする。又は、消費電力の少ない半導体装置を提供することを課題の一とする。又は、信頼性の良好な半導体装置を提供することを課題の一とする。又は、新規な半導体装置を提供することを課題の一とする。又は、表示品位の良好な表示装置を提供することを課題の一とする。又は、消費電力の少ない表示装置を提供することを課題の一とする。又は、新規な表示装置を提供することを課題の一とする。
【0009】
なお、上記課題の記載は、他の課題の存在を妨げるものではない。他の課題は、当業者であれば、明細書、図面、請求項などの記載から、自ずと見いだせるものであり、明細書、図面、請求項などの記載から、他の課題を抽出することが可能である。なお、本発明の一態様は、これらの課題(上記課題及び他の課題)の全てを解決する必要はないものとする。
【課題を解決するための手段】
【0010】
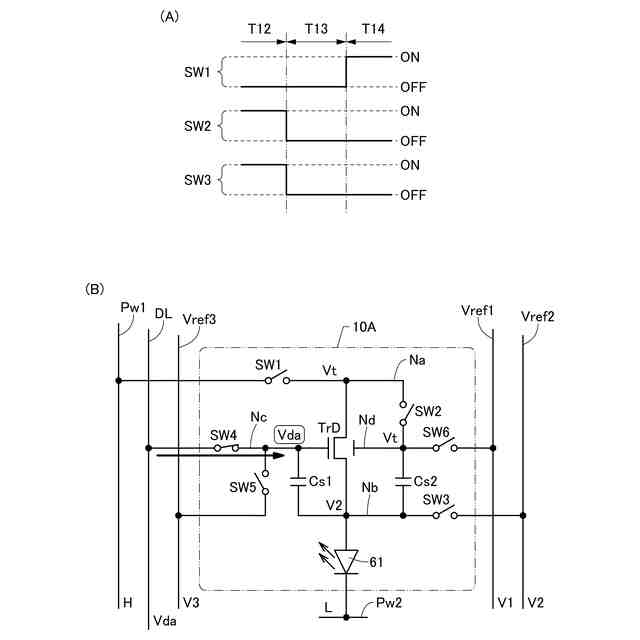
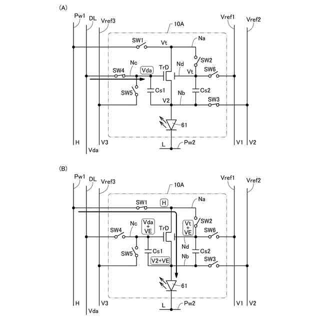
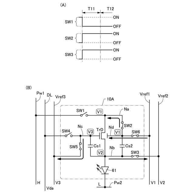
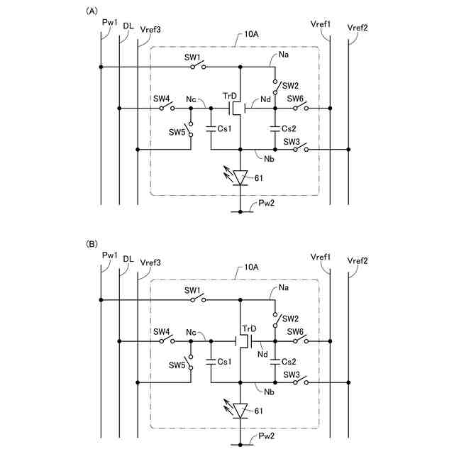
(1)本発明の一態様は、ゲート及びバックゲートを有する第1トランジスタと、発光素子と、を有し、第1トランジスタのバックゲートに第1電位を供給する第1の機能と、第1トランジスタのゲート電位及びソース電位を固定し、第1トランジスタのドレインとバックゲートとを導通状態にして、バックゲートの電位を第2電位とする第2の機能と、第1トランジスタのゲートに映像信号を供給する第3の機能と、映像信号に応じた電流を発光素子に供給する第4の機能と、を有し、第2電位は、第1トランジスタのソースとゲートの電位差に相当する電位であり、第2の機能を行うとする頻度は第3の機能を行う頻度より低く、第2の機能を行う頻度は第4の機能を行う頻度よりも低い、半導体装置である。
(【0011】以降は省略されています)
この特許をJ-PlatPat(特許庁公式サイト)で参照する
関連特許
個人
教育のAI化
今日
個人
英語教材
16日前
個人
回転式カード学習具
2か月前
日本精機株式会社
表示装置
2か月前
日本精機株式会社
表示装置
1か月前
個人
時刻表示機能つき手帳
3か月前
日本精機株式会社
表示装置
3日前
個人
計算用教具
1か月前
中国電力株式会社
標示旗
1か月前
日本精機株式会社
車両用表示装置
2か月前
日本精機株式会社
車両用表示装置
9日前
日本精機株式会社
車両用表示装置
3か月前
個人
インフィニティミラー
1日前
日本精機株式会社
車両用表示装置
3か月前
個人
微細構造を模した理科学習教材
22日前
個人
モデルで薔薇の花嫁様を描く為
2か月前
日本精機株式会社
車両用センサ装置
1か月前
日榮新化株式会社
対象物質感知シート
今日
株式会社一弘社
情報表示板
2か月前
ニチレイマグネット株式会社
サイン器具
14日前
シャープ株式会社
表示装置
1か月前
株式会社ウメラボ
学習支援システム
1か月前
株式会社ウメラボ
学習支援システム
29日前
個人
音楽教材
2か月前
ニチレイマグネット株式会社
磁着式電飾装置
1か月前
朝日インテック株式会社
ラベルシート
14日前
日本精機株式会社
表示装置及びその製造方法
3日前
株式会社半導体エネルギー研究所
半導体装置
3か月前
シャープ株式会社
表示装置
15日前
リンテック株式会社
表示体
28日前
株式会社イリオスNOTO
シート保管具
14日前
株式会社リコー
画像投射システム
1か月前
朝日インテック株式会社
生体モデル装置
3日前
株式会社サンゲツ
見本帳
2か月前
BEST株式会社
吊り下げ表示部材
2か月前
学校法人関西医科大学
腹腔鏡手術訓練装置
1か月前
続きを見る
他の特許を見る