TOP
|
特許
|
意匠
|
商標
特許ウォッチ
Twitter
他の特許を見る
公開番号
2025132415
公報種別
公開特許公報(A)
公開日
2025-09-10
出願番号
2024029958
出願日
2024-02-29
発明の名称
表示方法
出願人
セイコーエプソン株式会社
代理人
個人
,
個人
,
個人
主分類
G09G
5/00 20060101AFI20250903BHJP(教育;暗号方法;表示;広告;シール)
要約
【課題】点、線又は面等の現実空間に含まれるジオメトリに対応したコンテンツを生成して表示できるようにする。
【解決手段】映像生成器20は、現実空間において投写対象を撮像装置30に撮像させることによって撮像画像を取得する。映像生成器20は、撮像画像の範囲内に含まれるジオメトリのうち、ユーザーによって選択されたジオメトリを示すジオメトリ情報を取得する一方、投写領域に表示するコンテンツの表現に関するユーザーの指示を表す指示情報を取得する。映像生成器20は、ユーザーにより選択されたジオメトリ情報と指示情報とに基づいて、ジオメトリ情報の示すジオメトリを起点として指示情報の示す表現を実行するコンテンツに関する第1投写画像を生成し、当該第1投写画像をプロジェクター10に投写させる。
【選択図】図1
特許請求の範囲
【請求項1】
現実空間において投写対象を撮像することによって撮像画像を取得することと、
前記撮像画像の範囲内に含まれる点、線、又は面のうち、ユーザーによって選択された点、線、又は面を示すジオメトリ情報を取得することと、
前記投写対象が設置される投写領域に表示するコンテンツに関する前記ユーザーの指示を表す指示情報を取得することと、
前記ジオメトリ情報と前記指示情報とに基づいて、前記コンテンツに関する第1投写画像を生成することと、
前記第1投写画像を前記投写領域に投写することによって、前記コンテンツを表示することと、
を含む表示方法。
続きを表示(約 770 文字)
【請求項2】
前記指示情報は前記コンテンツの表現に関する指示を含み、
前記第1投写画像は、
前記ジオメトリ情報の表す点、線、又は面を起点として前記指示情報の示す表現を実行する前記コンテンツを表す、
請求項1に記載の表示方法。
【請求項3】
前記ユーザーは、ジェスチャーにより前記コンテンツの表現を指示し、
前記指示情報は、前記ユーザーのジェスチャーを撮像することで得られる、
請求項2に記載の表示方法。
【請求項4】
前記第1投写画像を生成することは、
前記ジオメトリ情報の示す点、線、又は面を除いた投写領域に対して、前記第1投写画像を生成することを含む、
請求項1に記載の表示方法。
【請求項5】
前記撮像画像の範囲内に含まれる点、線、又は面の選択は、前記ユーザーの音声に基づいて行われる、
請求項1に記載の表示方法。
【請求項6】
前記撮像画像の範囲内に含まれる点、線、又は面の選択は、前記投写領域内の点、線、又は面を前記現実空間において指示体により指示することで行われる、
請求項1に記載の表示方法。
【請求項7】
前記撮像画像の範囲内に含まれる点、線、又は面の選択は、前記撮像画像を表示する表示装置における表示面に対するタッチ操作により行われる、
請求項1に記載の表示方法。
【請求項8】
前記撮像画像に基づいて、前記投写領域に含まれる点、線、又は面を識別することと、
前記ジオメトリ情報を取得することに先立って、前記識別された点、線、又は面を強調表示する第2投写画像を前記投写領域に投写することと、を更に含む、
請求項1に記載の表示方法。
発明の詳細な説明
【技術分野】
【0001】
本開示は、表示方法に関する。
続きを表示(約 1,900 文字)
【背景技術】
【0002】
特許文献1には、選択されたオブジェクトに対して投写する投写画像を、入力された画像を所定の背景画像上に合成することで生成することが開示されている。また、特許文献1には、背景画像は、あらかじめ準備された画像、又は入力画像の信号に基づいて背景画像生成部において生成された画像を背景画像として用いることが開示されている。
【先行技術文献】
【特許文献】
【0003】
特開2012-84001号公報
【発明の概要】
【発明が解決しようとする課題】
【0004】
特許文献1に開示の技術では、投写画像の投写対象となるオブジェクトをどの様に選択するのか、という点については開示が無い。特許文献1に開示の技術では、例えば、平面に付与されたマーカー、又はテープ等の2次元的なオブジェクトが、投写対象として選択されないおそれがある。
【課題を解決するための手段】
【0005】
本開示の表示方法の一態様は、現実空間において投写対象を撮像することによって撮像画像を取得することと、ユーザーによって選択された撮像画像の範囲内に含まれるジオメトリ情報を取得することと、前記ユーザーから指示に関する情報を取得することと、前記ジオメトリ情報と前記指示情報とに基づいて、前記投写対象に表示するコンテンツを表す第1投写画像を生成することと、前記第1投写画像を前記投写領域に投写することによって、前記コンテンツを表示することと、を含む。
【図面の簡単な説明】
【0006】
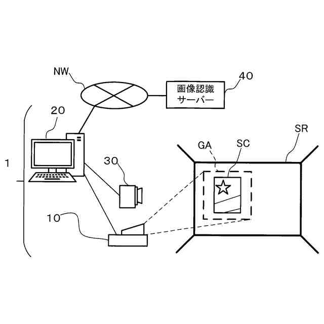
本開示の実施形態よるシステム1の構成例を示す図である。
プロジェクター10から投写領域SRに投写される投写画像GAの一例を示す図である。
システム1に含まれる映像生成器20の構成例を示す図である。
選択補助画像GBの一例を示す図である。
映像生成器20の処理装置210がプログラムPRAに従って実行する表示方法における処理の流れを示すフローチャートである。
【発明を実施するための形態】
【0007】
以下に述べる実施形態には技術的に好ましい種々の限定が付されている。しかし、本開示の実施形態は、以下に述べる形態に限られるものではない。
【0008】
1.実施形態
図1は、本開示の一実施形態によるシステム1の構成例を示す図である。システム1は、投写対象SCに投写画像GAを投写することにより、プロジェクションマッピングを実現するシステムである。図1に示されるように、システム1は、プロジェクター10と、映像生成器20と、撮像装置30と、を含む。プロジェクター10及び撮像装置30の各々は無線又は有線により映像生成器20に接続される。
【0009】
プロジェクター10は、映像生成器20から供給される画像データの表す投写画像GAを、投写対象SCが配置される投写領域SRに投写することによりプロジェクションマッピングを実現する。本実施形態における投写対象SCは例えばポスターであり、投写領域SRは、システム1を利用するユーザーの居室の壁面の一つであって、投写対象SCは当該壁面に貼り付けられている。本実施形態では、上述のプロジェクションマッピングにより、図2に示されるように、投写対象SCの周囲に仮想的な額縁VWを付与する投写画像GAが投写される。なお、図2では、投写対象SCは点線で描画されている。投写対象SCが貼り付けられた壁面を有する居室は本開示における現実空間の一例であり、仮想的な額縁VWを表す投写画像GAは本開示における第1投写画像の一例である。仮想的な額縁VWは、本開示におけるコンテンツの一例である。また、本実施形態における投写対象SCは、ポスターであるが、絵画、イラスト、又は写真であってもよく、投写領域SRに貼り付けられたマーカー又はテープ等であってもよい。なお、本開示における投写対象SCは、ポスター等の二次元的なオブジェクトには限定されず、三次元形状を有する立体的なオブジェクトであってもよい。
【0010】
撮像装置30は、例えばカメラであり、投写領域SRの画像を撮像し、撮像画像を表す撮像画像データを映像生成器20へ供給する。映像生成器20は、例えばパーソナルコンピューターである。映像生成器20は、撮像装置30から供給される撮像画像データとユーザーから与えられる指示とに基づいて、プロジェクター10から投写領域SRに投写する投写画像GAを表すコンテンツデータを生成する。
(【0011】以降は省略されています)
この特許をJ-PlatPat(特許庁公式サイト)で参照する
関連特許
個人
教育のAI化
16日前
個人
英語教材
1か月前
日本精機株式会社
表示装置
19日前
日本精機株式会社
車両用表示装置
25日前
個人
インフィニティミラー
17日前
個人
微細構造を模した理科学習教材
1か月前
日榮新化株式会社
対象物質感知シート
16日前
ニチレイマグネット株式会社
サイン器具
1か月前
日本精機株式会社
表示装置及びその製造方法
19日前
朝日インテック株式会社
ラベルシート
1か月前
朝日インテック株式会社
生体モデル装置
19日前
シャープ株式会社
表示装置
1か月前
株式会社イリオスNOTO
シート保管具
1か月前
国立大学法人秋田大学
運転シミュレータ
1か月前
ローム株式会社
半導体装置およびシステム
3日前
ヘラマンタイトン株式会社
シート状部材保持具
4日前
共同印刷株式会社
ラベル
16日前
NISSHA株式会社
表示パネル装置
24日前
アルプスアルパイン株式会社
表示装置
1か月前
共同印刷株式会社
ラベル
16日前
日立建機株式会社
ダンプトラック
16日前
日本放送協会
情報提示システム、領域抽出装置及びプログラム
1か月前
株式会社クボタ
表示装置及び表示装置を備えた車両
1か月前
セイコーエプソン株式会社
プロジェクターの制御方法
1か月前
株式会社東海理化電機製作所
エンブレム
3日前
株式会社ジャパンディスプレイ
表示装置
24日前
株式会社東海理化電機製作所
エンブレム
3日前
株式会社ジャパンディスプレイ
表示装置
1か月前
三菱電機株式会社
集中度特性判定装置および集中度特性判定方法
1か月前
株式会社ジャパンディスプレイ
表示システム
27日前
TOPPANホールディングス株式会社
ディスプレイカバー
9日前
TOPPANホールディングス株式会社
ディスプレイカバー
9日前
TOPPANホールディングス株式会社
ディスプレイカバー
9日前
TOPPANホールディングス株式会社
ディスプレイカバー
9日前
株式会社コノセル
情報処理方法、情報処理装置、及び情報処理プログラム
16日前
株式会社YSC
フィギュア
3日前
続きを見る
他の特許を見る