TOP
|
特許
|
意匠
|
商標
特許ウォッチ
Twitter
他の特許を見る
10個以上の画像は省略されています。
公開番号
2025162348
公報種別
公開特許公報(A)
公開日
2025-10-27
出願番号
2024065591
出願日
2024-04-15
発明の名称
表示システム
出願人
株式会社ジャパンディスプレイ
代理人
弁理士法人酒井国際特許事務所
主分類
G09G
3/36 20060101AFI20251020BHJP(教育;暗号方法;表示;広告;シール)
要約
【課題】ディスプレイ上の表示画像を色付きなく撮像可能な表示システムを提供する。
【解決手段】表示システム200は、表示パネルPを有する表示装置100と、少なくとも表示パネルPを撮像範囲IR内に含む画像を撮像する撮像装置300と、を有する。表示パネルPに1フレーム分の画像を表示する1フレーム期間は、それぞれ異なる色の表示を行う複数のサブフィールド期間を含む。表示装置100は、フレームレートを変更可能に構成されている。
【選択図】図1
特許請求の範囲
【請求項1】
表示パネルを有する表示装置と、
少なくとも前記表示パネルを撮像範囲内に含む画像を撮像する撮像装置と、
を有し、
前記表示パネルに1フレーム分の画像を表示する1フレーム期間は、それぞれ異なる色の表示を行う複数のサブフィールド期間を含み、
前記表示装置は、フレームレートを変更可能に構成されている、
表示システム。
続きを表示(約 870 文字)
【請求項2】
前記表示装置は、1フレームごとにフレームレートを変更する、
請求項1に記載の表示システム。
【請求項3】
前記表示装置は、
フレームレートを第1フレームレートから当該第1フレームレートとは異なる第2フレームレートまで段階的に変化させる期間を繰り返す、
請求項2に記載の表示システム。
【請求項4】
前記表示装置は、
フレームレートを第1フレームレートから当該第1フレームレートとは異なる第2フレームレートまで段階的に変化させる第1期間と、フレームレートを前記第2フレームレートから前記第1フレームレートまで段階的に変化させる第2期間とを繰り返す、
請求項2に記載の表示システム。
【請求項5】
前記表示装置は、フレームレートを変更するためのスイッチを備えている、
請求項1に記載の表示システム。
【請求項6】
複数の前記サブフィールド期間は、
第1色の表示を行う第1サブフィールド期間と、
前記第1色とは異なる第2色の表示を行う第2サブフィールド期間と、
前記第1色及び前記第2色とは異なる第3色の表示を行う第3サブフィールド期間と、
を含む、
請求項1から5の何れか一項に記載の表示システム。
【請求項7】
前記1フレーム期間は、表示を行わないダミーフィールド期間を含み、
前記表示装置は、前記ダミーフィールド期間の長さを変更して、フレームレートを変更する、
請求項6に記載の表示システム。
【請求項8】
前記表示パネルは、高分子分散型液晶が封入された液晶パネルである、
請求項1から5の何れか一項に記載の表示システム。
【請求項9】
前記表示装置は、前記表示パネルを透過した像を視認可能に構成された透明ディスプレイである、
請求項1から5の何れか一項に記載の表示システム。
発明の詳細な説明
【技術分野】
【0001】
本発明は、表示システムに関する。
続きを表示(約 2,000 文字)
【背景技術】
【0002】
従来、人物撮影の背景板として透明ディスプレイを適用する技術が開示されている(例えば、特許文献1)。
【先行技術文献】
【特許文献】
【0003】
特開2021-048433号公報
【発明の概要】
【発明が解決しようとする課題】
【0004】
透明ディスプレイとして、異なる色の発光体を時分割で発光させて表示出力を行う透過型の液晶表示装置が知られている。このような所謂フィールドシーケンシャル(FSC:Field Sequential Color)方式で表示出力を行う透明ディスプレイを撮影する際、カメラのシャッタースピードによっては、カメラで撮像したディスプレイ上の表示画像に色付きが生じる場合がある。
【0005】
本開示は、上記の課題に鑑みてなされたもので、ディスプレイ上の表示画像を色付きなく撮像可能な表示システムを提供することを目的とする。
【課題を解決するための手段】
【0006】
本開示の一態様に係る表示システムは、表示パネルを有する表示装置と、少なくとも前記表示パネルを撮像範囲内に含む画像を撮像する撮像装置と、を有し、前記表示パネルに1フレーム分の画像を表示する1フレーム期間は、それぞれ異なる色の表示を行う複数のサブフィールド期間を含み、前記表示装置は、フレームレートを変更可能に構成されている。
【図面の簡単な説明】
【0007】
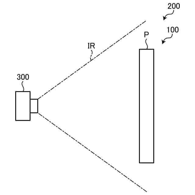
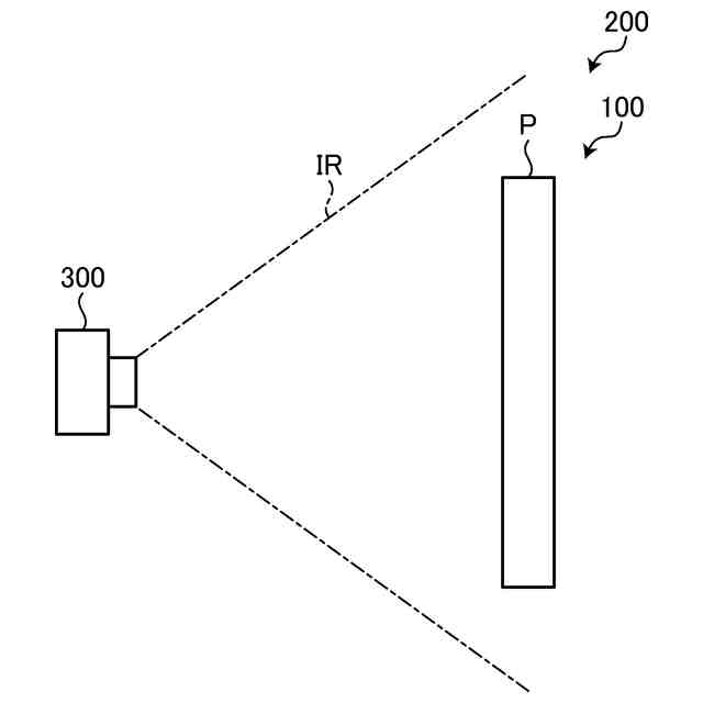
図1は、実施形態1に係る表示システムの概略構成を示す図である。
図2は、表示装置の主要構成を示す模式的な回路図である。
図3は、表示パネルの概略断面図である。
図4は、1フレーム期間の一例を示すタイミングチャートである。
図5は、撮像装置における撮像タイミングと表示装置における表示タイミングとの第1例を示す図である。
図6は、撮像装置における撮像タイミングと表示装置における表示タイミングとの第2例を示す図である。
図7は、表示装置におけるフレームレート変更の第1具体例を示す第1概念図である。
図8は、表示装置におけるフレームレート変更の第1具体例を示す第2概念図である。
図9Aは、表示装置におけるフレームレート変更の第2具体例を示す第1概念図である。
図9Bは、表示装置におけるフレームレート変更の第2具体例を示す第2概念図である。
図10は、表示装置におけるフレームレート変更の第2具体例を示す第3概念図である。
図11は、撮像装置における撮像タイミングと表示装置における表示タイミングとの第3例を示す図である。
図12は、撮像装置における撮像タイミングと表示装置における表示タイミングとの第4例を示す図である。
図13は、実施形態2に係る表示システムの概略構成を示す図である。
図14は、表示装置におけるフレームレート変更の第3具体例を示す概念図である。
【発明を実施するための形態】
【0008】
本開示を実施するための形態(実施形態)につき、図面を参照しつつ詳細に説明する。なお、以下の実施形態に記載した内容により本開示が限定されるものではない。また、以下に記載した構成要素には、当業者が容易に想定できるもの、実質的に同一のものが含まれる。さらに、以下に記載した構成要素は適宜組み合わせることが可能である。また、開示はあくまで一例にすぎず、当業者において、開示の主旨を保っての適宜変更について容易に想到し得るものについては、当然に本開示の範囲に含有されるものである。また、図面は説明をより明確にするため、実際の態様に比べ、各部の幅、厚さ、形状等について模式的に表される場合があるが、あくまで一例であって、本開示の解釈を限定するものではない。また、本明細書と各図において、既出の図に関して前述したものと同様の要素には、同一の符号を付して、詳細な説明を適宜省略することがある。
【0009】
(実施形態1)
図1は、実施形態1に係る表示システムの概略構成を示す図である。図1に示すように、実施形態1に係る表示システム200は、表示装置100と、撮像装置300と、を備える。
【0010】
本開示において、表示装置100は、同一画素から複数色の光をそれぞれ異なるタイミングで透過させるように画素を制御する所謂フィールドシーケンシャルカラー(FSC:Field Sequential Color)方式で表示出力を行う透過型の液晶表示装置である。
(【0011】以降は省略されています)
この特許をJ-PlatPat(特許庁公式サイト)で参照する
関連特許
個人
教育のAI化
1か月前
個人
英語教材
1か月前
日本精機株式会社
表示装置
1か月前
日本精機株式会社
車両用表示装置
1か月前
個人
インフィニティミラー
1か月前
個人
微細構造を模した理科学習教材
1か月前
日榮新化株式会社
対象物質感知シート
1か月前
ニチレイマグネット株式会社
サイン器具
1か月前
株式会社ウメラボ
学習支援システム
1か月前
株式会社ウメラボ
学習支援システム
2か月前
朝日インテック株式会社
ラベルシート
1か月前
日本精機株式会社
表示装置及びその製造方法
1か月前
シャープ株式会社
表示装置
1か月前
朝日インテック株式会社
生体モデル装置
1か月前
株式会社イリオスNOTO
シート保管具
1か月前
リンテック株式会社
表示体
1か月前
国立大学法人秋田大学
運転シミュレータ
1か月前
ローム株式会社
半導体装置およびシステム
17日前
リンテック株式会社
粘着ラベル
1か月前
ヘラマンタイトン株式会社
シート状部材保持具
18日前
ローム株式会社
暗号化装置
1か月前
キヤノン株式会社
表示装置
9日前
キヤノン株式会社
表示装置
9日前
セイコーエプソン株式会社
投射型表示装置
1か月前
株式会社JVCケンウッド
液晶表示装置および制御方法
1か月前
公立大学法人札幌市立大学
化学構造模型
2か月前
NISSHA株式会社
表示パネル装置
1か月前
共同印刷株式会社
ラベル
1か月前
アルプスアルパイン株式会社
表示装置
1か月前
共同印刷株式会社
ラベル
1か月前
コベルコ建機株式会社
作業機械操作システム
9日前
アルプスアルパイン株式会社
情報処理システム
2か月前
株式会社小糸製作所
虚像表示装置
11日前
日立建機株式会社
ダンプトラック
1か月前
I&CO合同会社
経路表示用テープ
9日前
大日本印刷株式会社
学習支援装置及びプログラム
2か月前
続きを見る
他の特許を見る