TOP
|
特許
|
意匠
|
商標
特許ウォッチ
Twitter
他の特許を見る
10個以上の画像は省略されています。
公開番号
2025169721
公報種別
公開特許公報(A)
公開日
2025-11-14
出願番号
2024074735
出願日
2024-05-02
発明の名称
ディスプレイカバー
出願人
TOPPANホールディングス株式会社
代理人
個人
,
個人
,
個人
主分類
G09F
13/04 20060101AFI20251107BHJP(教育;暗号方法;表示;広告;シール)
要約
【課題】正面板の反りを抑制できるディスプレイカバーを提供することである。
【解決手段】
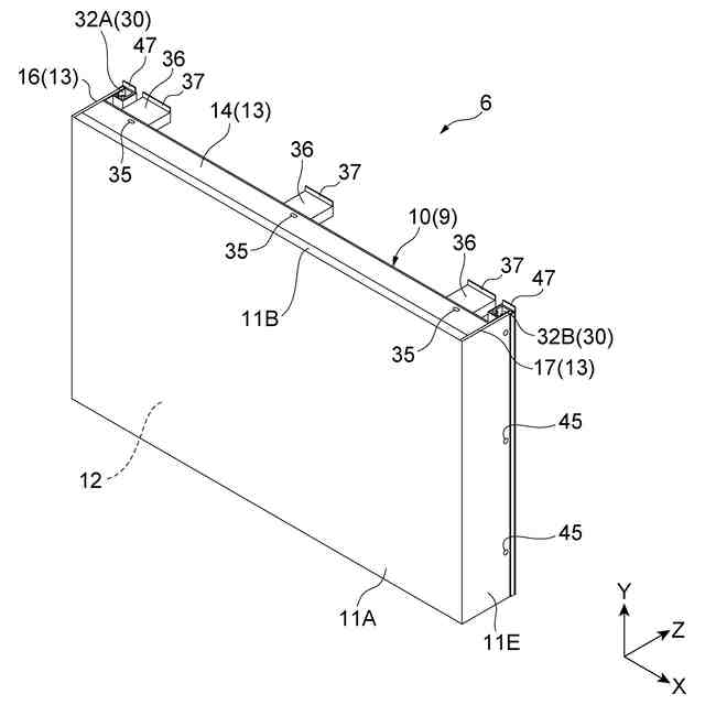
ディスプレイカバー6は、ディスプレイ5と向かい合うように配置され、ディスプレイ5から出射される光を透過する樹脂製の正面板12と、正面板12の周縁部から建築壁1に向けて立設し、互いに向かい合う少なくとも一対の樹脂製の側板13と、正面板12の表面上に設けられ、光を透過する化粧シート11と、を備え、一対の側板13における正面板12とは反対側の端部には、ディスプレイカバー6を建築壁1に支持するための支持部材30が固定されている。
【選択図】図6
特許請求の範囲
【請求項1】
建築壁に設置されたディスプレイを覆うディスプレイカバーであって、
前記ディスプレイと向かい合うように配置され、前記ディスプレイから出射される光を透過する樹脂製の正面板と、
前記正面板の周縁部から前記建築壁に向けて立設し、互いに向かい合う少なくとも一対の樹脂製の側板と、
前記正面板の表面上に設けられ、前記光を透過する化粧シートと、を備え、
前記一対の側板における前記正面板とは反対側の端部には、前記ディスプレイカバーを前記建築壁に支持するための支持部材が固定されている、ディスプレイカバー。
続きを表示(約 210 文字)
【請求項2】
前記少なくとも一対の側板は、前記正面板の上下方向において互いに向かい合う一対の第1側板と、前記正面板の左右方向において互いに向かい合う一対の第2側板と、を有している、請求項1に記載のディスプレイカバー。
【請求項3】
前記支持部材における前記正面板とは反対側に配置されるように前記支持部材に連結され、前記建築壁に取り付けられる取付金具を更に備える、請求項1に記載のディスプレイカバー。
発明の詳細な説明
【技術分野】
【0001】
本発明は、ディスプレイカバーに関する。
続きを表示(約 1,600 文字)
【背景技術】
【0002】
例えば、特許文献1には、ディスプレイ等の光源と、光源の前方に設けられた印刷物である化粧シートとを備える表示装置が記載されている。化粧シートでは、ディスプレイが点灯していない場合は、化粧シートに印刷された絵柄が視認され、ディスプレイが点灯している場合は、ディスプレイからの透過光が視認される。
【先行技術文献】
【特許文献】
【0003】
特許7457089号公報
【発明の概要】
【発明が解決しようとする課題】
【0004】
ところで、上記従来技術のような表示装置は、建築壁に設置される場合がある。この場合、ディスプレイを覆うディスプレイカバーは、例えば、ディスプレイと向かい合うように配置され、ディスプレイから出射される光を透過する正面板と、正面板の周縁部から建築壁に向けて立設する側板とを備えている。正面板及び側板が樹脂で形成されている場合、ディスプレイから発生した熱や周辺環境の温度変化により、側板において側板の外側に向かって曲がるような反りが発生することがある。この際、当該側板の反りに引っ張られる形で正面板の反りが発生するおそれがある。
【0005】
本発明の目的は、正面板の反りを抑制できるディスプレイカバーを提供することである。
【課題を解決するための手段】
【0006】
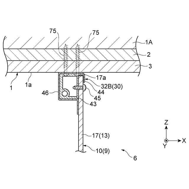
(1)本発明の一態様は、建築壁に設置されたディスプレイを覆うディスプレイカバーであって、ディスプレイと向かい合うように配置され、ディスプレイから出射される光を透過する樹脂製の正面板と、正面板の周縁部から建築壁に向けて立設し、互いに向かい合う少なくとも一対の樹脂製の側板と、正面板の表面上に設けられ、光を透過する化粧シートと、を備え、一対の側板における正面板とは反対側の端部には、ディスプレイカバーを建築壁に支持するための支持部材が固定されている。
【0007】
このようなディスプレイカバーにおいては、正面板の周縁部から建築壁に向けて立設する少なくとも一対の側板における正面板とは反対側の端部には、ディスプレイカバーを建築壁に支持するための支持部材が固定されている。これにより、例えば、ディスプレイから熱が発生した場合であっても、一対の側板における正面板とは反対側の端部に固定された支持部材を建築壁に支持することで、一対の側板において、側板の外側に向かって曲がるような反りが発生することが抑制される。したがって、側板の反りに引っ張られる形で発生する正面板の反りを抑制することができる。
【0008】
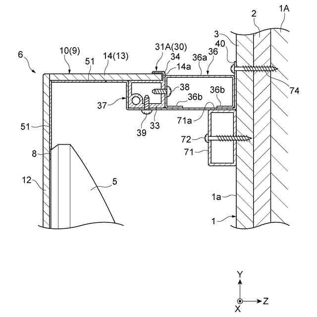
(2)上記の(1)において、少なくとも一対の側板は、正面板の上下方向において互いに向かい合う一対の第1側板と、正面板の左右方向において互いに向かい合う一対の第2側板と、を有していてもよい。このような構成では、支持部材を建築壁に支持することで、一対の第1側板において、第1側板の外側に向かって曲がるような反りが発生することが抑制されると共に、一対の第2側板において、第2側板の外側に向かって曲がるような反りが発生することが抑制される。したがって、効果的に正面板の反りを抑制することができる。
【0009】
(3)上記の(1)において、支持部材における正面板とは反対側に配置されるように支持部材に連結され、建築壁に取り付けられる取付金具を更に備えていてもよい。このような構成では、取付金具を建築壁に取り付けることで、ディスプレイカバーの支持部材を容易に建築壁に支持することができる。
【発明の効果】
【0010】
本発明によれば、正面板の反りを抑制できるディスプレイカバーの提供が可能となる。
【図面の簡単な説明】
(【0011】以降は省略されています)
この特許をJ-PlatPat(特許庁公式サイト)で参照する
関連特許
個人
教育のAI化
16日前
個人
英語教材
1か月前
個人
回転式カード学習具
2か月前
日本精機株式会社
表示装置
19日前
日本精機株式会社
表示装置
1か月前
日本精機株式会社
表示装置
3か月前
個人
計算用教具
1か月前
中国電力株式会社
標示旗
2か月前
日本精機株式会社
車両用表示装置
25日前
個人
インフィニティミラー
17日前
個人
微細構造を模した理科学習教材
1か月前
個人
モデルで薔薇の花嫁様を描く為
2か月前
日本精機株式会社
車両用センサ装置
1か月前
日榮新化株式会社
対象物質感知シート
16日前
ニチレイマグネット株式会社
サイン器具
1か月前
株式会社一弘社
情報表示板
2か月前
シャープ株式会社
表示装置
2か月前
株式会社ウメラボ
学習支援システム
1か月前
株式会社ウメラボ
学習支援システム
1か月前
個人
音楽教材
3か月前
日本精機株式会社
表示装置及びその製造方法
19日前
朝日インテック株式会社
ラベルシート
1か月前
ニチレイマグネット株式会社
磁着式電飾装置
2か月前
株式会社イリオスNOTO
シート保管具
1か月前
シャープ株式会社
表示装置
1か月前
株式会社リコー
画像投射システム
2か月前
朝日インテック株式会社
生体モデル装置
19日前
リンテック株式会社
表示体
1か月前
学校法人関西医科大学
腹腔鏡手術訓練装置
2か月前
BEST株式会社
吊り下げ表示部材
3か月前
シチズンファインデバイス株式会社
液晶表示装置
2か月前
株式会社サンゲツ
見本帳
3か月前
国立大学法人秋田大学
運転シミュレータ
1か月前
シャープ株式会社
表示装置
3か月前
セイコーエプソン株式会社
表示方法
2か月前
ローム株式会社
半導体装置およびシステム
3日前
続きを見る
他の特許を見る