TOP
|
特許
|
意匠
|
商標
特許ウォッチ
Twitter
他の特許を見る
10個以上の画像は省略されています。
公開番号
2025169706
公報種別
公開特許公報(A)
公開日
2025-11-14
出願番号
2024074690
出願日
2024-05-02
発明の名称
ディスプレイカバー
出願人
TOPPANホールディングス株式会社
代理人
個人
,
個人
,
個人
主分類
G09F
13/04 20060101AFI20251107BHJP(教育;暗号方法;表示;広告;シール)
要約
【課題】建築壁の正面側からディスプレイが視認されることを抑制できるディスプレイカバーを提供することである。
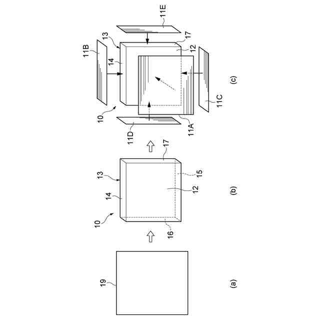
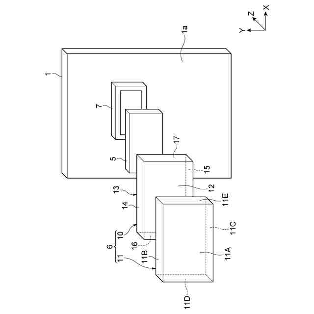
【解決手段】ディスプレイカバー6は、ディスプレイ5と向かい合うように配置され、ディスプレイ5から出射される光を透過する正面板12と、正面板12の周縁部から建築壁1に向けて立設する側板13と、正面板12の表面上に設けられ、光を透過する化粧シート11と、を備え、正面板12は、ディスプレイ5と向かい合う方向から見た場合にディスプレイ5と重なる表示領域12aと、表示領域12aの周囲に表示領域12aを取り囲むように配置された周辺領域12bと、を有し、周辺領域12bにおけるディスプレイ5側の内面12cには、光透過率が化粧シート11の光透過率よりも低い黒色シート51が設けられている。
【選択図】図8
特許請求の範囲
【請求項1】
建築壁に設置されたディスプレイを覆うディスプレイカバーであって、
前記ディスプレイと向かい合うように配置され、前記ディスプレイから出射される光を透過する正面板と、
前記正面板の周縁部から前記建築壁に向けて立設する側板と、
前記正面板の表面上に設けられ、前記光を透過する化粧シートと、を備え、
前記正面板は、前記ディスプレイと向かい合う方向から見た場合に前記ディスプレイと重なる表示領域と、前記表示領域の周囲に前記表示領域を取り囲むように配置された周辺領域と、を有し、
前記周辺領域における前記ディスプレイ側の内面には、光透過率が前記化粧シートの光透過率よりも低い透過抑制部材が設けられている、ディスプレイカバー。
続きを表示(約 150 文字)
【請求項2】
前記透過抑制部材は、前記正面板の前記周辺領域の前記内面に設けられると共に、前記側板における前記ディスプレイ側の内面に設けられている、請求項1に記載のディスプレイカバー。
【請求項3】
前記透過抑制部材は黒色シートである、請求項1に記載のディスプレイカバー。
発明の詳細な説明
【技術分野】
【0001】
本発明は、ディスプレイカバーに関する。
続きを表示(約 1,300 文字)
【背景技術】
【0002】
例えば、特許文献1には、ディスプレイ等の光源と、光源の前方に設けられた印刷物である化粧シートとを備える表示装置が記載されている。化粧シートでは、ディスプレイが点灯していない場合は、化粧シートに印刷された絵柄が視認され、ディスプレイが点灯している場合は、ディスプレイからの透過光が視認される。
【先行技術文献】
【特許文献】
【0003】
特許7457089号公報
【発明の概要】
【発明が解決しようとする課題】
【0004】
ところで、上記従来技術のような表示装置は、建築壁に設置される場合がある。この場合、ディスプレイを覆うディスプレイカバーがディスプレイよりも大きいと、建築壁の正面側から見た場合において、ディスプレイカバーにおけるディスプレイと重ならない領域において光が透過し、ディスプレイが視認されてしまうおそれがあった。
【0005】
本発明の目的は、建築壁の正面側からディスプレイが視認されることを抑制できるディスプレイカバーを提供することである。
【課題を解決するための手段】
【0006】
(1)本発明の一態様は、建築壁に設置されたディスプレイを覆うディスプレイカバーであって、ディスプレイと向かい合うように配置され、ディスプレイから出射される光を透過する正面板と、正面板の周縁部から建築壁に向けて立設する側板と、正面板の表面上に設けられ、光を透過する化粧シートと、を備え、正面板は、ディスプレイと向かい合う方向から見た場合にディスプレイと重なる表示領域と、表示領域の周囲に表示領域を取り囲むように配置された周辺領域と、を有し、周辺領域におけるディスプレイ側の内面には、光透過率が化粧シートの光透過率よりも低い透過抑制部材が設けられている。
【0007】
このようなディスプレイカバーにおいて、正面板の周辺領域におけるディスプレイ側の内面には、光透過率が化粧シートの光透過率よりも低い透過抑制部材が設けられている。このため、正面板の周辺領域において光が透過することが抑制される。これにより、建築壁の正面側からディスプレイが視認されることを抑制できる。
【0008】
(2)上記の(1)において、透過抑制部材は、正面板の周辺領域の内面に設けられると共に、側板におけるディスプレイ側の内面に設けられていてもよい。このような構成では、正面板の周辺領域において光が透過することが抑制されると共に、側板において光が透過することが抑制される。従って、建築壁の正面側からディスプレイが視認されることを更に抑制できる。
【0009】
(3)上記の(1)または(2)において、透過抑制部材は黒色シートであってもよい。このような構成では、非透過部材として安価で且つ簡素な黒色シートを使用して、建築壁の正面側からディスプレイが視認されることを効果的に抑制できる。
【発明の効果】
【0010】
本発明によれば、建築壁の正面側からディスプレイが視認されることを抑制できるディスプレイカバーの提供が可能となる。
【図面の簡単な説明】
(【0011】以降は省略されています)
この特許をJ-PlatPat(特許庁公式サイト)で参照する
関連特許
個人
教育のAI化
16日前
個人
英語教材
1か月前
個人
回転式カード学習具
2か月前
日本精機株式会社
表示装置
3か月前
個人
時刻表示機能つき手帳
3か月前
日本精機株式会社
表示装置
19日前
日本精機株式会社
表示装置
1か月前
個人
計算用教具
1か月前
中国電力株式会社
標示旗
2か月前
日本精機株式会社
車両用表示装置
3か月前
日本精機株式会社
車両用表示装置
3か月前
日本精機株式会社
車両用表示装置
25日前
日本精機株式会社
車両用表示装置
3か月前
個人
インフィニティミラー
17日前
個人
モデルで薔薇の花嫁様を描く為
2か月前
個人
微細構造を模した理科学習教材
1か月前
日本精機株式会社
車両用センサ装置
1か月前
日榮新化株式会社
対象物質感知シート
16日前
ニチレイマグネット株式会社
サイン器具
1か月前
株式会社一弘社
情報表示板
2か月前
シャープ株式会社
表示装置
2か月前
株式会社ウメラボ
学習支援システム
1か月前
株式会社ウメラボ
学習支援システム
1か月前
個人
音楽教材
3か月前
ニチレイマグネット株式会社
磁着式電飾装置
2か月前
日本精機株式会社
表示装置及びその製造方法
19日前
朝日インテック株式会社
ラベルシート
1か月前
株式会社半導体エネルギー研究所
半導体装置
3か月前
リンテック株式会社
表示体
1か月前
株式会社リコー
画像投射システム
2か月前
株式会社イリオスNOTO
シート保管具
1か月前
シャープ株式会社
表示装置
1か月前
朝日インテック株式会社
生体モデル装置
19日前
シチズンファインデバイス株式会社
液晶表示装置
2か月前
シチズンファインデバイス株式会社
液晶表示装置
3か月前
学校法人関西医科大学
腹腔鏡手術訓練装置
2か月前
続きを見る
他の特許を見る