TOP
|
特許
|
意匠
|
商標
特許ウォッチ
Twitter
他の特許を見る
10個以上の画像は省略されています。
公開番号
2025159884
公報種別
公開特許公報(A)
公開日
2025-10-22
出願番号
2024062721
出願日
2024-04-09
発明の名称
表示装置
出願人
株式会社ジャパンディスプレイ
代理人
弁理士法人スズエ国際特許事務所
主分類
G09F
9/00 20060101AFI20251015BHJP(教育;暗号方法;表示;広告;シール)
要約
【課題】 表示品位の低下を抑制できる表示装置を提供する。
【解決手段】 一実施形態に係る表示装置は、複数の発光素子と、前記複数の発光素子に重なる複数のレンズと、前記複数の発光素子と前記複数のレンズとの間において、前記複数のレンズが配置された第1主面を有する第1保護層と、を備える。前記第1主面は、前記複数のレンズに向けて突出する複数の突起部を含む凹凸パターンを有している。
【選択図】 図3
特許請求の範囲
【請求項1】
複数の発光素子と、
前記複数の発光素子に重なる複数のレンズと、
前記複数の発光素子と前記複数のレンズとの間において、前記複数のレンズが配置された第1主面を有する第1保護層と、を備え、
前記第1主面は、前記複数のレンズに向けて突出する複数の突起部を含む凹凸パターンを有している、
表示装置。
続きを表示(約 810 文字)
【請求項2】
前記レンズの一部は、隣り合う前記突起部の間に位置している、
請求項1に記載の表示装置。
【請求項3】
前記凹凸パターンは、平面視において、前記複数の突起部によってドット状に形成されている、
請求項1に記載の表示装置。
【請求項4】
前記凹凸パターンは、平面視において、前記複数の突起部によってストライプ状に形成されている、
請求項1に記載の表示装置。
【請求項5】
前記凹凸パターンは、平面視において、前記複数の突起部によって格子状に形成されている、
請求項1に記載の表示装置。
【請求項6】
前記凹凸パターンは、平面視において、環状の前記複数の突起部によって形成されている、
請求項1に記載の表示装置。
【請求項7】
複数の発光素子と、
前記複数の発光素子に重なる複数のレンズと、
前記複数の発光素子と前記複数のレンズとの間に配置された第1保護層と、
前記第1保護層と前記複数のレンズとの間において、前記複数のレンズが配置された第2主面を有する下地層と、を備え、
前記下地層は、前記第1保護層よりも大きな撥油性、または前記第1保護層よりも大きな撥水性の少なくとも一方を有している、
表示装置。
【請求項8】
前記下地層は、フッ素系有機化合物、またはシリコン酸化物によって形成されている、
請求項7に記載の表示装置。
【請求項9】
前記下地層の屈折率は、前記第1保護層の屈折率と同等である、
請求項7に記載の表示装置。
【請求項10】
前記レンズの屈折率は、前記下地層の屈折率よりも大きい、
請求項9に記載の表示装置。
(【請求項11】以降は省略されています)
発明の詳細な説明
【技術分野】
【0001】
本発明の実施形態は、表示装置に関する。
続きを表示(約 1,900 文字)
【背景技術】
【0002】
近年、有機EL素子、発光ダイオードなどの発光素子を用いた表示装置が提案されている。これらの発光素子からの出射光を効率より取り出すために、発光素子の上方にレンズがさらに配置される場合がある。
【先行技術文献】
【特許文献】
【0003】
特開2000-307090号公報
【発明の概要】
【発明が解決しようとする課題】
【0004】
本発明は、表示品位の低下を抑制できる表示装置を提供することを目的の一つとする。
【課題を解決するための手段】
【0005】
一実施形態に係る表示装置は、複数の発光素子と、前記複数の発光素子に重なる複数のレンズと、前記複数の発光素子と前記複数のレンズとの間において、前記複数のレンズが配置された第1主面を有する第1保護層と、を備える。前記第1主面は、前記複数のレンズに向けて突出する複数の突起部を含む凹凸パターンを有している。
【0006】
他の実施形態に係る表示装置は、複数の発光素子と、前記複数の発光素子に重なる複数のレンズと、前記複数の発光素子と前記複数のレンズとの間に配置された第1保護層と、前記第1保護層と前記複数のレンズとの間において、前記複数のレンズが配置された第2主面を有する下地層と、を備える。前記下地層は、前記第1保護層よりも大きな撥油性、または前記第1保護層よりも大きな撥水性の少なくとも一方を有している。
【0007】
さらに他の実施形態に係る表示装置は、複数の発光素子と、前記複数の発光素子に重なる複数のレンズと、前記複数の発光素子と前記複数のレンズとの間において、前記複数のレンズが配置された第1主面を有する第1保護層と、前記第1主面に配置された、前記レンズと同等の屈折率を有する土手層と、を備える。前記土手層は、前記レンズに重なる開口部を有している。
【図面の簡単な説明】
【0008】
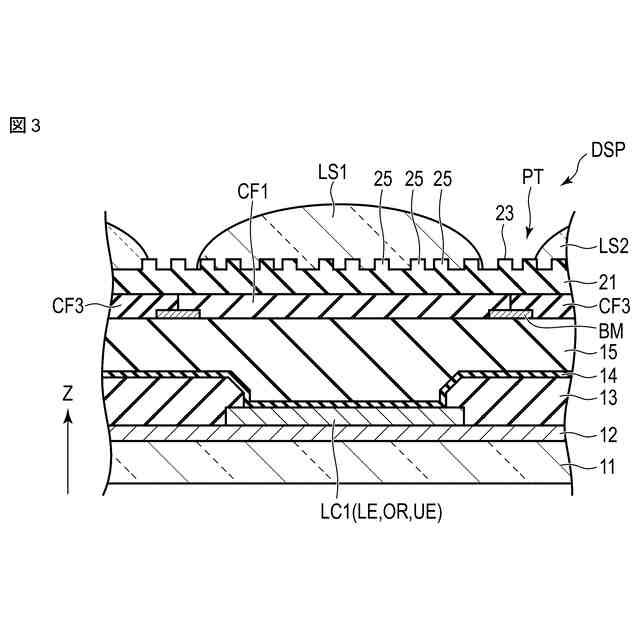
図1は、第1実施形態に係る表示装置を示す概略的な平面図である。
図2は、発光素子およびレンズのレイアウトの一例を示す平面図である。
図3は、第1実施形態に係る表示装置の構成例を示す断面図である。
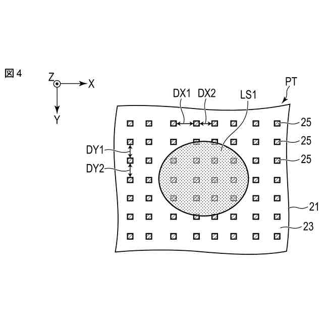
図4は、凹凸パターンを説明するための図である。
図5は、表示装置の製造工程を説明するための図である。
図6は、表示装置の製造工程を説明するための図である。
図7は、表示装置の製造工程を説明するための図である。
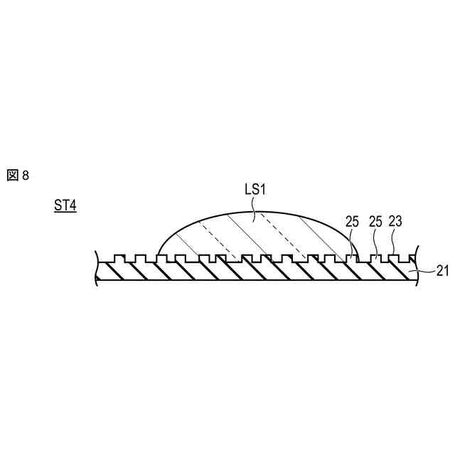
図8は、表示装置の製造工程を説明するための図である。
図9は、凹凸パターンの他の例を説明するための図である。
図10は、凹凸パターンのさらに他の例を説明するための図である。
図11は、凹凸パターンのさらに他の例を説明するための図である。
図12は、第2実施形態に係る表示装置を示す概略的な断面図である。
図13は、第3実施形態に係る表示装置を示す概略的な断面図である。
図14は、第3実施形態に係る表示装置を示す概略的な断面図である。
図15は、第4実施形態に係る表示装置を示す概略的な断面図である。
図16は、土手層のパターンを説明するための図である。
図17は、土手層のパターンを説明するための図である。
図18は、第5実施形態に係る表示装置を示す概略的な断面図である。
【発明を実施するための形態】
【0009】
以下、各実施形態について、図面を参照しながら説明する。なお、開示はあくまで一例に過ぎず、当業者において、発明の主旨を保っての適宜変更について容易に想到し得るものについては、当然に本発明の範囲に含有されるものである。また、図面は、説明をより明確にするため、実際の態様に比べて、各部の幅、厚さ、形状などについて模式的に表される場合があるが、あくまで一例であって、本発明の解釈を限定するものではない。また、本明細書と各図において、既出の図に関して前述したものと同一または類似した機能を発揮する構成要素には同一の参照符号を付し、重複する詳細な説明を適宜省略することがある。
【0010】
なお、図面には、必要に応じて理解を容易にするために、互いに直交するX軸、Y軸およびZ軸を記載する。X軸に沿った方向を第1方向Xと称し、Y軸に沿った方向を第2方向Yと称し、Z軸に沿った方向を第3方向Zと称する。第3方向Zと平行に各種要素を見ることを平面視という。
(【0011】以降は省略されています)
この特許をJ-PlatPat(特許庁公式サイト)で参照する
関連特許
個人
英語教材
6日前
日本精機株式会社
表示装置
1か月前
個人
計算用教具
29日前
中国電力株式会社
標示旗
1か月前
個人
モデルで薔薇の花嫁様を描く為
1か月前
日本精機株式会社
車両用センサ装置
29日前
個人
微細構造を模した理科学習教材
12日前
シャープ株式会社
表示装置
1か月前
ニチレイマグネット株式会社
サイン器具
4日前
株式会社ウメラボ
学習支援システム
19日前
株式会社ウメラボ
学習支援システム
25日前
ニチレイマグネット株式会社
磁着式電飾装置
1か月前
朝日インテック株式会社
ラベルシート
4日前
リンテック株式会社
表示体
18日前
シャープ株式会社
表示装置
5日前
株式会社リコー
画像投射システム
1か月前
株式会社イリオスNOTO
シート保管具
4日前
学校法人関西医科大学
腹腔鏡手術訓練装置
1か月前
シチズンファインデバイス株式会社
液晶表示装置
1か月前
国立大学法人秋田大学
運転シミュレータ
5日前
セイコーエプソン株式会社
表示方法
1か月前
セイコーエプソン株式会社
表示方法
1か月前
リンテック株式会社
粘着ラベル
19日前
ローム株式会社
暗号化装置
19日前
キヤノン株式会社
発光装置
1か月前
TOPPANホールディングス株式会社
ラベル
29日前
公立大学法人札幌市立大学
化学構造模型
20日前
株式会社JVCケンウッド
液晶表示装置および制御方法
14日前
セイコーエプソン株式会社
投射型表示装置
19日前
アルプスアルパイン株式会社
表示装置
7日前
株式会社半導体エネルギー研究所
表示装置、画像データの処理方法
29日前
アルプスアルパイン株式会社
情報処理システム
20日前
セイコーエプソン株式会社
表示装置及び電子機器
19日前
日本放送協会
情報提示システム、領域抽出装置及びプログラム
18日前
日本放送協会
情報提示システム、領域抽出装置及びプログラム
4日前
セイコーエプソン株式会社
表示装置及び電子機器
1か月前
続きを見る
他の特許を見る