TOP
|
特許
|
意匠
|
商標
特許ウォッチ
Twitter
他の特許を見る
10個以上の画像は省略されています。
公開番号
2025169703
公報種別
公開特許公報(A)
公開日
2025-11-14
出願番号
2024074687
出願日
2024-05-02
発明の名称
ディスプレイカバー
出願人
TOPPANホールディングス株式会社
代理人
個人
,
個人
,
個人
主分類
G09F
13/04 20060101AFI20251107BHJP(教育;暗号方法;表示;広告;シール)
要約
【課題】建築壁の正面側から支持部材が視認されることを抑制できるディスプレイカバーを提供することである。
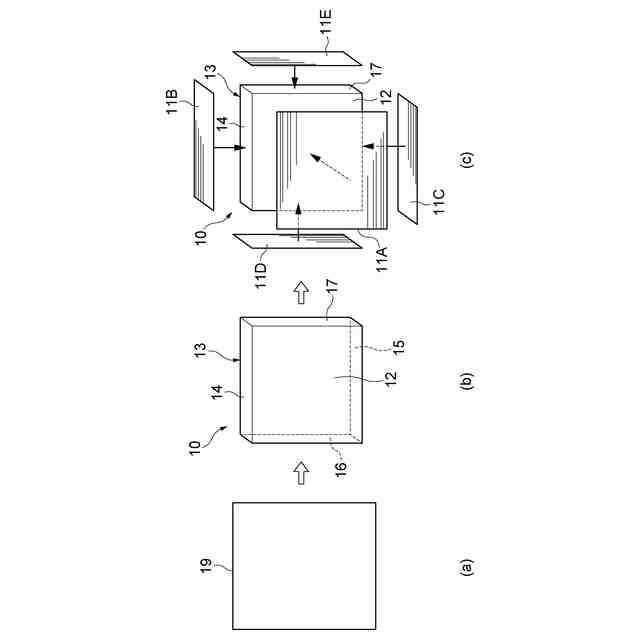
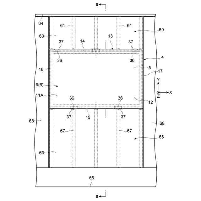
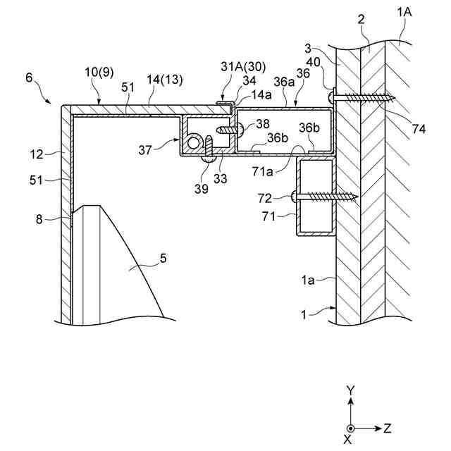
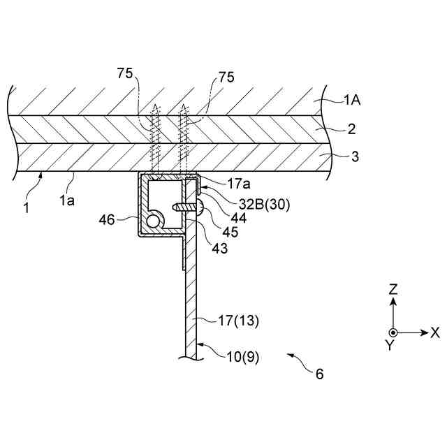
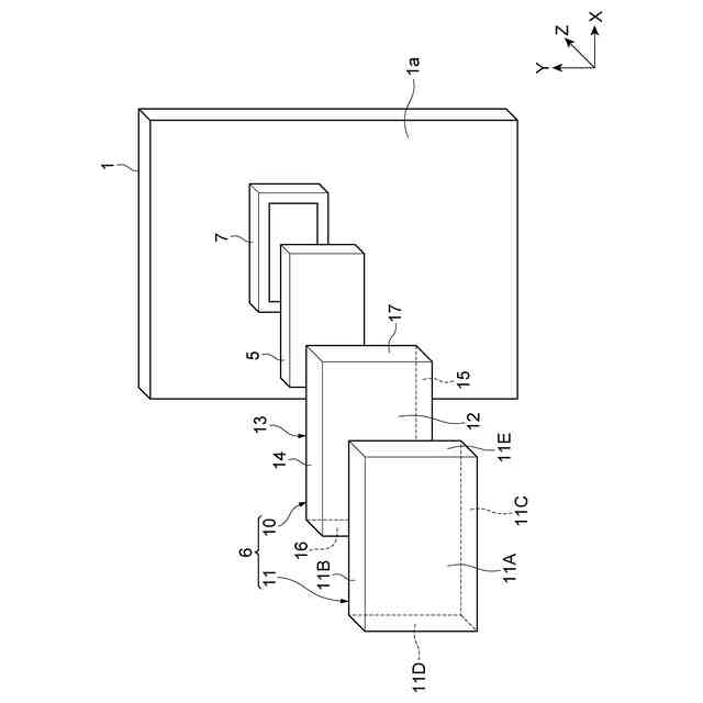
【解決手段】ディスプレイカバー6は、ディスプレイ5を収容するように配置され、ディスプレイ5から出射される光を透過する筐体10と、筐体10の表面上に設けられ、光を透過する化粧シート11と、を備え、筐体10は、ディスプレイ5と向かい合うように配置される正面板12と、ディスプレイ5を取り囲むように正面板12の周縁部から建築壁1に向けて立設する側板13と、を有し、化粧シート11は、少なくとも正面板12の表面上に設けられており、側板13における正面板12とは反対側の端部には、筐体10を建築壁1に支持するための支持部材30が固定されている。
【選択図】図6
特許請求の範囲
【請求項1】
建築壁に設置されたディスプレイを覆うディスプレイカバーであって、
前記ディスプレイを収容するように配置され、前記ディスプレイから出射される光を透過する筐体と、
前記筐体の表面上に設けられ、前記光を透過する化粧シートと、を備え、
前記筐体は、前記ディスプレイと向かい合うように配置される正面板と、前記ディスプレイを取り囲むように前記正面板の周縁部から前記建築壁に向けて立設する側板と、を有し、
前記化粧シートは、少なくとも前記正面板の表面上に設けられており、
前記側板における前記正面板とは反対側の端部には、前記筐体を前記建築壁に支持するための支持部材が固定されている、ディスプレイカバー。
続きを表示(約 270 文字)
【請求項2】
前記支持部材は、前記側板における前記正面板とは反対側の端面を覆う保護部を有する、請求項1に記載のディスプレイカバー。
【請求項3】
前記支持部材における前記正面板とは反対側に配置されるように前記支持部材に連結され、前記建築壁に取り付けられる取付金具を更に備える、請求項1に記載のディスプレイカバー。
【請求項4】
前記側板から前記支持部材に沿って前記取付金具まで延びると共に前記支持部材に連結され、前記建築壁に締結される締結部を有する取付板を更に備える、請求項3に記載のディスプレイカバー。
発明の詳細な説明
【技術分野】
【0001】
本発明は、ディスプレイカバーに関する。
続きを表示(約 1,600 文字)
【背景技術】
【0002】
例えば、特許文献1には、ディスプレイ等の光源と、光源の前方に設けられた印刷物である化粧シートとを備える表示装置が記載されている。化粧シートでは、ディスプレイが点灯していない場合は、化粧シートに印刷された絵柄が視認され、ディスプレイが点灯している場合は、ディスプレイからの透過光が視認される。
【先行技術文献】
【特許文献】
【0003】
特許7457089号公報
【発明の概要】
【発明が解決しようとする課題】
【0004】
ところで、上記従来技術のような表示装置は、建築壁に設置される場合がある。表示装置が建築壁に設置される場合は、建築壁に金属製のフレーム部材が支持され、フレーム部材にガラス等の板部材がディスプレイを覆うように取り付けられ、板部材の表面上に化粧シートが貼り付けられることが多い。しかしながら、この場合、板部材がフレーム部材(支持部材)に直接取り付けられているため、板部材と支持部材との距離が近く、建築壁の正面側から支持部材が視認されるおそれがあった。
【0005】
本発明の目的は、建築壁の正面側から支持部材が視認されることを抑制できるディスプレイカバーを提供することである。
【課題を解決するための手段】
【0006】
(1)本発明の一態様は、建築壁に設置されたディスプレイを覆うディスプレイカバーであって、ディスプレイを収容するように配置され、ディスプレイから出射される光を透過する筐体と、筐体の表面上に設けられ、光を透過する化粧シートと、を備え、筐体は、ディスプレイと向かい合うように配置される正面板と、ディスプレイを取り囲むように正面板の周縁部から建築壁に向けて立設する側板と、を有し、化粧シートは、少なくとも正面板の表面上に設けられており、側板における正面板とは反対側の端部には、筐体を建築壁に支持するための支持部材が固定されている。
【0007】
このようなディスプレイカバーにおいては、筐体が正面板及び側板を有しており、筐体を建築壁に支持するための支持部材が側板における正面板とは反対側の端部に固定されている。このため、正面板が支持部材に直接取り付けられている場合に比べて、支持部材が正面板から離れて配置されることになる。これにより、建築壁の正面側から支持部材が視認されることを抑制できる。また、側板に支持部材が固定されていることで、側板の剛性が高くなるため、側板の反り又は曲げが発生しにくくなる。
【0008】
(2)上記の(1)において、支持部材は、側板における正面板とは反対側の端面を覆う保護部を有してもよい。このような構成では、側板の端面が支持部材の保護部により保護されるため、側板の端面を起点とした筐体の損傷を抑制することができる。
【0009】
(3)上記の(1)または(2)において、ディスプレイカバーは、支持部材における正面板とは反対側に配置されるように支持部材に連結され、建築壁に取り付けられる取付金具を更に備えてもよい。このような構成では、支持部材に連結された取付金具を建築壁に取り付けることで、筐体を容易に建築壁に支持することができる。
【0010】
(4)上記の(3)において、ディスプレイカバーは、側板から支持部材に沿って取付金具まで延びると共に支持部材に連結され、建築壁に締結される締結部を有する取付板を更に備えてもよい。このような構成では、取付板の締結部を建築壁に締結することで、取付金具が取付板を介して建築壁に取り付けられる。従って、筐体を更に容易に建築壁に支持することができる。
【発明の効果】
(【0011】以降は省略されています)
この特許をJ-PlatPat(特許庁公式サイト)で参照する
関連特許
個人
教育のAI化
16日前
個人
英語教材
1か月前
個人
回転式カード学習具
2か月前
日本精機株式会社
表示装置
3か月前
個人
時刻表示機能つき手帳
3か月前
日本精機株式会社
表示装置
19日前
日本精機株式会社
表示装置
1か月前
個人
計算用教具
1か月前
中国電力株式会社
標示旗
2か月前
日本精機株式会社
車両用表示装置
3か月前
日本精機株式会社
車両用表示装置
3か月前
日本精機株式会社
車両用表示装置
25日前
日本精機株式会社
車両用表示装置
3か月前
個人
インフィニティミラー
17日前
個人
モデルで薔薇の花嫁様を描く為
2か月前
個人
微細構造を模した理科学習教材
1か月前
日本精機株式会社
車両用センサ装置
1か月前
日榮新化株式会社
対象物質感知シート
16日前
ニチレイマグネット株式会社
サイン器具
1か月前
株式会社一弘社
情報表示板
2か月前
シャープ株式会社
表示装置
2か月前
株式会社ウメラボ
学習支援システム
1か月前
株式会社ウメラボ
学習支援システム
1か月前
個人
音楽教材
3か月前
ニチレイマグネット株式会社
磁着式電飾装置
2か月前
日本精機株式会社
表示装置及びその製造方法
19日前
朝日インテック株式会社
ラベルシート
1か月前
株式会社半導体エネルギー研究所
半導体装置
3か月前
リンテック株式会社
表示体
1か月前
株式会社リコー
画像投射システム
2か月前
株式会社イリオスNOTO
シート保管具
1か月前
シャープ株式会社
表示装置
1か月前
朝日インテック株式会社
生体モデル装置
19日前
シチズンファインデバイス株式会社
液晶表示装置
2か月前
シチズンファインデバイス株式会社
液晶表示装置
3か月前
学校法人関西医科大学
腹腔鏡手術訓練装置
2か月前
続きを見る
他の特許を見る