TOP
|
特許
|
意匠
|
商標
特許ウォッチ
Twitter
他の特許を見る
公開番号
2025170970
公報種別
公開特許公報(A)
公開日
2025-11-20
出願番号
2024075856
出願日
2024-05-08
発明の名称
エンブレム
出願人
株式会社東海理化電機製作所
代理人
弁理士法人太陽国際特許事務所
主分類
G09F
13/18 20060101AFI20251113BHJP(教育;暗号方法;表示;広告;シール)
要約
【課題】発光した状態のアウタレンズの外周部に照度のむらが生じることを抑制する。
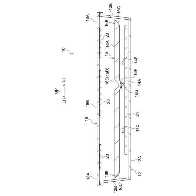
【解決手段】発光エンブレム10は、光源14Aと、光源14Aから照射された光が導光されるライトガイド16と、ライトガイド16から照射された光が透過することで発光するアウタレンズ18と、を備えている。ライトガイド16には、導光された光源14Aからの光をアウタレンズ18の外周部18Aの各部に向けてそれぞれ反射させる複数の反射面16Cが設けられている。
【選択図】図5
特許請求の範囲
【請求項1】
光源と、
前記光源から照射された光が導光されるライトガイドと、
前記ライトガイドから照射された光が透過することで発光するアウタレンズと、
を備え、
前記ライトガイドには、導光された前記光源からの光を前記アウタレンズの外周部の各部に向けてそれぞれ反射させる複数の反射面が設けられているエンブレム。
続きを表示(約 330 文字)
【請求項2】
前記ライトガイドにおいて隣合う2つの前記反射面の間には、前記光源からの光が向かう方向へ高さの差を有する段差が形成されている請求項1に記載のエンブレム。
【請求項3】
前記アウタレンズを正面から見て、前記アウタレンズの左右方向への最大寸法と上下方向への最大寸法とが互いに異なる寸法に設定されている請求項1に記載のエンブレム。
【請求項4】
前記ライトガイドを正面から見て、前記光源が前記ライトガイドの図心とは異なる位置に設けられている請求項1に記載のエンブレム。
【請求項5】
前記ライトガイドを正面から見て、各々の前記反射面と前記光源からの光が向かう方向とが直交している請求項1に記載のエンブレム。
発明の詳細な説明
【技術分野】
【0001】
本発明は、エンブレムに関する。
続きを表示(約 1,100 文字)
【背景技術】
【0002】
下記特許文献1には、車体に固定されるロアカバーと、ロアカバーの上面に積層されたアッパーカバーと、アッパーカバーの上面に積層されるエンブレム本体と、ロアカバーとアッパーカバーとの間に設けられた光源と、を備えたエンブレムが開示されている。この文献に記載されたエンブレムでは、光源が発光することで、エンブレムの内周部及び外周部を発光表示させることが可能となっている。
【0003】
ところで、限られた数の光源によってエンブレムの外周部を発光させると、発光した状態のエンブレム(アウタレンズ)の外周部に照度のむらが生じることが考えられるが、下記特許文献1に記載された構成にはこの点で改善の余地がある。
【先行技術文献】
【特許文献】
【0004】
特開2012-126339号公報
【発明の概要】
【発明が解決しようとする課題】
【0005】
本発明は上記事実を考慮し、発光した状態のアウタレンズの外周部に照度のむらが生じることを抑制することができるエンブレムを得ることを目的とする。
【課題を解決するための手段】
【0006】
第1の態様のエンブレムは、光源と、前記光源から照射された光が導光されるライトガイドと、前記ライトガイドから照射された光が透過することで発光するアウタレンズと、を備え、前記ライトガイドには、導光された前記光源からの光を前記アウタレンズの外周部の各部に向けてそれぞれ反射させる複数の反射面が設けられている。
【0007】
第2の態様のエンブレムは、第1の態様のエンブレムにおいて、前記ライトガイドにおいて隣合う2つの前記反射面の間には、前記光源からの光が向かう方向へ高さの差を有する段差が形成されている。
【0008】
第3の態様のエンブレムは、第1の態様又は第2の態様のエンブレムにおいて、前記アウタレンズを正面から見て、前記アウタレンズの左右方向への最大寸法と上下方向への最大寸法とが互いに異なる寸法に設定されている。
【0009】
第4の態様のエンブレムは、第1の態様~第3の態様のいずれか1つの態様のエンブレムにおいて、前記ライトガイドを正面から見て、前記光源が前記ライトガイドの図心とは異なる位置に設けられている。
【0010】
第5の態様のエンブレムは、第1の態様~第4の態様のいずれか1つの態様のエンブレムにおいて、前記ライトガイドを正面から見て、各々の前記反射面と前記光源からの光が向かう方向とが直交している。
【発明の効果】
(【0011】以降は省略されています)
この特許をJ-PlatPat(特許庁公式サイト)で参照する
関連特許
個人
教育のAI化
16日前
個人
英語教材
1か月前
個人
回転式カード学習具
2か月前
日本精機株式会社
表示装置
19日前
日本精機株式会社
表示装置
3か月前
日本精機株式会社
表示装置
1か月前
個人
計算用教具
1か月前
中国電力株式会社
標示旗
2か月前
個人
インフィニティミラー
17日前
日本精機株式会社
車両用表示装置
3か月前
日本精機株式会社
車両用表示装置
25日前
個人
モデルで薔薇の花嫁様を描く為
2か月前
日本精機株式会社
車両用センサ装置
1か月前
個人
微細構造を模した理科学習教材
1か月前
日榮新化株式会社
対象物質感知シート
16日前
株式会社一弘社
情報表示板
2か月前
ニチレイマグネット株式会社
サイン器具
1か月前
シャープ株式会社
表示装置
2か月前
個人
音楽教材
3か月前
株式会社ウメラボ
学習支援システム
1か月前
株式会社ウメラボ
学習支援システム
1か月前
朝日インテック株式会社
ラベルシート
1か月前
日本精機株式会社
表示装置及びその製造方法
19日前
ニチレイマグネット株式会社
磁着式電飾装置
2か月前
株式会社リコー
画像投射システム
2か月前
株式会社イリオスNOTO
シート保管具
1か月前
シャープ株式会社
表示装置
1か月前
リンテック株式会社
表示体
1か月前
朝日インテック株式会社
生体モデル装置
19日前
BEST株式会社
吊り下げ表示部材
3か月前
シチズンファインデバイス株式会社
液晶表示装置
2か月前
学校法人関西医科大学
腹腔鏡手術訓練装置
2か月前
シチズンファインデバイス株式会社
液晶表示装置
3か月前
株式会社サンゲツ
見本帳
3か月前
シャープ株式会社
表示装置
3か月前
国立大学法人秋田大学
運転シミュレータ
1か月前
続きを見る
他の特許を見る