TOP
|
特許
|
意匠
|
商標
特許ウォッチ
Twitter
他の特許を見る
公開番号
2025166932
公報種別
公開特許公報(A)
公開日
2025-11-07
出願番号
2024071141
出願日
2024-04-25
発明の名称
情報処理方法、情報処理装置、及び情報処理プログラム
出願人
株式会社コノセル
代理人
個人
主分類
G09B
7/02 20060101AFI20251030BHJP(教育;暗号方法;表示;広告;シール)
要約
【課題】効率的な学習の実施を支援する。
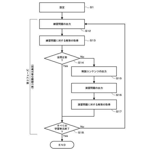
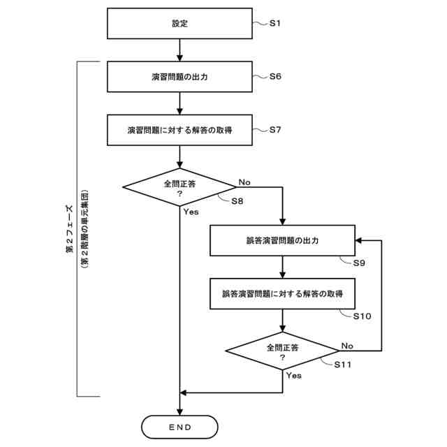
【解決手段】第1フェーズにおいて、第1階層の単元集団に含まれる学習単元に関する練習問題及び演習問題を出力し、第2フェーズにおいて、複数の第1階層の単元集団に含まれる学習単元の集まりとして構成される第2階層の単元集団に含まれる学習単元に関して第1フェーズにおいて出力した演習問題を出力し、第3フェーズにおいて、複数の第2階層の単元集団に含まれる学習単元の集まりとして構成される第3階層の単元集団に含まれる学習単元に関して第1フェーズにおいて出力した練習問題を出力するとともに出力した練習問題に対するユーザの解答を取得し、取得したユーザの解答が誤りである場合に、練習問題に対応する学習単元に関する解説コンテンツを出力するとともに、練習問題に対応する学習単元に関して第1フェーズにおいて出力した演習問題を出力する。
【選択図】図1
特許請求の範囲
【請求項1】
情報処理装置によって実行される方法であり、
第1フェーズにおいて、第1階層の単元集団に含まれる学習単元に関する解説コンテンツを出力するとともに、前記第1階層の単元集団に含まれる前記学習単元に関する練習問題及び演習問題を出力し、
第2フェーズにおいて、複数の前記第1階層の単元集団に含まれる前記学習単元の集まりとして構成される第2階層の単元集団に含まれる学習単元に関して前記第1フェーズにおいて出力した前記演習問題を出力し、
第3フェーズにおいて、
複数の前記第2階層の単元集団に含まれる前記学習単元の集まりとして構成される第3階層の単元集団に含まれる学習単元に関して前記第1フェーズにおいて出力した前記練習問題を出力するとともに出力した前記練習問題に対するユーザの解答を取得し、
取得した前記ユーザの解答が誤りである場合に、前記練習問題に対応する学習単元に関する前記解説コンテンツを出力するとともに、前記練習問題に対応する前記学習単元に関して前記第1フェーズにおいて出力した前記演習問題を出力する、
ことを特徴とする情報処理方法。
続きを表示(約 1,900 文字)
【請求項2】
前記第2フェーズにおいて、前記第2階層の単元集団に含まれる学習単元に関して出力した前記演習問題に対するユーザの解答を取得し、取得した前記ユーザの解答が誤りである前記演習問題を、取得した前記ユーザの解答が正解になるまで繰り返し出力する、
ことを特徴とする請求項1に記載の情報処理方法。
【請求項3】
前記第3フェーズにおいて、前記第3階層の単元集団に含まれる学習単元に関して出力した前記練習問題に対するユーザの解答を取得し、取得した前記ユーザの解答が誤りである前記練習問題に対応する学習単元に関する前記解説コンテンツの出力と、取得した前記ユーザの解答が誤りである前記練習問題に対応する前記学習単元に関して前記第1フェーズにおいて出力した前記演習問題の出力とを、取得した前記ユーザの解答が正解になるまで繰り返す、
ことを特徴とする請求項1に記載の情報処理方法。
【請求項4】
前記第1フェーズにおいて前記ユーザが前記解説コンテンツを適切に視聴したか否かに関する判定の結果と、前記第3フェーズにおいて前記ユーザが前記解説コンテンツを適切に視聴したか否かに関する判定の結果とのうちの少なくとも一方を、前記情報処理装置と通信可能に接続される管理者端末へと向けて出力する、
ことを特徴とする請求項1に記載の情報処理方法。
【請求項5】
前記第2フェーズにおいて取得した前記ユーザの解答の正答率と、前記第3フェーズにおいて取得した前記ユーザの解答の正答率とのうちの少なくとも一方を、前記情報処理装置と通信可能に接続される管理者端末へと向けて出力する、
ことを特徴とする請求項2に記載の情報処理方法。
【請求項6】
解説コンテンツを出力する解説出力手段と、
問題コンテンツを出力する問題出力手段と、
前記問題出力手段から出力した前記問題コンテンツに対するユーザの解答を取得する解答取得手段と、を有し、
第1フェーズにおいて、前記解説出力手段が、第1階層の単元集団に含まれる学習単元に関する前記解説コンテンツを出力するとともに、前記問題出力手段が、前記問題コンテンツとして、前記第1階層の単元集団に含まれる前記学習単元に関する練習問題及び演習問題を出力し、
第2フェーズにおいて、前記問題出力手段が、前記問題コンテンツとして、複数の前記第1階層の単元集団に含まれる前記学習単元の集まりとして構成される第2階層の単元集団に含まれる学習単元に関して前記第1フェーズにおいて出力した前記演習問題を出力し、
第3フェーズにおいて、
前記問題出力手段が、前記問題コンテンツとして、複数の前記第2階層の単元集団に含まれる前記学習単元の集まりとして構成される第3階層の単元集団に含まれる学習単元に関して前記第1フェーズにおいて出力した前記練習問題を出力するとともに、
前記解答取得手段が、前記問題出力手段から出力した前記練習問題に対するユーザの解答を取得し、
前記解答取得手段によって取得した前記ユーザの解答が誤りである場合に、
前記解説出力手段が、前記練習問題に対応する学習単元に関する前記解説コンテンツを出力するとともに、
前記問題出力手段が、前記練習問題に対応する前記学習単元に関して前記第1フェーズにおいて出力した前記演習問題を出力する、
ことを特徴とする情報処理装置。
【請求項7】
第1フェーズにおいて、第1階層の単元集団に含まれる学習単元に関する解説コンテンツを出力する処理、並びに、前記第1階層の単元集団に含まれる前記学習単元に関する練習問題及び演習問題を出力する処理、
第2フェーズにおいて、複数の前記第1階層の単元集団に含まれる前記学習単元の集まりとして構成される第2階層の単元集団に含まれる学習単元に関して前記第1フェーズにおいて出力した前記演習問題を出力する処理、
第3フェーズにおいて、
複数の前記第2階層の単元集団に含まれる前記学習単元の集まりとして構成される第3階層の単元集団に含まれる学習単元に関して前記第1フェーズにおいて出力した前記練習問題を出力する処理、及び、出力した前記練習問題に対するユーザの解答を取得する処理、
並びに、取得した前記ユーザの解答が誤りである場合に、前記練習問題に対応する学習単元に関する前記解説コンテンツを出力する処理、及び、前記練習問題に対応する前記学習単元に関して前記第1フェーズにおいて出力した前記演習問題を出力する処理、
を情報処理装置に実行させることを特徴とする情報処理プログラム。
発明の詳細な説明
【技術分野】
【0001】
本発明は、学習の支援に用いられて好適な情報処理方法、情報処理装置、及び情報処理プログラムに関する。
続きを表示(約 1,700 文字)
【背景技術】
【0002】
学習の支援に用いられる従来の技術として、通信教育システムを構成するサーバを実現するコンピュータ装置に、操作端末から取得した学習対象者の識別情報に基づいて、当該学習対象者が使用する教材を特定するとともに当該学習対象者の学習の進捗状況を特定し、特定した教材に該当する講座ごとに、特定した進捗状況に応じた難易度または重要度の問題コンテンツを抽出し、抽出した問題コンテンツを操作端末において再生させる学習コンテンツを、学習対象者の識別情報の送信元となる操作端末に送信する、処理を実行させる学習支援プログラムが知られている(特許文献1参照)。
【先行技術文献】
【特許文献】
【0003】
特開2015-102556号公報
【発明の概要】
【発明が解決しようとする課題】
【0004】
しかしながら、上記の従来技術では、効率的な学習の実施を支援するという面において十分であるとは言えない、という問題がある。
【0005】
そこで本発明は、1つの側面では、効率的な学習の実施を支援することが可能な技術を提供することを目的とする。
【課題を解決するための手段】
【0006】
上記課題を解決するため、本発明に係る情報処理方法は、情報処理装置によって実行される方法であり、第1フェーズにおいて、第1階層の単元集団に含まれる学習単元に関する解説コンテンツを出力するとともに、前記第1階層の単元集団に含まれる前記学習単元に関する練習問題及び演習問題を出力し、第2フェーズにおいて、複数の前記第1階層の単元集団に含まれる前記学習単元の集まりとして構成される第2階層の単元集団に含まれる学習単元に関して前記第1フェーズにおいて出力した前記演習問題を出力し、第3フェーズにおいて、複数の前記第2階層の単元集団に含まれる前記学習単元の集まりとして構成される第3階層の単元集団に含まれる学習単元に関して前記第1フェーズにおいて出力した前記練習問題を出力するとともに出力した前記練習問題に対するユーザの解答を取得し、取得した前記ユーザの解答が誤りである場合に、前記練習問題に対応する学習単元に関する前記解説コンテンツを出力するとともに、前記練習問題に対応する前記学習単元に関して前記第1フェーズにおいて出力した前記演習問題を出力する、ようにしてもよい。
【0007】
本発明に係る情報処理方法は、前記第2フェーズにおいて、前記第2階層の単元集団に含まれる学習単元に関して出力した前記演習問題に対するユーザの解答を取得し、取得した前記ユーザの解答が誤りである前記演習問題を、取得した前記ユーザの解答が正解になるまで繰り返し出力する、ようにしてもよい。
【0008】
本発明に係る情報処理方法は、前記第3フェーズにおいて、前記第3階層の単元集団に含まれる学習単元に関して出力した前記練習問題に対するユーザの解答を取得し、取得した前記ユーザの解答が誤りである前記練習問題に対応する学習単元に関する前記解説コンテンツの出力と、取得した前記ユーザの解答が誤りである前記練習問題に対応する前記学習単元に関して前記第1フェーズにおいて出力した前記演習問題の出力とを、取得した前記ユーザの解答が正解になるまで繰り返す、ようにしてもよい。
【0009】
本発明に係る情報処理方法は、前記第1フェーズにおいて前記ユーザが前記解説コンテンツを適切に視聴したか否かに関する判定の結果と、前記第3フェーズにおいて前記ユーザが前記解説コンテンツを適切に視聴したか否かに関する判定の結果とのうちの少なくとも一方を、前記情報処理装置と通信可能に接続される管理者端末へと向けて出力する、ようにしてもよい。
【0010】
本発明に係る情報処理方法は、前記第2フェーズにおいて取得した前記ユーザの解答の正答率と、前記第3フェーズにおいて取得した前記ユーザの解答の正答率とのうちの少なくとも一方を、前記情報処理装置と通信可能に接続される管理者端末へと向けて出力する、ようにしてもよい。
(【0011】以降は省略されています)
この特許をJ-PlatPat(特許庁公式サイト)で参照する
関連特許
株式会社コノセル
情報処理方法、情報処理装置、及び情報処理プログラム
16日前
個人
教育のAI化
16日前
個人
英語教材
1か月前
個人
回転式カード学習具
2か月前
日本精機株式会社
表示装置
1か月前
日本精機株式会社
表示装置
19日前
個人
計算用教具
1か月前
中国電力株式会社
標示旗
2か月前
個人
インフィニティミラー
17日前
日本精機株式会社
車両用表示装置
25日前
個人
微細構造を模した理科学習教材
1か月前
日本精機株式会社
車両用センサ装置
1か月前
個人
モデルで薔薇の花嫁様を描く為
2か月前
日榮新化株式会社
対象物質感知シート
16日前
ニチレイマグネット株式会社
サイン器具
1か月前
株式会社一弘社
情報表示板
2か月前
シャープ株式会社
表示装置
2か月前
株式会社ウメラボ
学習支援システム
1か月前
株式会社ウメラボ
学習支援システム
1か月前
日本精機株式会社
表示装置及びその製造方法
19日前
朝日インテック株式会社
ラベルシート
1か月前
ニチレイマグネット株式会社
磁着式電飾装置
2か月前
シャープ株式会社
表示装置
1か月前
株式会社イリオスNOTO
シート保管具
1か月前
リンテック株式会社
表示体
1か月前
朝日インテック株式会社
生体モデル装置
19日前
株式会社リコー
画像投射システム
2か月前
シチズンファインデバイス株式会社
液晶表示装置
2か月前
学校法人関西医科大学
腹腔鏡手術訓練装置
2か月前
国立大学法人秋田大学
運転シミュレータ
1か月前
セイコーエプソン株式会社
表示方法
2か月前
セイコーエプソン株式会社
表示方法
2か月前
ローム株式会社
半導体装置およびシステム
3日前
リンテック株式会社
粘着ラベル
1か月前
ヘラマンタイトン株式会社
シート状部材保持具
4日前
キヤノン株式会社
発光装置
1か月前
続きを見る
他の特許を見る