TOP
|
特許
|
意匠
|
商標
特許ウォッチ
Twitter
他の特許を見る
公開番号
2025170971
公報種別
公開特許公報(A)
公開日
2025-11-20
出願番号
2024075857
出願日
2024-05-08
発明の名称
エンブレム
出願人
株式会社東海理化電機製作所
代理人
弁理士法人太陽国際特許事務所
主分類
G09F
13/18 20060101AFI20251113BHJP(教育;暗号方法;表示;広告;シール)
要約
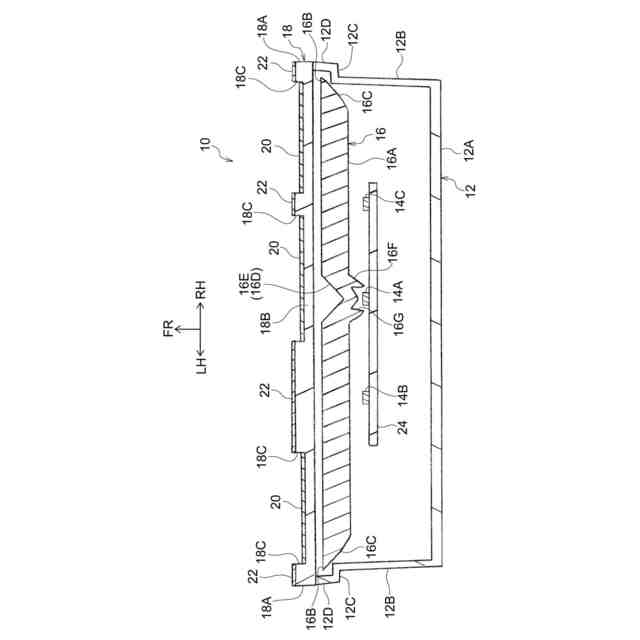
【課題】発光した状態のアウタレンズの外周部に照度のむらが生じることを抑制する。
【解決手段】発光エンブレム10は、光源14Aと、光源14Aから照射された光が導光されるライトガイド16と、その内部において光を拡散させる拡散材を含んで構成されライトガイド16から照射された光が透過することで発光するアウタレンズ18と、ライトガイド16が格納されていると共にアウタレンズ18の外周部が接合されることで、アウタレンズ18との間にライトガイド16が配置される空間が形成されるハウジング12と、を備えている。光源14Aは、アウタレンズ18側から見てアウタレンズ18の内周部18B側に配置されている。
【選択図】図2
特許請求の範囲
【請求項1】
光源と、
前記光源から照射された光が導光されるライトガイドと、
その内部において光を拡散させる拡散材を含んで構成され、前記ライトガイドから照射された光が透過することで発光するアウタレンズと、
前記ライトガイドが格納されていると共に前記アウタレンズの外周部が接合されることで、前記アウタレンズとの間に前記ライトガイドが配置される空間が形成されるハウジングと、
を備え、
前記光源は、前記アウタレンズ側から見て前記アウタレンズの内周部側に配置されていると共に、前記光源からの光は、前記ライトガイドの外周部に導光され、
前記ライトガイドに導光された前記光源からの光が、前記ライトガイドから前記アウタレンズの外周部に導光され、前記アウタレンズの外周部に導光された光が前記アウタレンズの外周部内において拡散されて前記アウタレンズの外周部を透過するエンブレム。
続きを表示(約 200 文字)
【請求項2】
前記アウタレンズの外周部における前記ハウジングとは反対側の面が、光が透過可能な被覆層によって覆われている請求項1に記載のエンブレム。
【請求項3】
前記被覆層が、金属製の蒸着膜となっている請求項2に記載のエンブレム。
【請求項4】
前記ライトガイドの外周部は、前記アウタレンズと前記ハウジングとの接合部に沿って配置されている請求項1に記載のエンブレム。
発明の詳細な説明
【技術分野】
【0001】
本発明は、エンブレムに関する。
続きを表示(約 1,500 文字)
【背景技術】
【0002】
下記特許文献1には、ハウジング内に設けられた光源(LED)の光がアウタレンズ(オーナメント)を透過することで発光するエンブレムが開示されている。
【0003】
ところで、アウタレンズにおいてハウジングとの接合部付近に対応する外周部を発光させる場合、アウタレンズにおいてハウジングとの接合部付近に光源を配置することが難しくなることが考えられる。この場合、発光した状態のアウタレンズの外周部に照度のむらが生じることが考えられるが、下記特許文献1に記載された構成にはこの点で改善の余地がある。
【先行技術文献】
【特許文献】
【0004】
特開2017-224413号公報
【発明の概要】
【発明が解決しようとする課題】
【0005】
本発明は上記事実を考慮し、発光した状態のアウタレンズの外周部に照度のむらが生じることを抑制することができるエンブレムを得ることを目的とする。
【課題を解決するための手段】
【0006】
第1の態様のエンブレムは、光源と、前記光源から照射された光が導光されるライトガイドと、その内部において光を拡散させる拡散材を含んで構成され、前記ライトガイドから照射された光が透過することで発光するアウタレンズと、前記ライトガイドが格納されていると共に前記アウタレンズの外周部が接合されることで、前記アウタレンズとの間に前記ライトガイドが配置される空間が形成されるハウジングと、を備え、前記光源は、前記アウタレンズ側から見て前記アウタレンズの内周部側に配置されていると共に、前記光源からの光は、前記ライトガイドの外周部に導光され、前記ライトガイドに導光された前記光源からの光が、前記ライトガイドから前記アウタレンズの外周部に導光され、前記アウタレンズの外周部に導光された光が前記アウタレンズの外周部内において拡散されて前記アウタレンズの外周部を透過する。
【0007】
第2の態様のエンブレムは、第1の態様のエンブレムにおいて、前記アウタレンズの外周部における前記ハウジングとは反対側の面が、光が透過可能な被覆層によって覆われている。
【0008】
第3の態様のエンブレムは、第2の態様のエンブレムにおいて、前記被覆層が、金属製の蒸着膜となっている。
【0009】
第4の態様のエンブレムは、第1の態様~第3の態様のいずれか1つの態様のエンブレムにおいて、前記ライトガイドの外周部は、前記アウタレンズと前記ハウジングとの接合部に沿って配置されている。
【発明の効果】
【0010】
第1の態様のエンブレムでは、光源から照射された光はライトガイドに導光される。また、ライトガイドに導光された光源の光は、ライトガイドからアウタレンズの外周部に導光される。さらに、アウタレンズの外周部に導光された光がアウタレンズの外周部内において拡散されてアウタレンズの外周部を透過する。このように、第1の態様のエンブレムでは、光源がアウタレンズ側から見て当該アウタレンズの内周部側に配置されている構成であっても、アウタレンズの外周部に光源からの光を導光させることができる。また、アウタレンズの外周部に導光された光を当該アウタレンズの外周部内において拡散されて当該アウタレンズの外周部を透過させることができる。これにより、発光した状態のアウタレンズの外周部に照度のむらが生じることを抑制することができる。
(【0011】以降は省略されています)
この特許をJ-PlatPat(特許庁公式サイト)で参照する
関連特許
個人
教育のAI化
16日前
個人
英語教材
1か月前
個人
回転式カード学習具
2か月前
日本精機株式会社
表示装置
1か月前
個人
時刻表示機能つき手帳
3か月前
日本精機株式会社
表示装置
19日前
日本精機株式会社
表示装置
3か月前
個人
計算用教具
1か月前
中国電力株式会社
標示旗
2か月前
個人
インフィニティミラー
17日前
日本精機株式会社
車両用表示装置
3か月前
日本精機株式会社
車両用表示装置
3か月前
日本精機株式会社
車両用表示装置
3か月前
日本精機株式会社
車両用表示装置
25日前
日本精機株式会社
車両用センサ装置
1か月前
個人
モデルで薔薇の花嫁様を描く為
2か月前
個人
微細構造を模した理科学習教材
1か月前
日榮新化株式会社
対象物質感知シート
16日前
株式会社一弘社
情報表示板
2か月前
ニチレイマグネット株式会社
サイン器具
1か月前
シャープ株式会社
表示装置
2か月前
株式会社ウメラボ
学習支援システム
1か月前
個人
音楽教材
3か月前
株式会社ウメラボ
学習支援システム
1か月前
株式会社半導体エネルギー研究所
半導体装置
3か月前
ニチレイマグネット株式会社
磁着式電飾装置
2か月前
朝日インテック株式会社
ラベルシート
1か月前
日本精機株式会社
表示装置及びその製造方法
19日前
株式会社イリオスNOTO
シート保管具
1か月前
リンテック株式会社
表示体
1か月前
朝日インテック株式会社
生体モデル装置
19日前
シャープ株式会社
表示装置
1か月前
株式会社リコー
画像投射システム
2か月前
BEST株式会社
吊り下げ表示部材
3か月前
シチズンファインデバイス株式会社
液晶表示装置
2か月前
株式会社サンゲツ
見本帳
3か月前
続きを見る
他の特許を見る