TOP
|
特許
|
意匠
|
商標
特許ウォッチ
Twitter
他の特許を見る
10個以上の画像は省略されています。
公開番号
2025169722
公報種別
公開特許公報(A)
公開日
2025-11-14
出願番号
2024074737
出願日
2024-05-02
発明の名称
ディスプレイカバー
出願人
TOPPANホールディングス株式会社
代理人
個人
,
個人
,
個人
主分類
G09F
9/00 20060101AFI20251107BHJP(教育;暗号方法;表示;広告;シール)
要約
【課題】正面板の反りを抑制できるディスプレイカバーを提供することである。
【解決手段】ディスプレイカバー6は、ディスプレイ5と向かい合うように配置され、ディスプレイ5から出射される光を透過する樹脂製の正面板12と、正面板12の周縁部から建築壁1に向けて立設する樹脂製の側板13と、正面板12の表面上に設けられ、光を透過する化粧シート11と、側板13における正面板12とは反対側に複数のネジ35により固定され、ディスプレイカバー6を建築壁1に支持するための支持部材30と、を備え、側板13には、ネジ35の軸部35aが貫通する締結孔81,82が形成されており、締結孔81は、側板13の長手方向に沿って延びるような長円形状を呈している。
【選択図】図7
特許請求の範囲
【請求項1】
建築壁に設置されたディスプレイを覆うディスプレイカバーであって、
前記ディスプレイと向かい合うように配置され、前記ディスプレイから出射される光を透過する樹脂製の正面板と、
前記正面板の周縁部から前記建築壁に向けて立設する樹脂製の側板と、
前記正面板の表面上に設けられ、前記光を透過する化粧シートと、
前記側板における前記正面板とは反対側に複数の締結具により固定され、前記ディスプレイカバーを前記建築壁に支持するための支持部材と、を備え、
前記側板には、前記締結具の軸部が貫通する複数の締結孔が形成されており、
前記複数の締結孔のうち少なくとも1つは、前記側板の長手方向に沿って延びるような長円形状を呈している、ディスプレイカバー。
続きを表示(約 300 文字)
【請求項2】
前記複数の締結孔は、前記側板の長手方向の両端側部分に形成され、前記側板の長手方向に沿って延びるような長円形状の2つの第1締結孔と、前記側板における前記2つの第1締結孔の間に形成され、前記軸部と同等の径を有する円形状の第2締結孔と、を含む、請求項1に記載のディスプレイカバー。
【請求項3】
前記支持部材における前記正面板とは反対側に配置されるように前記支持部材に連結され、前記建築壁に取り付けられる複数の取付金具を更に備え、
前記取付金具は、前記複数の締結孔に対応する位置において前記支持部材に連結されている、請求項1に記載のディスプレイカバー。
発明の詳細な説明
【技術分野】
【0001】
本発明は、ディスプレイカバーに関する。
続きを表示(約 1,800 文字)
【背景技術】
【0002】
例えば、特許文献1には、ディスプレイ等の光源と、光源の前方に設けられた印刷物である化粧シートとを備える表示装置が記載されている。化粧シートでは、ディスプレイが点灯していない場合は、化粧シートに印刷された絵柄が視認され、ディスプレイが点灯している場合は、ディスプレイからの透過光が視認される。
【先行技術文献】
【特許文献】
【0003】
特許7457089号公報
【発明の概要】
【発明が解決しようとする課題】
【0004】
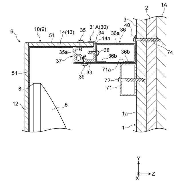
ところで、上記従来技術のような表示装置は、建築壁に設置される場合がある。この場合、ディスプレイを覆うディスプレイカバーは、例えば、ディスプレイと向かい合うように配置され、ディスプレイから出射される光を透過する正面板と、正面板の周縁部から建築壁に向けて立設する側板とを備えている。正面板及び側板が樹脂で形成されている場合、正面板及び側板は、ディスプレイから発生した熱や周辺環境の温度変化により伸縮する。ただし、ディスプレイカバーが建築壁に固定された状態では、正面板及び側板の伸縮が抑制されるため、正面板の熱伸びによる正面板の反りが発生するおそれがある。
【0005】
本発明の目的は、正面板の反りを抑制できるディスプレイカバーを提供することである。
【課題を解決するための手段】
【0006】
(1)本発明の一態様は、建築壁に設置されたディスプレイを覆うディスプレイカバーであって、ディスプレイと向かい合うように配置され、ディスプレイから出射される光を透過する樹脂製の正面板と、正面板の周縁部から建築壁に向けて立設する樹脂製の側板と、正面板の表面上に設けられ、光を透過する化粧シートと、側板における正面板とは反対側に複数の締結具により固定され、ディスプレイカバーを建築壁に支持するための支持部材と、を備え、側板には、締結具の軸部が貫通する複数の締結孔が形成されており、複数の締結孔のうち少なくとも1つは、側板の長手方向に沿って延びるような長円形状を呈している。
【0007】
このようなディスプレイカバーにおいては、支持部材を側板に固定するための締結具の軸部が貫通する複数の締結孔が側板に形成されており、複数の締結孔のうち少なくとも1つが側板の長手方向に沿って延びるような長円形状を呈している。これにより、ディスプレイカバーが建築壁に設置された状態において、側板が締結具に対して相対的に側板の長手方向に移動することができる。すなわち、側板の長手方向の伸縮が締結具によって拘束されることを抑制できる。よって、例えばディスプレイから熱が発生した場合であっても、側板の長手方向の伸縮に伴って正面板が側板の長手方向に対応する方向に伸縮するようになる。従って、正面板の熱伸びによる正面板の反りを抑制できる。
【0008】
(2)上記の(1)において、複数の締結孔は、側板の長手方向の両端側部分に形成され、側板の長手方向に沿って延びるような長円形状の2つの第1締結孔と、側板における2つの第1締結孔の間に形成され、軸部と同等の径を有する円形状の第2締結孔と、を含んでもよい。このような構成では、第2締結孔に軸部が貫通する締結具によって支持部材を側板に対して適切に位置決めしつつ、第1締結孔に軸部が貫通する締結具によって正面板の熱伸びによる正面板の反りを効果的に抑制できる。
【0009】
(3)上記の(1)または(2)において、ディスプレイカバーは、支持部材における正面板とは反対側に配置されるように支持部材に連結され、建築壁に取り付けられる複数の取付金具を更に備え、取付金具は、複数の締結孔に対応する位置において支持部材に連結されていてもよい。このような構成では、取付金具が複数の締結孔に対応する位置において支持部材に連結されているため、取付金具の連結位置と支持部材の固定位置(締結位置)とを合わせることができる。
【発明の効果】
【0010】
本発明によれば、正面板の反りを抑制できるディスプレイカバーの提供が可能となる。
【図面の簡単な説明】
(【0011】以降は省略されています)
この特許をJ-PlatPat(特許庁公式サイト)で参照する
関連特許
個人
教育のAI化
16日前
個人
英語教材
1か月前
個人
回転式カード学習具
2か月前
日本精機株式会社
表示装置
3か月前
日本精機株式会社
表示装置
19日前
日本精機株式会社
表示装置
1か月前
個人
計算用教具
1か月前
中国電力株式会社
標示旗
2か月前
個人
インフィニティミラー
17日前
日本精機株式会社
車両用表示装置
25日前
個人
モデルで薔薇の花嫁様を描く為
2か月前
日本精機株式会社
車両用センサ装置
1か月前
個人
微細構造を模した理科学習教材
1か月前
日榮新化株式会社
対象物質感知シート
16日前
ニチレイマグネット株式会社
サイン器具
1か月前
株式会社一弘社
情報表示板
2か月前
シャープ株式会社
表示装置
2か月前
株式会社ウメラボ
学習支援システム
1か月前
個人
音楽教材
3か月前
株式会社ウメラボ
学習支援システム
1か月前
日本精機株式会社
表示装置及びその製造方法
19日前
朝日インテック株式会社
ラベルシート
1か月前
ニチレイマグネット株式会社
磁着式電飾装置
2か月前
株式会社イリオスNOTO
シート保管具
1か月前
株式会社リコー
画像投射システム
2か月前
朝日インテック株式会社
生体モデル装置
19日前
シャープ株式会社
表示装置
1か月前
リンテック株式会社
表示体
1か月前
シチズンファインデバイス株式会社
液晶表示装置
2か月前
BEST株式会社
吊り下げ表示部材
3か月前
学校法人関西医科大学
腹腔鏡手術訓練装置
2か月前
株式会社サンゲツ
見本帳
3か月前
シャープ株式会社
表示装置
3か月前
国立大学法人秋田大学
運転シミュレータ
1か月前
ローム株式会社
半導体装置およびシステム
3日前
セイコーエプソン株式会社
表示方法
2か月前
続きを見る
他の特許を見る