TOP
|
特許
|
意匠
|
商標
特許ウォッチ
Twitter
他の特許を見る
10個以上の画像は省略されています。
公開番号
2025148919
公報種別
公開特許公報(A)
公開日
2025-10-08
出願番号
2024049282
出願日
2024-03-26
発明の名称
学習支援装置及びプログラム
出願人
大日本印刷株式会社
代理人
個人
,
個人
,
個人
主分類
G09B
7/04 20060101AFI20251001BHJP(教育;暗号方法;表示;広告;シール)
要約
【課題】テスト結果と併せて、所定の期間毎の学習の実績等を指導者に提示することで、学習指導や成績評価を支援する。
【解決手段】学習支援装置は、複数の問題と、当該問題の解答及び解説とを対応付けて記憶する。学習支援装置は、記憶部を参照し、複数の問題の中から類題を選択する。学習支援装置は、類題の中から一問を例題に設定し、設定された類題と、当該類題の解答及び解説とを、前記例題として出力する。次に、学習支援装置は、例題とは異なる類題の中から一問を演習問題に設定し、例題を出力した後、設定された類題を、演習問題として出力する。
【選択図】図4
特許請求の範囲
【請求項1】
複数の問題と、当該問題の解答及び解説とを対応付けて記憶する記憶部と、
前記記憶部を参照し、複数の問題の中から類題を選択する類題選択手段と、
前記類題の中から一問を例題に設定する例題設定手段と、
前記例題設定手段により設定された類題と、当該類題の解答及び解説とを、前記例題として出力する出力手段と、
前記例題とは異なる類題の中から一問を演習問題に設定する演習問題設定手段と、
を備え、
前記出力手段は、前記例題を出力した後、前記演習問題設定手段により設定された類題を、前記演習問題として出力する学習支援装置。
続きを表示(約 1,300 文字)
【請求項2】
ユーザが使用する端末装置と通信可能に接続されており、
前記出力手段は、前記例題と、前記演習問題とを、前記端末装置の1つの画面上に同時に表示させる請求項1に記載の学習支援装置。
【請求項3】
前記端末装置から、前記例題の非表示を要求する非表示要求を取得したか否かを判定する判定手段を備え、
前記出力手段は、前記判定手段により前記非表示要求を取得したと判定された場合に、前記例題を非表示とし、前記演習問題のみを前記画面上に表示させる請求項2に記載の学習支援装置。
【請求項4】
前記端末装置から、前記演習問題の解答及び解説の表示を要求する解答表示要求を取得したか否かを判定する判定手段を備え、
前記出力手段は、前記判定手段により前記解答表示要求を取得したと判定された場合に、前記演習問題の解答及び解説を出力し、当該演習問題と、当該演習問題の解答及び解説とを、前記例題と入れ替えて前記画面上に表示する請求項2に記載の学習支援装置。
【請求項5】
前記記憶部は、前記問題と、当該問題の学習要素及び難易度とを対応付けて記憶しており、
前記端末装置から、前記学習要素及び難易度を条件情報として取得する条件取得手段を備え、
前記類題選択手段は、前記記憶部を参照し、前記学習要素及び難易度が、前記条件情報に含まれる学習要素及び難易度と同じ問題を類題として選択する請求項2に記載の学習支援装置。
【請求項6】
前記問題に取り組んだ学習者の偏差値と、当該問題の正解率とを対応付けた結果情報を取得する結果情報取得手段と、
前記結果情報をもとに、前記問題の難易度を算出する算出手段と、を備える請求項5に記載の学習支援装置。
【請求項7】
前記算出手段は、前記正解率0.5に対応する偏差値を難易度とする請求項6に記載の学習支援装置。
【請求項8】
前記端末装置から、前記演習問題を要求する演習問題要求を取得したか否かを判定する判定手段を備え、
前記演習問題設定手段は、前記判定手段により前記演習問題要求を取得したと判定された場合に、前記例題及びすでに設定した前記演習問題とは異なる類題の中から一問を演習問題に設定する請求項2に記載の学習支援装置。
【請求項9】
コンピュータを備える学習支援装置により実行されるプログラムであって、
前記学習支援装置は、複数の問題と、当該問題の解答及び解説とを対応付けて記憶する記憶部を備え、
前記記憶部を参照し、複数の問題の中から類題を選択し、
前記類題の中から一問を例題に設定する例題設定処理を行い、
前記例題設定処理により設定された類題と、当該類題の解答及び解説とを、前記例題として出力し、
前記例題とは異なる類題の中から一問を演習問題に設定する演習問題設定処理を行い、
前記例題を出力した後、前記演習問題設定処理により設定された類題を、前記演習問題として出力する処理を前記コンピュータに実行させるプログラム。
発明の詳細な説明
【技術分野】
【0001】
本発明は、ユーザの学習を支援する技術に関する。
続きを表示(約 1,700 文字)
【背景技術】
【0002】
従来から、学習者の学力を図るためのテストと、その結果とを対応付けた学習履歴をデータベースに保存し、当該学習履歴を用いて学習を支援するシステムが知られている。特許文献1には、学習履歴を参照し、学習者の誤答問題と学力を考慮して類題や解説を提示する学習支援システムが開示されている。
【先行技術文献】
【特許文献】
【0003】
特開2002-287608号公報
【発明の概要】
【発明が解決しようとする課題】
【0004】
しかしながら、特許文献1に係る発明のように、出題する問題の難易度を学習者ごとに変えるだけでは、学習者の学習意欲を維持し、真の学力向上を図ることは困難である。
【0005】
本発明は、例えば、上記のような課題を解決するためになされたものであり、学習者に適切な学習コンテンツを提示することができる学習支援装置を提供することにある。
【課題を解決するための手段】
【0006】
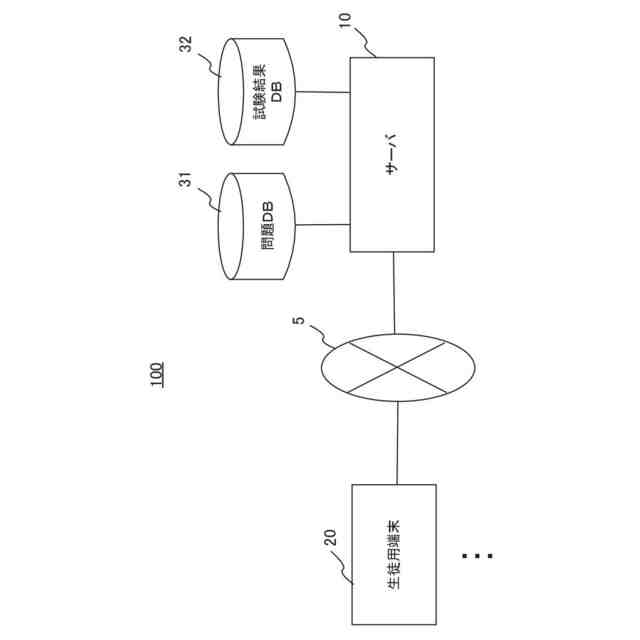
本発明の1つの観点では、学習支援装置は、複数の問題と、当該問題の解答及び解説とを対応付けて記憶する記憶部と、前記記憶部を参照し、複数の問題の中から類題を選択する類題選択手段と、前記類題の中から一問を例題に設定する例題設定手段と、前記例題設定手段により設定された類題と、当該類題の解答及び解説とを、前記例題として出力する出力手段と、前記例題とは異なる類題の中から一問を演習問題に設定する演習問題設定手段と、を備え、前記出力手段は、前記例題を出力した後、前記演習問題設定手段により設定された類題を、前記演習問題として出力する。この態様によれば、学習支援装置は、類題から設定した例題と演習問題を出力することができ、学習者に適切な学習コンテンツを提示することができる。
【0007】
上記の学習支援装置の一態様では、ユーザが使用する端末装置と通信可能に接続されており、前記出力手段は、前記例題と、前記演習問題とを、前記端末装置の1つの画面上に同時に表示させる。この態様によれば、ユーザは、同一画面において、例題により解法や学習内容を理解し、そのうえで、演習問題を実施することで理解を深めることができる。
【0008】
上記の学習支援装置の一態様では、前記端末装置から、前記例題の非表示を要求する非表示要求を取得したか否かを判定する判定手段を備え、前記判定手段により前記非表示要求を取得したと判定された場合に、前記出力手段は、前記例題を非表示とし、前記演習問題のみを前記画面上に表示させる。この態様によれば、ユーザは、例題を参照せずに演習問題に取り組むことができ、学習内容を本当に理解できたのか確認することができる。
【0009】
上記の学習支援装置の一態様では、前記端末装置から、前記演習問題の解答及び解説の表示を要求する解答表示要求を取得したか否かを判定する判定手段を備え、前記出力手段は、前記判定手段により前記解答表示要求を取得したと判定された場合に、前記演習問題の解答及び解説を出力し、当該演習問題と、当該演習問題の解答及び解説とを、前記例題と入れ替えて前記画面上に表示する。この態様によれば、ユーザは、自身の希望するタイミングで演習問題の解答及び解説を確認することができ、自己採点などを行うことができる。
【0010】
上記の学習支援装置の一態様では、前記記憶部は、前記問題と、当該問題の学習要素及び難易度とを対応付けて記憶しており、前記端末装置から、前記学習要素及び難易度を条件情報として取得する条件取得手段を備え、前記類題選択手段は、前記記憶部を参照し、前記学習要素及び難易度が、前記条件情報に含まれる学習要素及び難易度と同じ問題を類題として選択する。この態様によれば、ユーザは、自身が希望する学習要素について、学力レベルに応じた例題や演習問題を用いて学習を行うことができる。
(【0011】以降は省略されています)
この特許をJ-PlatPat(特許庁公式サイト)で参照する
関連特許
大日本印刷株式会社
床構成体
2日前
大日本印刷株式会社
積層シート
今日
大日本印刷株式会社
積層体および包装容器
今日
大日本印刷株式会社
情報処理装置及びプログラム
1日前
大日本印刷株式会社
学習支援装置及びプログラム
2日前
大日本印刷株式会社
ウェブ搬送装置及びウェブ搬送方法
7日前
大日本印刷株式会社
作業装置、作業システム、作業方法
7日前
大日本印刷株式会社
水素センサおよび水素検知システム
1日前
大日本除蟲菊株式会社
薬剤揮散装置
3日前
大日本印刷株式会社
熱転写シートと中間転写媒体との組合せ
今日
大日本印刷株式会社
情報処理装置、情報処理方法及びプログラム
1日前
大日本印刷株式会社
情報処理装置、情報処理方法及びプログラム
1日前
大日本印刷株式会社
転写シート、成形品の製造方法および成形品
7日前
大日本印刷株式会社
プログラム、情報処理方法、及び情報処理装置
3日前
大日本印刷株式会社
加飾シート、外装部材の製造方法および外装部材
今日
大日本印刷株式会社
加飾積層体、転写シート、加飾部材、及び移動体
今日
大日本印刷株式会社
化粧シート、化粧シートの製造方法および化粧部材
3日前
大日本印刷株式会社
熱転写シートの洗浄方法およびリサイクル原料の製造方法
今日
大日本印刷株式会社
熱転写シートの洗浄方法およびリサイクル原料の製造方法
今日
大日本印刷株式会社
デュアルインターフェースICカードおよびICモジュール
3日前
大日本印刷株式会社
デュアルインターフェースICカードおよびICモジュール
3日前
大日本印刷株式会社
薬剤一包化外部委託システム,分包管理装置およびその制御プログラム
1日前
大日本印刷株式会社
本人認証システム、端末装置、コンピュータプログラムおよび本人認証方法
1日前
大日本印刷株式会社
包装材料並びに袋及び包装体
7日前
大日本印刷株式会社
プリフォーム及びその製造方法、並びにプラスチックボトル及びその製造方法
2日前
大日本印刷株式会社
プリフォーム及びその製造方法、並びにプラスチックボトル及びその製造方法
2日前
大日本印刷株式会社
ベーパーチャンバおよび電子機器
7日前
大日本印刷株式会社
ブロー成形機のヒーター出力推論装置,方法およびプログラム,ならびに学習装置
今日
大日本印刷株式会社
電子情報記憶媒体、ICチップ、ICカード、初期応答データ出力方法、及びプログラム
1日前
大日本印刷株式会社
蓄電デバイス用外装材、その製造方法、及び蓄電デバイス
3日前
大日本印刷株式会社
ベーパーチャンバ、電子機器およびベーパーチャンバの製造方法
3日前
大日本印刷株式会社
画像出力方法、画像出力システム、画像出力装置及び画像出力プログラム
3日前
個人
回転式カード学習具
1か月前
個人
時刻表示機能つき手帳
2か月前
日本精機株式会社
表示装置
15日前
日本精機株式会社
表示装置
1か月前
続きを見る
他の特許を見る