TOP
|
特許
|
意匠
|
商標
特許ウォッチ
Twitter
他の特許を見る
10個以上の画像は省略されています。
公開番号
2025170787
公報種別
公開特許公報(A)
公開日
2025-11-19
出願番号
2025129789,2021057084
出願日
2025-08-01,2021-03-30
発明の名称
注出口付きパウチ
出願人
大日本印刷株式会社
代理人
個人
,
個人
,
個人
,
個人
,
個人
主分類
B65D
30/16 20060101AFI20251112BHJP(運搬;包装;貯蔵;薄板状または線条材料の取扱い)
要約
【課題】本開示はプラスチックの使用量を削減するとともに、パウチの自立性を保持し、内容物の充填適性に優れた注出口付きパウチの提供を目的とする。
【解決手段】本開示は前面部11と、後面部12と、底面部14を備えるパウチ本体10と、パウチ本体10の上縁部に接合される注出口本体31とを備える注出口付きパウチ100であって、前面部11及び後面部12は、少なくとも外側から紙基材層61と、熱接着層62とを含む積層シートで構成され、底面部14は、前記パウチ本体10に向かって折り返し部43を有し、かつ、少なくとも外側から合成樹脂フィルム基材層53と、熱接着層52とを含む積層シートで構成されることを特徴とすることすることにより上記の課題を解決する。
【選択図】図1
特許請求の範囲
【請求項1】
前面部と、後面部と、底面部を備えるパウチ本体と、
前記パウチ本体の上縁部に接合される注出口本体とを備える注出口付きパウチであって、
前記注出口本体の外側円筒部と接合基部の間にフランジ部が設けられ、
前記注出口本体の接合基部の下部に、閉塞防止部が設けられ、
前記前面部及び前記後面部は、少なくとも外側から紙基材層と、熱接着層とを含む積層シートで構成され、
前記底面部は、前記パウチ本体に向かって折り返し部を有し、かつ、少なくとも外側から合成樹脂フィルム基材層と、熱接着層とを含む(ただし紙基材層を含まない。)積層シートで構成されることを特徴とする注出口付きパウチ。
続きを表示(約 130 文字)
【請求項2】
前記注出口本体の前記接合基部の下部に、閉塞防止部が設けられる請求項1に記載の注出口付きパウチ。
【請求項3】
前記閉塞防止部は前記パウチ本体の上下方向の中心部に位置していることを特徴とする請求項2に記載の注出口付きパウチ。
発明の詳細な説明
【技術分野】
【0001】
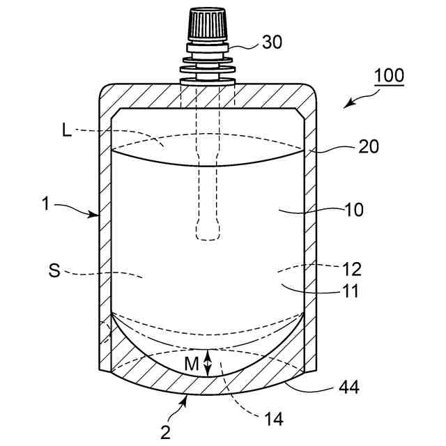
本開示は、液体等の流動体が充填され、その流動体が注出口から注出される注出口付きパウチに関する。
続きを表示(約 1,600 文字)
【背景技術】
【0002】
従来からジュース、栄養ドリンク、ゼリー等の液体の内容物を密封包装する袋には、軟包装材から構成されたパウチが用いられ、パウチの上部に蓋付き注出口が挟着され、パウチ内部に閉塞防止部を挿入する注出口付きパウチがある。
パウチの形態は、一般に、平パウチ型やスタンドパウチ型がある。
【0003】
平パウチは、内面が熱接着性樹脂層で構成された前面部と後面部とを互いに熱溶着して、シール部を形成することによって得られる。
注出口付きパウチは、自立性を持たせるために、更に折り線によりパウチの内方に折り込まれた底部を備えている。上記のようなスタンドパウチ型の
注
出口付きパウチでは、内容物を充填する場合、充填された内容物の自重でパウチの下部が膨れることにより底部が拡張して自立性を保持する。上記のようなスタンドパウチ型の形態であると、ディスプレー効果を奏する。例えば、特許文献1には、平パウチ型やスタンドパウチ型の注出口付きパウチが開示されている。
【先行技術文献】
【特許文献】
【0004】
特開2002-145286号公報
【発明の概要】
【発明が解決しようとする課題】
【0005】
ところで、近年の環境問題の高まりにより、使用するプラスチック(合成樹脂)の量を削減することが推奨されている。使用するプラスチックの量を削減するため、注出口付パウチにおいても胴部の積層シートに紙基材を用いることが求められている。
【0006】
しかしながら、このように、底部の積層シートに剛性を有する紙基材を用いると、折り込んだ底部が拡張しづらくなり、内容物を充填する際に生産性が低下するおそれがある。
【課題を解決するための手段】
【0007】
本開示はこのような課題に鑑みてなされたものであり、プラスチックの使用量を削減するとともに、パウチの自立性を保持し、内容物の充填適性に優れた注出口付きパウチの提供を目的とする。
【0008】
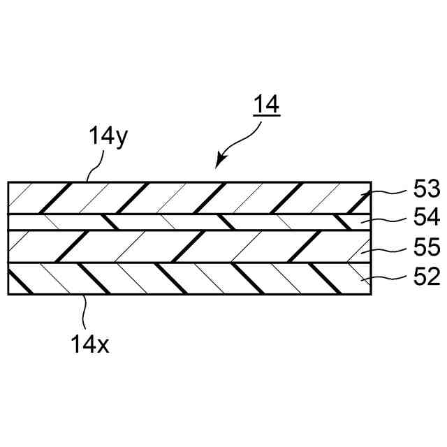
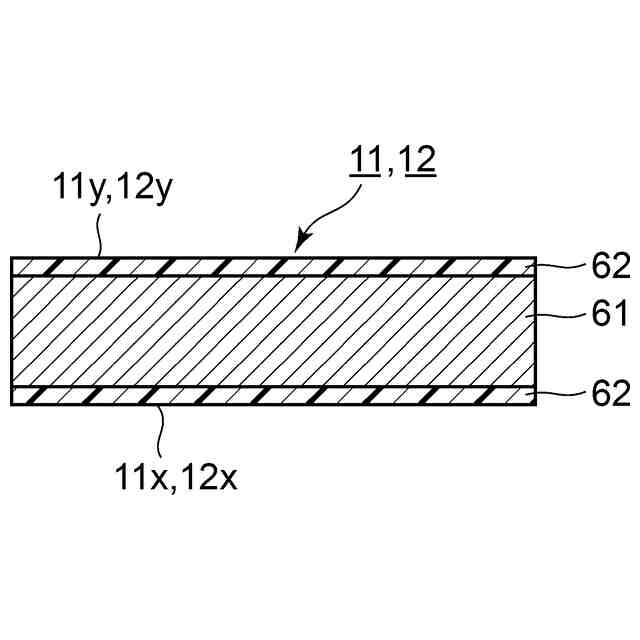
すなわち、一実施の形態による注出口付きパウチは、前面部と、後面部と、底面部を備えるパウチ本体と、前記パウチ本体の上部に接合される注出口本体とを備える注出口付きパウチであって、前記前面部及び前記後面部は、少なくとも外側から紙基材層と、熱接着層とを含む積層シートで構成され、前記底面部は、前記パウチ本体に向かって折り返し部を有し、かつ、少なくとも外側から合成樹脂フィルム基材層と、熱接着層とを含む積層シートで構成されることを特徴とする。
【発明の効果】
【0009】
本開示によれば、プラスチックの使用量を削減するとともに、パウチの自立性を保持し、内容物の充填適性に優れた注出口付きパウチを提供することができる。
【図面の簡単な説明】
【0010】
本実施の形態による注出口付きパウチの正面図。
図1に示す注出口付きパウチの斜視図。
図1に示すパウチ本体を構成する部材の分解図。
図1に示すパウチ本体の前面シートおよび後面シートの層構成の一例の断面図。
図1に示すパウチ本体の前面シートおよび後面シートの層構成の他の態様例の断面図。
図1に示すパウチ本体の底面シートの層構成の一例の断面図。
図1に示すパウチ本体の底面シートの層構成の他の態様例の断面図。
図1に示すパウチ本体の底面シートの層構成の他の態様例の断面図。
図1に示す注出口本体の正面図。
図1に示す注出口本体の側面図。
図9AのA-Aに沿って切断した断面図。
【発明を実施するための形態】
(【0011】以降は省略されています)
この特許をJ-PlatPat(特許庁公式サイト)で参照する
関連特許
大日本印刷株式会社
装飾パネル
2日前
大日本印刷株式会社
プリフォーム
9日前
大日本印刷株式会社
インテリア用品
14日前
大日本印刷株式会社
プラスチックボトル
9日前
大日本印刷株式会社
加飾シート及び樹脂成形品
1日前
大日本印刷株式会社
処理装置、判断方法及び評価方法
16日前
大日本印刷株式会社
情報処理装置、情報処理方法、及びプログラム
15日前
大日本印刷株式会社
化粧シート、化粧シートの製造方法および化粧材
9日前
大日本印刷株式会社
化粧シート、化粧シートの製造方法および化粧材
9日前
大日本印刷株式会社
化粧シート、化粧シートの製造方法および化粧材
16日前
大日本印刷株式会社
光学シート、液晶表示装置及び有機EL表示装置
14日前
大日本印刷株式会社
転写シート、転写用基材付き樹脂成形品、及び樹脂成形品
1日前
大日本印刷株式会社
加飾シート
7日前
大日本印刷株式会社
物品の製造方法および、発泡性接着シートおよび接着剤組成物
1日前
大日本印刷株式会社
注出口付きパウチ
2日前
大日本印刷株式会社
注出口付きパウチ
2日前
大日本印刷株式会社
蓋体、蓄電デバイス
9日前
大日本印刷株式会社
プラスチックボトル
9日前
大日本印刷株式会社
積層体および包装袋
7日前
大日本印刷株式会社
積層体及び包装材料
7日前
大日本印刷株式会社
加飾シート及び樹脂成形品
1日前
大日本印刷株式会社
液体保存容器、液体入り容器、液体入り容器の製造方法、及び液体の製造方法
15日前
大日本印刷株式会社
検出装置及び放射線特定装置
16日前
大日本印刷株式会社
プリフォーム及びプラスチックボトル
9日前
大日本印刷株式会社
印画物製造装置、カードセット及びカード
7日前
大日本印刷株式会社
電子情報記憶媒体、及び無線通信網接続方法
7日前
大日本印刷株式会社
蓄電デバイス、及び、蓄電デバイスの製造方法
9日前
大日本印刷株式会社
ブランク材、紙製容器および蓋材付き紙製容器
7日前
大日本印刷株式会社
積層フィルム、ラミネート紙容器および蓋材付き容器
7日前
大日本印刷株式会社
ポリエチレン多層基材、印刷基材、積層体及び包装材料
7日前
大日本印刷株式会社
転写シート、転写用基材付き樹脂成形品、及び樹脂成形品
1日前
大日本印刷株式会社
アレルゲン低減化化粧シート、それを用いたアレルゲン低減化粘着加工シート及びアレルゲン低減化化粧板
1日前
大日本印刷株式会社
アレルゲン低減化化粧シート、それを用いたアレルゲン低減化粘着加工シート及びアレルゲン低減化化粧板
1日前
個人
収容箱
4か月前
個人
束ね具
10日前
個人
コンベア
6か月前
続きを見る
他の特許を見る