TOP
|
特許
|
意匠
|
商標
特許ウォッチ
Twitter
他の特許を見る
10個以上の画像は省略されています。
公開番号
2025170583
公報種別
公開特許公報(A)
公開日
2025-11-19
出願番号
2024075284
出願日
2024-05-07
発明の名称
装飾パネル
出願人
大日本印刷株式会社
,
共和鋼業株式会社
,
学校法人近畿大学
代理人
個人
,
個人
主分類
E04H
17/04 20060101AFI20251112BHJP(建築物)
要約
【課題】ふらついたり、回転したりすることを防止し、装飾の意匠性や拡張性を向上させた、ひし形金網を装飾する装飾パネルを提供する。
【解決手段】ひし形金網1を装飾する装飾パネル10であって、ひし形金網1は、編み込まれた金属線2によって構成され、かつ、金属線2の延在方向に直交する厚さ方向から見てひし形の形状を有する空間部3を備え、装飾パネル10は、ひし形金網1に対して、着脱自在であり、かつ、金属線2によって構成される四角形の四辺のうち二辺以上の辺に作用することで、ひし形金網1に固定される。
【選択図】図1
特許請求の範囲
【請求項1】
ひし形金網を装飾する装飾パネルであって、
前記ひし形金網は、編み込まれた金属線によって構成され、かつ、前記金属線の延在方向に直交する厚さ方向から見てひし形の形状を有する空間部を備え、
前記装飾パネルは、前記ひし形金網に対して、着脱自在であり、かつ、前記金属線によって構成される四角形の四辺うち二辺以上の辺に作用することで、前記ひし形金網に固定される、装飾パネル。
続きを表示(約 860 文字)
【請求項2】
前記装飾パネルは、前記金属線の前記厚さ方向において前記空間部を貫通するように配置される貫通部材を有し、かつ、前記貫通部材を前記空間部に差し込むことにより、前記ひし形金網に取り付けられる、請求項1に記載の装飾パネル。
【請求項3】
前記装飾パネルは、前記金属線に対する前記貫通部材の反発弾性により、前記ひし形金網に固定される、請求項2に記載の装飾パネル。
【請求項4】
前記貫通部材は、第1方向において、一方の端部から他方の端部に向かって断面が同一である柱形状を有する、請求項3に記載の装飾パネル。
【請求項5】
前記貫通部材は、第1方向において、一方の端部から他方の端部に向かって断面が小さくなるテーパー形状を有する、請求項3に記載の装飾パネル。
【請求項6】
前記貫通部材は、第1方向に延在する側面に、前記金属線を嵌め込むための溝部を有する、請求項3に記載の装飾パネル。
【請求項7】
前記装飾パネルは、前記貫通部材のみを有する、請求項3に記載の装飾パネル。
【請求項8】
前記装飾パネルは、前記貫通部材と、パネル部材と、を有し、
前記パネル部材は、第1方向から見て、前記貫通部材よりも面積が大きい、請求項3に記載の装飾パネル。
【請求項9】
1つの前記パネル部材に対して、複数の前記貫通部材が配置されている、請求項8に記載の装飾パネル。
【請求項10】
前記装飾パネルは、前記貫通部材と、パネル部材と、固定部材と、を有し、
前記貫通部材は、前記パネル部材および前記固定部材の間に配置され、
前記パネル部材は、第1方向から見て、前記貫通部材よりも面積が大きく、
前記装飾パネルは、前記パネル部材および前記固定部材で前記金属線を挟むことにより、前記ひし形金網に固定される、請求項2に記載の装飾パネル。
(【請求項11】以降は省略されています)
発明の詳細な説明
【技術分野】
【0001】
本開示は、装飾パネルに関する。
続きを表示(約 2,200 文字)
【背景技術】
【0002】
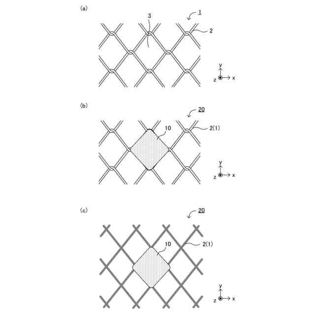
金網は、金属線を網目状に加工した部材であり、網目の形状および作製方法によって、ひし形金網、クリンプ金網、メッシュフェンス等に分類される。ひし形金網は、金属線をひし形に編み込んだ最も一般的な金網であり、軽量で柔軟性に優れ、多様な用途に使用される。特許文献1には、線材で形成された金網本体と、前記金網本体に取り付けられた多数の装飾部材とを備え、各装飾部材が、前記金網本体の網目の辺ごとに取り付けられ、前記多数の装飾部材により図柄が形成された装飾金網が開示されている。また、特許文献1には、装飾部材が、金網本体の線材に対して着脱自在であることが開示されている。
【先行技術文献】
【特許文献】
【0003】
特開2023-43510号公報
【発明の概要】
【発明が解決しようとする課題】
【0004】
特許文献1においては、装飾部材(装飾パネル)が金網本体の網目の辺ごとに取り付けられている。そのため、金網本体に取り付けられた装飾パネルは、ふらついたり、回転したりしやすく、装飾の意匠性が低下する場合がある。
【0005】
本開示は、上記実情に鑑みてなされたものであり、ひし形金網を装飾する装飾パネルであって、ふらついたり、回転したりすることを防止し、装飾の意匠性や拡張性を向上させた装飾パネルを提供することを主目的とする。
【課題を解決するための手段】
【0006】
本開示においては、ひし形金網を装飾する装飾パネルであって、上記ひし形金網は、編み込まれた金属線によって構成され、かつ、上記金属線の延在方向に直交する厚さ方向から見てひし形の形状を有する空間部を備え、上記装飾パネルは、上記ひし形金網に対して、着脱自在であり、かつ、上記金属線によって構成される四角形の四辺のうち二辺以上の辺に作用することで、上記ひし形金網に固定される、装飾パネルを提供する。
【発明の効果】
【0007】
本開示においては、ひし形金網を装飾する装飾パネルであって、ふらついたり、回転したりすることを防止し、装飾の意匠性や拡張性を向上させた装飾パネルを提供することができるという効果を奏する。
【図面の簡単な説明】
【0008】
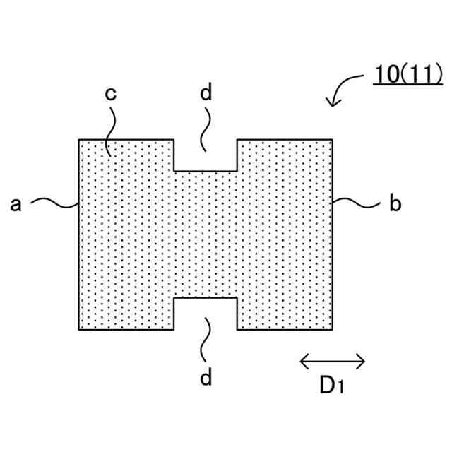
本開示におけるひし形金網、装飾パネルおよび装飾金網を例示する概略正面図である。
本開示におけるひし形金網、装飾パネルおよび装飾金網を例示する概略斜視図および概略正面図である。
本開示における装飾パネルを例示する概略斜視図である。
本開示における装飾パネルを例示する概略側面図である。
本開示における装飾パネルを例示する概略斜視図である。
本開示における装飾パネルを例示する概略背面図および概略断面図である。
本開示における装飾パネルを例示する概略背面図である。
本開示における装飾パネルを例示する概略正面図および概略断面図である。
本開示における装飾パネルを例示する概略正面図である。
本開示における装飾パネルを例示する概略正面図および概略断面図である。
本開示における装飾パネルを例示する概略斜視図である。
本開示におけるひし形金網、装飾パネルおよび装飾金網を例示する概略正面図である。
本開示におけるひし形金網、装飾パネルおよび装飾金網を例示する概略正面図である。
本開示におけるひし形金網、装飾パネルおよび装飾金網を例示する概略正面図である。
本開示におけるひし形金網、装飾パネルおよび装飾金網を例示する概略正面図である。
本開示における装飾パネルを例示する概略斜視図である。
本開示における装飾パネルを例示する概略断面図である。
本開示における装飾金網を例示する概略正面図である。
本開示における装飾パネルを例示する概略斜視図である。
本開示における装飾パネルを例示する概略斜視図および概略側面図である。
【発明を実施するための形態】
【0009】
下記に、図面等を参照しながら、実施の形態を説明する。ただし、本開示は、多くの異なる態様で実施することが可能であり、下記に例示する実施の形態の記載内容に限定されるべきではない。また、図面は説明をより明確にするため、実際の形態に比べ、各部の幅、厚さ、形状について模式的に表す場合があるが、これはあくまで一例であり、限定して解釈されるべきではない。
【0010】
本明細書において、ある部材に、他の部材を配置する態様を表現するにあたり、単に「上に」あるいは「下に」と表記する場合、特に断りの無い限り、ある部材に接するように、直上あるいは直下に、他の部材を配置する場合と、ある部材の上方あるいは下方に、さらに別の部材を介して他の部材を配置する場合と、の両方を含む。また、本明細書において、ある部材の面に、他の部材を配置する態様を表現するにあたり、単に「面に」と表記する場合、特に断りの無い限り、ある部材に接するように、直上あるいは直下に、他の部材を配置する場合と、ある部材の上方あるいは下方に、さらに別の部材を介して他の部材を配置する場合と、の両方を含む。
(【0011】以降は省略されています)
この特許をJ-PlatPat(特許庁公式サイト)で参照する
関連特許
大日本印刷株式会社
装飾パネル
2日前
大日本印刷株式会社
加飾シート及び樹脂成形品
1日前
大日本印刷株式会社
転写シート、転写用基材付き樹脂成形品、及び樹脂成形品
1日前
大日本印刷株式会社
加飾シート
7日前
大日本印刷株式会社
物品の製造方法および、発泡性接着シートおよび接着剤組成物
1日前
大日本印刷株式会社
注出口付きパウチ
2日前
大日本印刷株式会社
注出口付きパウチ
2日前
大日本印刷株式会社
プラスチックボトル
9日前
大日本印刷株式会社
積層体及び包装材料
7日前
大日本印刷株式会社
蓋体、蓄電デバイス
9日前
大日本印刷株式会社
積層体および包装袋
7日前
大日本印刷株式会社
加飾シート及び樹脂成形品
1日前
大日本印刷株式会社
印画物製造装置、カードセット及びカード
7日前
大日本印刷株式会社
電子情報記憶媒体、及び無線通信網接続方法
7日前
大日本印刷株式会社
蓄電デバイス、及び、蓄電デバイスの製造方法
9日前
大日本印刷株式会社
ブランク材、紙製容器および蓋材付き紙製容器
7日前
大日本印刷株式会社
積層フィルム、ラミネート紙容器および蓋材付き容器
7日前
大日本印刷株式会社
ポリエチレン多層基材、印刷基材、積層体及び包装材料
7日前
大日本印刷株式会社
転写シート、転写用基材付き樹脂成形品、及び樹脂成形品
1日前
大日本印刷株式会社
アレルゲン低減化化粧シート、それを用いたアレルゲン低減化粘着加工シート及びアレルゲン低減化化粧板
1日前
大日本印刷株式会社
アレルゲン低減化化粧シート、それを用いたアレルゲン低減化粘着加工シート及びアレルゲン低減化化粧板
1日前
個人
接合構造
1か月前
個人
タッチミー
1か月前
個人
安心補助てすり
29日前
個人
筋交自動設定装置
1か月前
個人
ベンリナアングル
1か月前
株式会社シンケン
住宅
1か月前
個人
防災建築物
1か月前
個人
身体用シェルター
1か月前
個人
身体用シェルター
1か月前
株式会社熊谷組
床構成材
1か月前
三協立山株式会社
構造体
1か月前
三協立山株式会社
構造体
1か月前
個人
可搬型供養墓
1か月前
三協立山株式会社
構造体
1か月前
三協立山株式会社
構造体
14日前
続きを見る
他の特許を見る