TOP
|
特許
|
意匠
|
商標
特許ウォッチ
Twitter
他の特許を見る
公開番号
2025168927
公報種別
公開特許公報(A)
公開日
2025-11-12
出願番号
2024073798
出願日
2024-04-30
発明の名称
プラスチックボトル
出願人
大日本印刷株式会社
代理人
個人
,
個人
,
個人
主分類
B65D
1/02 20060101AFI20251105BHJP(運搬;包装;貯蔵;薄板状または線条材料の取扱い)
要約
【課題】底部の変形を抑制することが可能な、プラスチックボトルを提供する。
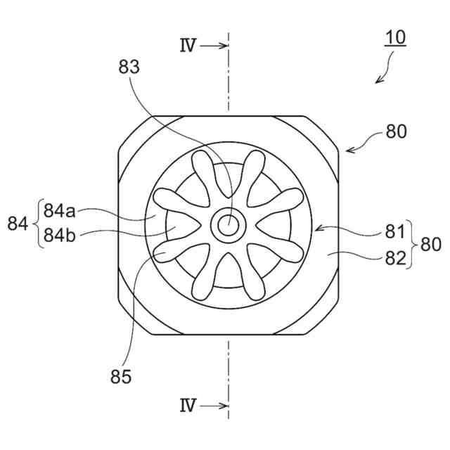
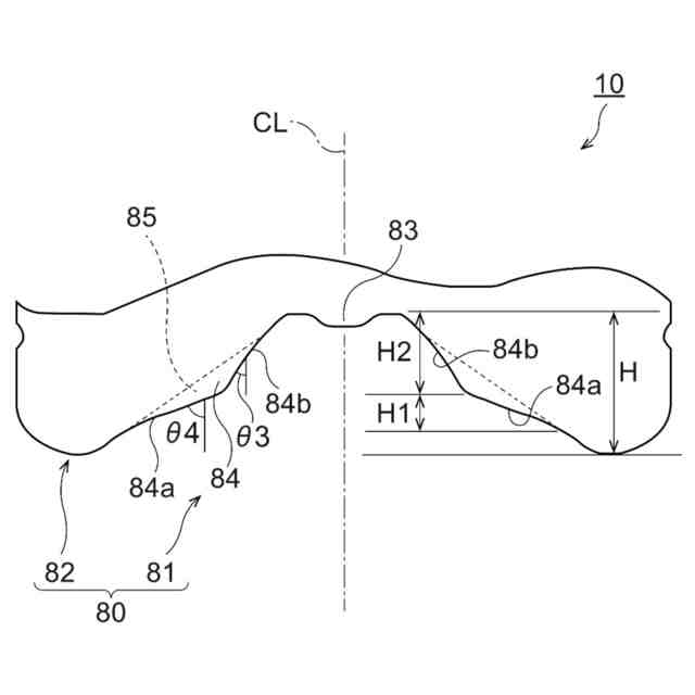
【解決手段】プラスチックボトル10は、口部20と、胴部50と、底部80とを備えている。胴部50は、口部20側に位置する上部角筒部60と、上部角筒部60よりも底部80側に位置する下部角筒部70と、上部角筒部60と下部角筒部70との間に位置する凹状リブ51とを有している。底部80は、中央部81と、中央部81の周囲に位置する周縁部82とを有している。中央部81に、半径方向内側及び下方に突出する突部84が形成されている。底部80の高さHは、8mm以上30mm以下である。
【選択図】図1
特許請求の範囲
【請求項1】
口部と、胴部と、底部とを備え、
前記胴部は、
前記口部側に位置する上部角筒部と、
前記上部角筒部よりも前記底部側に位置する下部角筒部と、
前記上部角筒部と前記下部角筒部との間に位置する凹状リブとを有し、
前記底部は、中央部と、前記中央部の周囲に位置する周縁部とを有し、
前記中央部に、半径方向内側及び下方に突出する突部が形成されており、
前記底部の高さは、8mm以上30mm以下である、プラスチックボトル。
続きを表示(約 320 文字)
【請求項2】
前記上部角筒部に上部パネル部が形成されており、
前記下部角筒部に下部パネル部が形成されており、
前記上部パネル部の幅及び前記下部パネル部の幅は、前記凹状リブ側に向けて徐々に広くなっている、請求項1に記載のプラスチックボトル。
【請求項3】
前記上部パネル部に複数の上部凸状リブが形成されており、
前記下部パネル部に複数の下部凸状リブが形成されている、請求項2に記載のプラスチックボトル。
【請求項4】
各々の前記上部凸状リブの長さ及び各々の前記下部凸状リブの長さは、前記凹状リブに近づくにつれて徐々に長くなっている、請求項3に記載のプラスチックボトル。
発明の詳細な説明
【技術分野】
【0001】
本開示は、プラスチックボトルに関する。
続きを表示(約 1,100 文字)
【背景技術】
【0002】
従来より、例えば射出成形法により作製したポリエチレンテレフタレート製プリフォームを二軸延伸ブロー成形し、プラスチックボトルを作製することが行われている。
【先行技術文献】
【特許文献】
【0003】
特開2016-13664号公報
【発明の概要】
【発明が解決しようとする課題】
【0004】
ところで、作製されたプラスチックボトルには口部から内容物が充填される。この場合、口部から高温(例えば、約70℃以上90℃以下)の内容物を充填する場合がある。このように、高温の内容物をプラスチックボトルに充填する場合には、底部の膨張を抑制することが求められている。
【0005】
本開示は、このような点を考慮してなされたものであり、底部の変形を抑制することが可能な、プラスチックボトルを提供することを目的とする。
【課題を解決するための手段】
【0006】
本開示の実施の形態は、以下の[1]~[4]に関する。
【0007】
[1]
口部と、胴部と、底部とを備え、
前記胴部は、
前記口部側に位置する上部角筒部と、
前記上部角筒部よりも前記底部側に位置する下部角筒部と、
前記上部角筒部と前記下部角筒部との間に位置する凹状リブとを有し、
前記底部は、中央部と、前記中央部の周囲に位置する周縁部とを有し、
前記中央部に、半径方向内側及び下方に突出する突部が形成されており、
前記底部の高さは、8mm以上30mm以下である、プラスチックボトル。
【0008】
[2]
前記上部角筒部に上部パネル部が形成されており、
前記下部角筒部に下部パネル部が形成されており、
前記上部パネル部の幅及び前記下部パネル部の幅は、前記凹状リブ側に向けて徐々に広くなっている、[1]に記載のプラスチックボトル。
【0009】
[3]
前記上部パネル部に複数の上部凸状リブが形成されており、
前記下部パネル部に複数の下部凸状リブが形成されている、[2]に記載のプラスチックボトル。
【0010】
[4]
各々の前記上部凸状リブの長さ及び各々の前記下部凸状リブの長さは、前記凹状リブに近づくにつれて徐々に長くなっている、[3]に記載のプラスチックボトル。
【発明の効果】
(【0011】以降は省略されています)
この特許をJ-PlatPat(特許庁公式サイト)で参照する
関連特許
大日本印刷株式会社
印刷物
1か月前
大日本印刷株式会社
印刷物
1か月前
大日本印刷株式会社
除電装置
1か月前
大日本印刷株式会社
太陽電池
1か月前
大日本印刷株式会社
装飾パネル
19日前
大日本印刷株式会社
積層シート
1か月前
大日本印刷株式会社
床用化粧材
1か月前
大日本印刷株式会社
プリフォーム
26日前
大日本印刷株式会社
インテリア用品
1か月前
大日本印刷株式会社
位置決め搬送装置
11日前
大日本印刷株式会社
旅行記作成システム
1か月前
大日本印刷株式会社
プラスチックボトル
26日前
大日本印刷株式会社
積層体および包装容器
1か月前
大日本印刷株式会社
積層体および包装容器
1か月前
大日本印刷株式会社
調光部材及び合わせ板
1か月前
大日本印刷株式会社
化粧シート及び化粧材
1か月前
大日本印刷株式会社
広告ボード体および脚体
10日前
大日本印刷株式会社
加飾シート及び樹脂成形品
1か月前
大日本印刷株式会社
再配線層及びその製造方法
1か月前
大日本印刷株式会社
加飾シート及び樹脂成形品
18日前
大日本印刷株式会社
情報処理装置及びプログラム
2か月前
大日本印刷株式会社
処理装置、判断方法及び評価方法
1か月前
大日本印刷株式会社
マスク及び有機デバイスの製造方法
3日前
大日本印刷株式会社
水素センサおよび水素検知システム
2か月前
大日本印刷株式会社
マスク及び有機デバイスの製造方法
3日前
大日本印刷株式会社
紙印刷物および紙印刷物の製造方法
1か月前
大日本印刷株式会社
音響機能付き低反射透明フィルム装置
12日前
大日本印刷株式会社
位相差板、光学部材、及び、表示装置
1か月前
大日本印刷株式会社
光学素子及び前記光学素子を含む装置
4日前
大日本印刷株式会社
加飾シート、加飾部材及び表示システム
1か月前
大日本印刷株式会社
熱転写シートと中間転写媒体との組合せ
1か月前
大日本印刷株式会社
有機デバイス及び有機デバイスの製造方法
11日前
大日本印刷株式会社
マスク、蒸着方法及びデバイスの製造方法
3日前
大日本印刷株式会社
内容物充填システムおよび内容物充填方法
4日前
大日本印刷株式会社
情報処理装置、情報処理方法及びプログラム
2か月前
大日本印刷株式会社
情報処理装置、情報処理方法及びプログラム
2か月前
続きを見る
他の特許を見る