TOP
|
特許
|
意匠
|
商標
特許ウォッチ
Twitter
他の特許を見る
10個以上の画像は省略されています。
公開番号
2025169444
公報種別
公開特許公報(A)
公開日
2025-11-12
出願番号
2025142112,2024044781
出願日
2025-08-28,2021-02-05
発明の名称
蓄電デバイス、及び、蓄電デバイスの製造方法
出願人
大日本印刷株式会社
代理人
個人
主分類
H01M
50/105 20210101AFI20251105BHJP(基本的電気素子)
要約
【課題】複数の蓄電デバイスを重ねた場合に隣接する蓄電デバイスに掛かる圧力の分布のムラを抑制可能な蓄電デバイス及び該蓄電デバイスの製造方法を提供する。
【解決手段】蓄電デバイスは、電極体と、外装体とを備える。外装体は、電極体を封止する。外装体は、フィルム状の外装部材によって構成されている。外装体は、電極体に巻き付けられた状態で互いに向き合う面同士が接合することによって封止された第1封止部を含む。第1封止部の付け根部分は、外装体において、第1面と第2面との境界に形成されている。第1面の面積は、第2面の面積よりも大きい。第1封止部は、平面視において、第1面と重なっていない。
【選択図】図1
特許請求の範囲
【請求項1】
前記電極体と、
前記電極体と接続される電極端子と、
前記電極体を封止する外装体と、を備え、
前記外装体は、
前記電極体を包むフィルム状の外装部材と、
前記外装部材とともに前記電極体を封止する蓋体と、
前記外装部材が前記電極体に巻き付けられた状態で互いに向き合う面同士が接合することによって封止された第1封止部と、を含み、
前記第1封止部の付け根部分は、前記外装体において、前記第1面と前記第2面との境界に形成されており、
前記第1面の面積は、前記第2面の面積よりも大きく、
前記第1封止部は、平面視において、前記第1面と重なっておらず、
前記電極端子は、前記蓋体と前記外装部材との間を通って前記外装体の外部に突出している
蓄電デバイス。
続きを表示(約 350 文字)
【請求項2】
前記蓋体は、バリア層を含む
請求項1に記載の蓄電デバイス。
【請求項3】
前記電極端子および前記蓋体と接着する接着フィルムをさらに有し、
前記接着フィルムは、前記電極端子のうちの少なくとも前記蓋体と接合される部分に取り付けられ、
前記電極端子と前記蓋体とは、前記接着フィルムを介して接合される
請求項1または2に記載の蓄電デバイス。
【請求項4】
前記第1封止部は、前記第2面に接するように折り曲げられている
請求項1または2に記載の蓄電デバイス。
【請求項5】
前記第1封止部は、前記第2面に接するように折り曲げられた状態で、前記第2面の略全体を覆う
請求項4に記載の蓄電デバイス。
発明の詳細な説明
【技術分野】
【0001】
本発明は、蓄電デバイス、及び、蓄電デバイスの製造方法に関する。
続きを表示(約 1,400 文字)
【背景技術】
【0002】
特許第4509242号(特許文献1)は、二次電池を開示する。この二次電池においては、ラミネートフィルムによって構成された袋体内に電極体が封止されている(特許文献1参照)。
【先行技術文献】
【特許文献】
【0003】
特許第4509242号
【発明の概要】
【発明が解決しようとする課題】
【0004】
上記特許文献1に開示されている二次電池においては、面積の大きい面上にラミネートフィルムのシール部が設けられている。シール部は、フィルムが重なった領域であるため、他の領域と比較して分厚い。シール部が設けられた面上に他の二次電池が積み重ねられると、上方の二次電池がシール部を支点に傾き得る。その結果、下方の二次電池に掛かる圧力の分布のムラが大きくなる。また、シール部が設けられた面が隣接する二次電池に接するように複数の二次電池が横方向に並べられた場合にも、隣接する二次電池から掛かる圧力の分布のムラが大きくなる。
【0005】
本発明は、このような問題を解決するためになされたものであって、その目的は、複数の蓄電デバイスを重ねた場合に隣接する蓄電デバイスに掛かる圧力の分布のムラを抑制可能な蓄電デバイス及び該蓄電デバイスの製造方法を提供することである。
【課題を解決するための手段】
【0006】
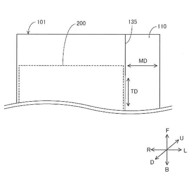
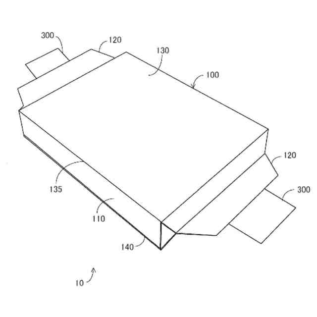
本発明のある局面に従う蓄電デバイスは、電極体と、外装体とを備える。外装体は、電極体を封止する。外装体は、フィルム状の外装部材によって構成されている。外装体は、外装部材が電極体に巻き付けられた状態で互いに向き合う面同士が接合することによって封止された第1封止部を含む。第1封止部の付け根部分は、外装体において、第1面と第2面との境界に形成されている。第1面の面積は、第2面の面積よりも大きい。第1封止部は、平面視において、前記第1面と重なっていない。
【0007】
この蓄電デバイスにおいては、第1封止部が、平面視において、面積の大きい第1面と重なっていない。すなわち、面積の大きい第1面上には第1封止部が存在しない。したがって、第1面に他の蓄電デバイスが上又は横に並べて配置されたとしても該他の蓄電デバイスは傾かない。その結果、この蓄電デバイスによれば、複数の蓄電デバイスを重ねた場合に隣接する蓄電デバイスに掛かる圧力の分布のムラを抑制することができる。また、この蓄電デバイスにおいては、第1封止部の付け根部分が外装体の第1面と第2面との境界上にある。したがって、この蓄電デバイスによれば、第1封止部を第2面上に納まらせる場合に、第1封止部の付け根部分が第2面上にあるときと比較して、第1封止部における接合幅を広く確保することができる。
【0008】
上記蓄電デバイスにおいて、第1封止部は、第2面に接するように折り曲げられていてもよい。
【0009】
上記蓄電デバイスにおいて、第1封止部は、第2面に接するように折り曲げられた状態で、第2面の略全体を覆ってもよい。
【0010】
この蓄電デバイスによれば、第1封止部が第2面の略全体を覆うことによって、第1封止部における接合幅を広く確保することができる。
(【0011】以降は省略されています)
この特許をJ-PlatPat(特許庁公式サイト)で参照する
関連特許
大日本印刷株式会社
印刷物
1か月前
大日本印刷株式会社
印刷物
1か月前
大日本印刷株式会社
除電装置
21日前
大日本印刷株式会社
太陽電池
28日前
大日本印刷株式会社
床構成体
1か月前
大日本印刷株式会社
床用化粧材
1か月前
大日本印刷株式会社
積層シート
1か月前
大日本印刷株式会社
プリフォーム
6日前
大日本印刷株式会社
インテリア用品
11日前
大日本印刷株式会社
パネルの固定方法
1か月前
大日本印刷株式会社
プラスチックボトル
6日前
大日本印刷株式会社
積層体及び包装容器
1か月前
大日本印刷株式会社
旅行記作成システム
25日前
大日本印刷株式会社
化粧シート及び化粧材
14日前
大日本印刷株式会社
調光部材及び合わせ板
25日前
大日本印刷株式会社
積層体および包装容器
1か月前
大日本印刷株式会社
積層体および包装容器
1か月前
大日本印刷株式会社
加飾シート及び樹脂成形品
1か月前
大日本印刷株式会社
再配線層及びその製造方法
1か月前
大日本印刷株式会社
情報処理装置及びプログラム
1か月前
大日本印刷株式会社
学習支援装置及びプログラム
1か月前
大日本印刷株式会社
処理装置、判断方法及び評価方法
13日前
大日本印刷株式会社
作業装置、作業システム、作業方法
1か月前
大日本印刷株式会社
水素センサおよび水素検知システム
1か月前
大日本印刷株式会社
ウェブ搬送装置及びウェブ搬送方法
1か月前
大日本印刷株式会社
紙印刷物および紙印刷物の製造方法
13日前
大日本印刷株式会社
位相差板、光学部材、及び、表示装置
1か月前
大日本除蟲菊株式会社
薬剤揮散装置
1か月前
大日本印刷株式会社
加飾シート、加飾部材及び表示システム
19日前
大日本印刷株式会社
熱転写シートと中間転写媒体との組合せ
1か月前
大日本印刷株式会社
情報処理装置、情報処理方法及びプログラム
1か月前
大日本印刷株式会社
情報処理装置、情報処理方法及びプログラム
1か月前
大日本印刷株式会社
情報処理システム、装着装置及びプログラム
25日前
大日本印刷株式会社
転写シート、成形品の製造方法および成形品
1か月前
大日本印刷株式会社
情報処理装置、情報処理方法、及びプログラム
12日前
大日本印刷株式会社
プログラム、情報処理方法、及び情報処理装置
1か月前
続きを見る
他の特許を見る