TOP
|
特許
|
意匠
|
商標
特許ウォッチ
Twitter
他の特許を見る
公開番号
2025170012
公報種別
公開特許公報(A)
公開日
2025-11-14
出願番号
2025141375,2021126717
出願日
2025-08-27,2021-08-02
発明の名称
電子情報記憶媒体、及び無線通信網接続方法
出願人
大日本印刷株式会社
代理人
弁理士法人インテクト国際特許事務所
,
個人
主分類
H04W
12/06 20210101AFI20251107BHJP(電気通信技術)
要約
【課題】SMSのような特定の通信方式に依存せず、かつ、鍵管理の手間を極小化しながらもセキュリティを確保しつつ、端末に所望の無線通信網に接続させることができる。
【解決手段】端末Tに搭載されたSIMは、所定の無線通信網に接続させるために用いられる第1識別情報を記憶し、端末Tのユーザの操作に応じて端末Tの情報処理部から送信された第2識別情報を受信すると、第1識別情報と第2識別情報とを用いて認証を行い、認証が成功した場合に、所定の無線通信網に接続させるコマンドを端末Tの情報処理部へ送信する。
【選択図】図3
特許請求の範囲
【請求項1】
異なる複数の無線通信網のうち何れか1つの無線通信網に接続可能な端末に搭載される電子情報記憶媒体であって、
前記複数の無線通信網のうち所定の無線通信網に接続させるために用いられる第1識別情報を記憶する記憶手段と、
前記端末のユーザの操作に応じて前記端末の情報処理部から送信された第2識別情報を受信する受信手段と、
前記記憶手段に記憶された第1識別情報と、前記受信手段により受信された第2識別情報とを用いて認証を行う認証手段と、
前記認証が成功した場合に、前記所定の無線通信網に接続させるコマンドを前記端末の情報処理部へ送信する送信手段と、
を備えることを特徴とする電子情報記憶媒体。
続きを表示(約 850 文字)
【請求項2】
前記第1識別情報及び前記第2識別情報は、前記ユーザにより入力された入力値または前記ユーザの生体情報であることを特徴とする請求項1に記載の電子情報記憶媒体。
【請求項3】
前記第1識別情報及び前記第2識別情報は、前記電子情報記憶媒体により生成された乱数であることを特徴とする請求項1に記載の電子情報記憶媒体。
【請求項4】
前記所定の無線通信網は、移動体通信事業者が提供するパブリック通信網以外のプライベート無線通信網であることを特徴とする請求項1乃至3の何れか一項に記載の電子情報記憶媒体。
【請求項5】
前記コマンドは、前記端末が接続中の無線通信網から前記所定の無線通信網に切り替えるコマンドであることを特徴とする請求項1乃至3の何れか一項に記載の電子情報記憶媒体。
【請求項6】
異なる複数の無線通信網のうち何れか1つの無線通信網に接続可能な端末の情報処理部と、当該端末に搭載される電子情報記憶媒体とにより行われる無線通信網接続方法であって、
前記電子情報記憶媒体が、前記複数の無線通信網のうち所定の無線通信網に接続させるために用いられる第1識別情報を記憶するステップと、
前記端末の情報処理部が、前記端末のユーザの操作に応じて第2識別情報を前記電子情報記憶媒体へ送信するステップと、
前記電子情報記憶媒体が、前記端末の情報処理部から前記第2識別情報を受信した場合に、前記記憶された第1識別情報と、前記受信された第2識別情報とを用いて認証を行うステップと、
前記電子情報記憶媒体が、前記認証が成功した場合に、前記所定の無線通信網に接続させるコマンドを前記端末の情報処理部へ送信するステップと、
前記端末の情報処理部が、前記電子情報記憶媒体から前記コマンドを受信した場合に、前記所定の無線通信網に接続するステップと、
を含むことを特徴とする無線通信網接続方法。
発明の詳細な説明
【技術分野】
【0001】
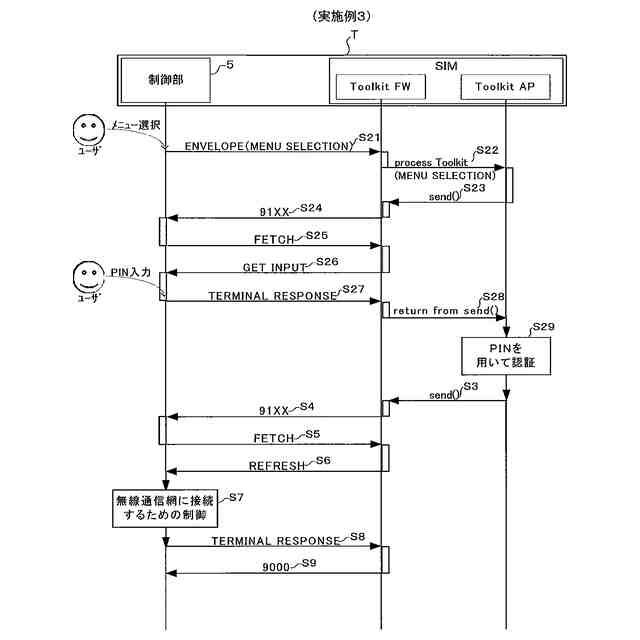
本発明は、異なる複数の無線通信網のうち何れか1つの無線通信網に接続可能な端末に搭載されるSIM(Subscriber Identity Module)等の技術分野に関する。
続きを表示(約 1,600 文字)
【背景技術】
【0002】
従来、複数の無線通信網(例えば、3G,LTE,5Gなど)が混在するエリアにおいて端末が所望の無線通信網に接続するための方法として、当該端末に搭載されたSIMのREFRESHコマンドを利用する方法が知られている。この方法では、例えば特許文献1に示される3GPP(登録商標;Third Generation Partnership Project)により規定されたSecured Packet形式のSMS(Short Message Service)メッセージが利用され、いたずらやサービス妨害を排除するために、適切な認証処理が行われる。かかる認証処理では、外部装置とSIMとの間で共通鍵が共有され、SIMは受信したSMSメッセージの署名に対して同共通鍵を用いて検証し、メッセージの正当性を確認するようになっている。
【先行技術文献】
【特許文献】
【0003】
特開2017-76930号公報
【発明の概要】
【発明が解決しようとする課題】
【0004】
しかしながら、昨今活用の検討が進むプライベート無線通信網(プライベートLTEやローカル5G)においては、より安価なネットワーク装置が利用されており、SMS通信、及びSMS通信を利用したSecured Packetを利用できない場合が多い。また、上述の共通鍵を用いた認証処理では共通鍵の配布や管理の手間が大きく、比較的小規模なプレイヤーの多いプライベート無線通信網においては、管理者の負担となってしまう。
【0005】
そこで、本発明は、以上の点に鑑みてなされたものであり、SMSのような特定の通信方式に依存せず、かつ、鍵管理の手間を極小化しながらもセキュリティを確保しつつ、端末に所望の無線通信網に接続させることが可能な電子情報記憶媒体、及びプログラムを提供することを目的とする。
【課題を解決するための手段】
【0006】
上記課題を解決するために、請求項1に記載の発明は、異なる複数の無線通信網のうち何れか1つの無線通信網に接続可能な端末に搭載される電子情報記憶媒体であって、前記複数の無線通信網のうち所定の無線通信網に接続させるために用いられる第1識別情報を記憶する記憶手段と、前記端末のユーザの操作に応じて前記端末の情報処理部から送信された第2識別情報を受信する受信手段と、前記記憶手段に記憶された第1識別情報と、前記受信手段により受信された第2識別情報とを用いて認証を行う認証手段と、前記認証が成功した場合に、前記所定の無線通信網に接続させるコマンドを前記端末の情報処理部へ送信する送信手段と、を備えることを特徴とする。
【0007】
請求項2に記載の発明は、請求項1に記載の電子情報記憶媒体において、前記第1識別情報及び前記第2識別情報は、前記ユーザにより入力された入力値または前記ユーザの生体情報であることを特徴とする。
【0008】
請求項3に記載の発明は、請求項1に記載の電子情報記憶媒体において、前記第1識別情報及び前記第2識別情報は、前記電子情報記憶媒体により生成された乱数であることを特徴とする。
【0009】
請求項4に記載の発明は、請求項1乃至3の何れか一項に記載の電子情報記憶媒体において、前記所定の無線通信網は、移動体通信事業者が提供するパブリック通信網以外のプライベート無線通信網であることを特徴とする。
【0010】
請求項5に記載の発明は、請求項1乃至3の何れか一項に記載の電子情報記憶媒体において、前記コマンドは、前記端末が接続中の無線通信網から前記所定の無線通信網に切り替えるコマンドであることを特徴とする。
(【0011】以降は省略されています)
この特許をJ-PlatPat(特許庁公式サイト)で参照する
関連特許
大日本印刷株式会社
装飾パネル
22日前
大日本印刷株式会社
プリフォーム
29日前
大日本印刷株式会社
インテリア用品
1か月前
大日本印刷株式会社
審査作業システム
今日
大日本印刷株式会社
位置決め搬送装置
14日前
大日本印刷株式会社
プラスチックボトル
29日前
大日本印刷株式会社
広告ボード体および脚体
13日前
大日本印刷株式会社
加飾シート及び樹脂成形品
21日前
大日本印刷株式会社
拡散部材およびクリーンブース
今日
大日本印刷株式会社
マスク及び有機デバイスの製造方法
6日前
大日本印刷株式会社
マスク及び有機デバイスの製造方法
6日前
大日本印刷株式会社
カードおよびカードの真偽判定方法
2日前
大日本印刷株式会社
光学素子及び前記光学素子を含む装置
7日前
大日本印刷株式会社
音響機能付き低反射透明フィルム装置
15日前
大日本印刷株式会社
内容物充填システムおよび内容物充填方法
7日前
大日本印刷株式会社
有機デバイス及び有機デバイスの製造方法
14日前
大日本印刷株式会社
配線基板及びヘッドマウントディスプレイ
今日
大日本印刷株式会社
マスク、蒸着方法及びデバイスの製造方法
6日前
大日本印刷株式会社
加飾部材の補修方法、加飾シート及び加飾部材
8日前
大日本印刷株式会社
情報処理装置、情報処理方法、及びプログラム
1か月前
大日本印刷株式会社
マスク、マスク装置及びマスク装置の製造方法
6日前
大日本印刷株式会社
情報処理方法、プログラム、及び情報処理装置
1日前
大日本印刷株式会社
光学シート、液晶表示装置及び有機EL表示装置
1か月前
大日本印刷株式会社
化粧シート、化粧シートの製造方法および化粧材
29日前
大日本印刷株式会社
化粧シート、化粧シートの製造方法および化粧材
29日前
大日本印刷株式会社
積層体、チューブ容器及びキャップ付きチューブ容器
13日前
大日本印刷株式会社
積層体、チューブ容器及びキャップ付きチューブ容器
13日前
大日本印刷株式会社
転写シート、転写用基材付き樹脂成形品、及び樹脂成形品
21日前
大日本印刷株式会社
推定結果出力装置、プログラム及び推定結果出力システム
今日
大日本印刷株式会社
マスク装置
6日前
大日本印刷株式会社
加飾シート
27日前
大日本印刷株式会社
物品の製造方法および、発泡性接着シートおよび接着剤組成物
21日前
大日本印刷株式会社
貫通電極基板
今日
大日本印刷株式会社
注出口付きパウチ
22日前
大日本印刷株式会社
注出口付きパウチ
22日前
大日本印刷株式会社
半導体パッケージ
15日前
続きを見る
他の特許を見る