TOP
|
特許
|
意匠
|
商標
特許ウォッチ
Twitter
他の特許を見る
10個以上の画像は省略されています。
公開番号
2025177938
公報種別
公開特許公報(A)
公開日
2025-12-05
出願番号
2024085106
出願日
2024-05-24
発明の名称
マスク及び有機デバイスの製造方法
出願人
大日本印刷株式会社
代理人
個人
,
個人
,
個人
主分類
C23C
14/04 20060101AFI20251128BHJP(金属質材料への被覆;金属質材料による材料への被覆;化学的表面処理;金属質材料の拡散処理;真空蒸着,スパッタリング,イオン注入法,または化学蒸着による被覆一般;金属質材料の防食または鉱皮の抑制一般)
要約
【課題】基板に付着する蒸着材料の厚みを均一にすることができるマスクを提供する。
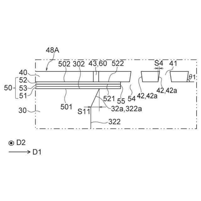
【解決手段】マスク20は、少なくとも1つの第1開口を含む第1層と、平面視において第1開口に重なる複数の第2開口41を含む金属層40と、を含む。金属層40は、複数の第2開口41が形成された有効領域と、有効領域を取り囲む周縁領域と、を含む。周縁領域は、凹部又は欠損部43によって囲まれた区画48Aを有する。
【選択図】図4
特許請求の範囲
【請求項1】
第1面と、前記第1面の反対側に位置する第2面と、前記第1面から前記第2面へ貫通する少なくとも1つの第1開口と、を含む第1層と、
前記第2面に対向する第3面と、前記第3面の反対側に位置する第4面と、前記第3面から前記第4面へ貫通し、平面視において前記第1開口に重なる複数の第2開口と、を含む金属層と、
を含み、
前記第1層は、シリコン又はシリコン化合物を含み、
前記金属層は、前記複数の第2開口が形成された有効領域と、前記有効領域を取り囲む周縁領域と、を含み、
前記周縁領域は、平面視において前記第4面から前記第3面に向かって窪む凹部又は前記金属層を貫通する欠損部によって囲まれた区画を有する、マスク。
続きを表示(約 770 文字)
【請求項2】
前記凹部又は前記欠損部は、前記区画を連続的に取り囲む、請求項1に記載のマスク。
【請求項3】
前記区画は、平面視において前記区画の輪郭の互いに異なる部分に沿って延びる複数の前記凹部又は前記欠損部によって不連続に囲まれている、請求項1に記載のマスク。
【請求項4】
前記輪郭に沿って隣り合う前記凹部又は前記欠損部の隣り合う端部の間隔が、前記輪郭の長さの10分の1以下である、請求項3に記載のマスク。
【請求項5】
前記区画は、前記凹部によって囲まれ、
前記凹部の底部の厚みが、前記区画の平均厚みの2分の1以下である、請求項1に記載のマスク。
【請求項6】
平面視において、前記周縁領域は、1つの有効領域の周囲に、各々が前記凹部又は前記欠損部によって囲まれた複数の区画を有する、請求項1に記載のマスク。
【請求項7】
平面視において、前記第1開口の輪郭は、第1方向に延びる部分と、前記第1方向とは異なる第2方向に延びる部分とを有し、
前記複数の区画は、平面視において、前記第1方向に延びる部分に隣接する又は重なる区画と、前記第2方向に延びる部分に隣接する又は重なる区画と、を含む、請求項6に記載のマスク。
【請求項8】
前記区画は前記第1層に重なる、請求項1に記載のマスク。
【請求項9】
前記第1層は、複数の第1開口を含み、
前記区画は、前記第1層の隣り合う第1開口の間の領域に重なる、請求項1に記載のマスク。
【請求項10】
前記区画の少なくとも一部は、前記第1層の外縁と前記第1開口との間の領域に重なる、請求項1に記載のマスク。
(【請求項11】以降は省略されています)
発明の詳細な説明
【技術分野】
【0001】
本開示の実施形態は、マスク及び有機デバイスの製造方法に関する。
続きを表示(約 3,300 文字)
【背景技術】
【0002】
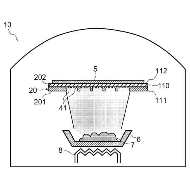
精密なパターンを形成するための方法として、蒸着法が知られている。蒸着法においては、まず、開口が形成されたマスクを基板に組み合わせる。続いて、マスクの開口を介して蒸着材料が基板に付着される。これにより、マスクの開口のパターンに対応したパターンで、蒸着材料を含む蒸着層を基板上に形成できる。蒸着法は、例えば、有機EL表示装置の画素を形成する方法として用いられている。特許文献1には、蒸着法に用いられるマスクが開示されている。
【0003】
特許文献1のマスクは、マスクチップと、マスクチップを支持する支持体とを含む。マスクチップには、各々が画素に対応した複数の開口部が形成されている。マスク支持体には、開口が形成されている。マスク支持体の各開口は、例えば、有機EL表示装置の1つの画面に対応する。平面視において、マスク支持体の各開口は、マスクチップの複数の開口部と重なる。蒸着処理中、マスクチップは基板に対面し、マスク支持体は蒸着源の側を向く。蒸着源から飛来した蒸着材料は、マスク支持体の開口を通り、次いでマスクチップの開口部を通って、基板に付着する。
【先行技術文献】
【特許文献】
【0004】
特開2005-042133号公報
【発明の概要】
【発明が解決しようとする課題】
【0005】
ところで、基板に付着する蒸着材料の厚みを均一にすることが望まれている。例えば、基板上の有機EL表示装置の1つの画面に対応する領域内に形成される複数の蒸着層の厚みの差を、小さくすることが望まれている。複数の蒸着層の厚みを均一にすることで、画面内の表示品質を均一にできる。例えば、画面を均一に発光させることができる。しかしながら、本件発明者が得た知見によれば、上記領域の中央の蒸着層の厚みよりも、上記領域の外縁付近の蒸着層の厚みの方が大きくなる傾向にある。
【0006】
本開示の実施形態は、このような課題を効果的に解決し得るマスクを製造することを目的とする。
【課題を解決するための手段】
【0007】
本開示の一実施形態によるマスクは、第1面と、前記第1面の反対側に位置する第2面と、前記第1面から前記第2面へ貫通する少なくとも1つの第1開口と、を含む第1層と、前記第2面に対向する第3面と、前記第3面の反対側に位置する第4面と、前記第3面から前記第4面へ貫通し、平面視において前記第1開口に重なる複数の第2開口と、を含む金属層と、を含んでいてもよく、前記第1層は、シリコン又はシリコン化合物を含んでいてもよく、前記金属層は、前記複数の第2開口が形成された有効領域と、前記有効領域を取り囲む周縁領域と、を含んでいてもよく、前記周縁領域は、平面視において前記第4面から前記第3面に向かって窪む凹部又は前記金属層を貫通する欠損部によって囲まれた区画を有していてもよい。
【発明の効果】
【0008】
本開示の実施形態によれば、基板に付着する蒸着材料の厚みの差を小さくできる。
【図面の簡単な説明】
【0009】
有機デバイスの一例を示す断面図である。
マスクを備えた蒸着装置の一例を示す図である。
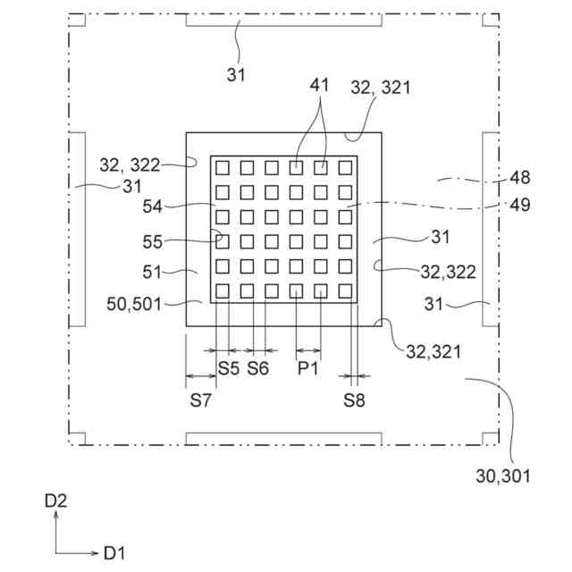
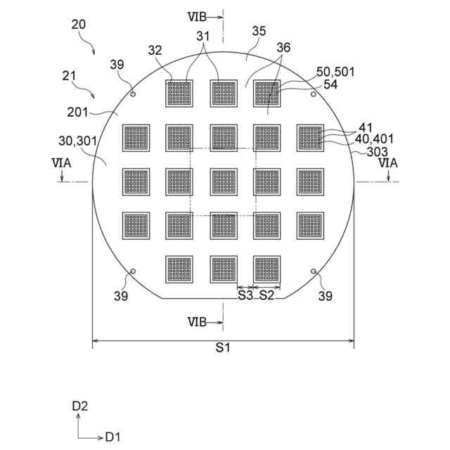
入射面の側から見た場合のマスクの一例を示す平面図である。
出射面の側から見た場合のマスクの一例を示す平面図である。
図3の二点鎖線で囲まれた部分を拡大して示す図である。
図5Aに示す部分を出射面の側から見た図である。
図3に示すマスクのVIA-VIA線に沿った断面を示す図である。
図3に示すマスクのVIB-VIB線に沿った断面を示す図である。
図6Aの二点鎖線で囲まれた部分を拡大して示す図である。
図6Bの二点鎖線で囲まれた部分を拡大して示す図である。
図6A及び図6Bに示すマスクの製造方法の一工程を示す断面図である。
図6A及び図6Bに示すマスクの製造方法の一工程を示す断面図である。
図6A及び図6Bに示すマスクの製造方法の一工程を示す断面図である。
図6A及び図6Bに示すマスクの製造方法の一工程を示す断面図である。
図6A及び図6Bに示すマスクの製造方法の一工程を示す断面図である。
図6A及び図6Bに示すマスクの製造方法の一工程を示す断面図である。
図6A及び図6Bに示すマスクの製造方法の一工程を示す断面図である。
図6A及び図6Bに示すマスクの製造方法の一工程を示す断面図である。
図6A及び図6Bに示すマスクの製造方法の一工程を示す断面図である。
図6A及び図6Bに示すマスクの製造方法の一工程を示す断面図である。
図6A及び図6Bに示すマスクの製造方法の一工程を示す断面図である。
図6A及び図6Bに示すマスクの製造方法の一工程を示す断面図である。
図6Aに対応する図であって、マスクの一変形例を示す平面図である。
図20Aの二点鎖線で囲まれた部分を拡大して示す図である。
図20Aに示すマスクの製造方法の一工程を示す断面図である。
図20Aに示すマスクの製造方法の一工程を示す断面図である。
図22Aの二点鎖線で囲まれた部分を拡大して示す図である。
図20Aに示すマスクの製造方法の一工程を示す断面図である。
図20Aに示すマスクの製造方法の変形例の一工程を示す断面図である。
図20Aに示すマスクの製造方法の変形例の一工程を示す断面図である。
図20Aに示すマスクの製造方法の変形例の一工程を示す断面図である。
図26Aの二点鎖線で囲まれた部分を拡大して示す図である。
図20Aに示すマスクの製造方法の変形例の一工程を示す断面図である。
図6A及び図6Bに示すマスクの製造方法の変形例の一工程を示す断面図である。
図6A及び図6Bに示すマスクの製造方法の変形例の一工程を示す断面図である。
図6A及び図6Bに示すマスクの製造方法の変形例の一工程を示す断面図である。
図6A及び図6Bに示すマスクの製造方法の変形例の一工程を示す断面図である。
図6A及び図6Bに示すマスクの製造方法の変形例の一工程を示す断面図である。
図5Bに対応する図であって、マスクの一変形例を示す平面図である。
欠損部又は凹部、及び当該欠損部又は凹部が取り囲む区画の平面図であって、マスクの一変形例を示す平面図である。
欠損部又は凹部、及び当該欠損部又は凹部が取り囲む区画の平面図であって、マスクの一変形例を示す平面図である。
欠損部又は凹部、及び当該欠損部又は凹部が取り囲む区画の平面図であって、マスクの一変形例を示す平面図である。
欠損部又は凹部、及び当該欠損部又は凹部が取り囲む区画の平面図であって、マスクの一変形例を示す平面図である。
欠損部又は凹部、及び当該欠損部又は凹部が取り囲む区画の平面図であって、マスクの一変形例を示す平面図である。
図7Aに対応する図であって、マスクの一変形例を示す平面図である。
図7Bに対応する図であって、マスクの一変形例を示す平面図である。
有機デバイスを備える装置の一例を示す図である。
【発明を実施するための形態】
【0010】
本明細書および本図面において、特別な説明が無い限りは、「基板」、「シート」、「フィルム」などの、ある構成の基礎となる物質を意味する用語は、呼称の違いのみに基づいて、互いから区別されるものではない。
(【0011】以降は省略されています)
この特許をJ-PlatPat(特許庁公式サイト)で参照する
関連特許
大日本印刷株式会社
広告ボード体および脚体
8日前
大日本印刷株式会社
マスク及び有機デバイスの製造方法
1日前
大日本印刷株式会社
マスク及び有機デバイスの製造方法
1日前
大日本印刷株式会社
光学素子及び前記光学素子を含む装置
2日前
大日本印刷株式会社
マスク、蒸着方法及びデバイスの製造方法
1日前
大日本印刷株式会社
内容物充填システムおよび内容物充填方法
2日前
大日本印刷株式会社
有機デバイス及び有機デバイスの製造方法
9日前
大日本印刷株式会社
マスク、マスク装置及びマスク装置の製造方法
1日前
大日本印刷株式会社
加飾部材の補修方法、加飾シート及び加飾部材
3日前
大日本印刷株式会社
積層体、チューブ容器及びキャップ付きチューブ容器
8日前
大日本印刷株式会社
積層体、チューブ容器及びキャップ付きチューブ容器
8日前
大日本印刷株式会社
マスク装置
1日前
大日本印刷株式会社
包装材料用積層体および包装材料
1日前
大日本印刷株式会社
蒸着方法及びデバイスの製造方法
1日前
独立行政法人国立高等専門学校機構
固定具、位置検出方法及びロボットシステム
1日前
個人
フッ素樹脂塗装鋼板の保管方法
4か月前
株式会社京都マテリアルズ
めっき部材
2か月前
株式会社カネカ
製膜装置
2か月前
株式会社カネカ
製膜装置
2か月前
トヨタ自動車株式会社
治具
1か月前
株式会社KSマテリアル
防錆組成物
4か月前
日本化学産業株式会社
複合めっき皮膜
4か月前
エドワーズ株式会社
真空排気システム
1か月前
台灣晶技股ふん有限公司
無電解めっき法
3か月前
東京エレクトロン株式会社
成膜方法
2か月前
日東電工株式会社
積層体の製造方法
6か月前
株式会社カネカ
気化装置及び製膜装置
1か月前
JFEスチール株式会社
鋼部品
4か月前
東京エレクトロン株式会社
基板処理装置
6か月前
住友重機械工業株式会社
成膜装置
6か月前
株式会社アルバック
マスクユニット
1か月前
TOTO株式会社
構造部材
1か月前
住友重機械工業株式会社
成膜装置
5か月前
株式会社内村
防食具、防食具の設置方法
2か月前
黒崎播磨株式会社
溶射装置
2か月前
株式会社アルバック
基板ステージ装置
2か月前
続きを見る
他の特許を見る