TOP
|
特許
|
意匠
|
商標
特許ウォッチ
Twitter
他の特許を見る
10個以上の画像は省略されています。
公開番号
2025178123
公報種別
公開特許公報(A)
公開日
2025-12-05
出願番号
2025049065,2024085114
出願日
2025-03-24,2024-05-24
発明の名称
マスク装置
出願人
大日本印刷株式会社
代理人
個人
,
個人
,
個人
主分類
C23C
14/04 20060101AFI20251128BHJP(金属質材料への被覆;金属質材料による材料への被覆;化学的表面処理;金属質材料の拡散処理;真空蒸着,スパッタリング,イオン注入法,または化学蒸着による被覆一般;金属質材料の防食または鉱皮の抑制一般)
要約
【課題】マスク層の位置精度を高めることができるマスク装置を提供する。
【解決手段】マスク装置は、マスクと、マスクに接続された第1フレームと、第1面と、第1面の反対側に位置する第2面と、第1面から第2面へ貫通する複数の第1開口と、を含む基材と、第2面に対向する第3面と、第3面の反対側に位置する第4面と、を含むマスク層と、を備え、基材は、シリコン又はシリコン化合物を含み、マスク層は、平面視において第1開口に重なり、第3面から第4面へ貫通する複数の第2開口を含み、基材は、平面視において複数の第1開口の間に位置する内側領域と、基材の外縁に沿って広がり、平面視において複数の第1開口及び内側領域を囲む外側領域と、を含み、外側領域の第1面は、フレーム第2面に対して傾いている部分を含み、第1フレームは、平面視において基材の複数の第1開口に重なる1つの第3開口を含む。
【選択図】図6
特許請求の範囲
【請求項1】
マスク装置であって、
マスクと、
前記マスクに接続された第1フレームと、を備え、
前記マスクは、
第1面と、前記第1面の反対側に位置する第2面と、前記第1面から前記第2面へ貫通する複数の第1開口と、を含む基材と、
前記第2面に対向する第3面と、前記第3面の反対側に位置する第4面と、を含むマスク層と、を備え、
前記基材は、シリコン又はシリコン化合物を含み、
前記マスク層は、平面視において前記第1開口に重なり、前記第3面から前記第4面へ貫通する複数の第2開口を含み、
前記基材は、平面視において前記複数の第1開口の間に位置する内側領域と、前記基材の外縁に沿って広がり、平面視において前記複数の第1開口及び前記内側領域を囲む外側領域と、を含み、
前記第1フレームは、フレーム第1面と、前記フレーム第1面の反対側に位置し、前記基材の前記第1面に面するフレーム第2面と、を含み、
前記外側領域の前記第1面は、前記フレーム第2面に対して傾いている部分を含み、
前記第1フレームは、平面視において前記基材の複数の前記第1開口に重なる1つの第3開口を含む、マスク装置。
発明の詳細な説明
【技術分野】
【0001】
本開示の実施形態は、マスク装置に関する。
続きを表示(約 2,400 文字)
【背景技術】
【0002】
精密なパターンを形成するための方法として、蒸着法が知られている。蒸着法においては、複数の開口が形成されたマスクが基板に組み合わされる。続いて、マスクの開口を介して蒸着材料が基板に付着される。これにより、マスクの開口のパターンに対応したパターンで、蒸着材料を含む蒸着層が基板上に形成される。蒸着法は、例えば、有機EL表示装置の画素を形成する方法として用いられている。
【0003】
例えば特許文献1は、シリコンを含む基材と、複数の開口が形成されたマスク層と、を備える蒸着マスクを開示している。シリコンを含む基材とマスク層とが組み合わされているので、マスク層の貫通孔の形状精度及び位置精度が高められる。
【先行技術文献】
【特許文献】
【0004】
国際公開2023/145951号
【発明の概要】
【発明が解決しようとする課題】
【0005】
基材に撓みなどの変形が生じると、マスク層の複数の開口の位置が全体的に理想的な位置からずれる。
【課題を解決するための手段】
【0006】
本開示の一実施形態によるマスク装置は、マスクと、前記マスクに接続された第1フレームと、を備えてもよい。前記マスクは、第1面と、前記第1面の反対側に位置する第2面と、前記第1面から前記第2面へ貫通する複数の第1開口と、を含む基材と、前記第2面に対向する第3面と、前記第3面の反対側に位置する第4面と、を含むマスク層と、を備えてもよい。前記基材は、シリコン又はシリコン化合物を含んでもよい。前記マスク層は、平面視において前記第1開口に重なり、前記第3面から前記第4面へ貫通する複数の第2開口を含んでもよい。前記基材は、平面視において前記複数の第1開口の間に位置する内側領域と、前記基材の外縁に沿って広がり、平面視において前記複数の第1開口及び前記内側領域を囲む外側領域と、を含んでもよい。前記第1フレームは、フレーム第1面と、前記フレーム第1面の反対側に位置し、前記基材の前記第1面に面するフレーム第2面と、を含んでもよい。前記外側領域の前記第1面は、前記フレーム第2面に対して傾いている部分を含んでもよい。前記第1フレームは、平面視において前記基材の複数の前記第1開口に重なる1つの第3開口を含んでもよい。
【発明の効果】
【0007】
本開示の実施形態によれば、マスク層の位置精度を高めることができる。
【図面の簡単な説明】
【0008】
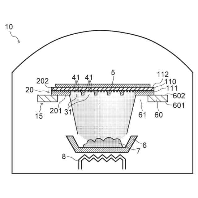
有機デバイスの一例を示す断面図である。
マスク装置を備えた蒸着装置の一例を示す図である。
入射面の側から見た場合のマスク装置の一例を示す平面図である。
出射面の側から見た場合のマスク装置の一例を示す平面図である。
図3のマスクのV-V線に沿った断面図である。
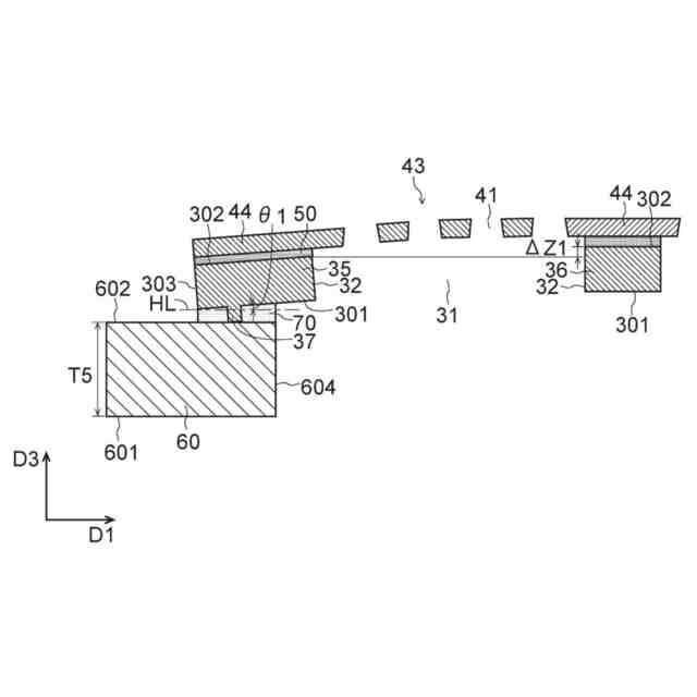
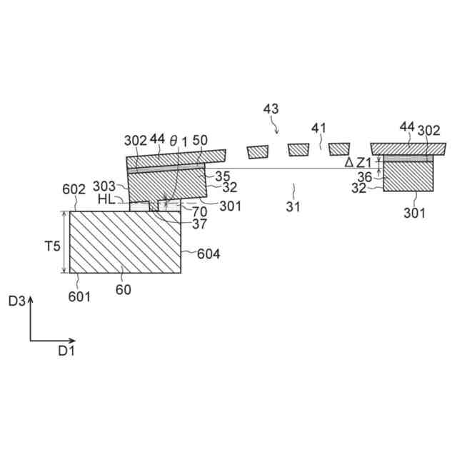
基材の外側領域及び第1フレームの一例を示す断面図である。
基材の外側領域の一例を示す断面図である。
入射面の側から見た場合のマスクの一例を示す平面図である。
基材の内側領域及びマスク層の一例を示す断面図である。
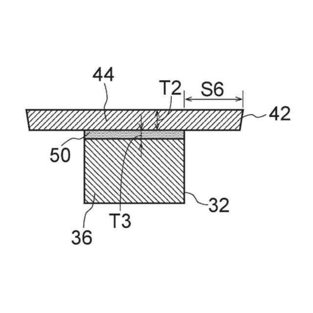
マスク層の第2領域の一例を示す断面図である。
中間層を形成する工程の一例を示す断面図である。
第1レジスト層を形成する工程の一例を示す断面図である。
マスク層を形成する工程の一例を示す断面図である。
保護層及び第2レジスト層を形成する工程の一例を示す断面図である。
基材を加工する工程の一例を示す断面図である。
第3レジスト層を形成する工程の一例を示す断面図である。
基材を加工する工程の一例を示す断面図である。
中間層の一部を除去する工程の一例を示す断面図である。
第3レジスト層及び保護層を除去する工程の一例を示す断面図である。
マスクの厚み方向における位置を測定する工程の一例を示す断面図である。
基材の角度を調整する工程の一例を示す断面図である。
マスクを第1フレームに固定する工程を示す断面図である。
第2フレームの一例を示す平面図である。
基材の角度を調整する工程の一例を示す断面図である。
第2フレームの一例を示す平面図である。
入射面の側から見た場合のマスクの一例を示す平面図である。
基材の外側領域の一例を示す断面図である。
基材の外側領域及び第1フレームの一例を示す断面図である。
基材の外側領域の一例を示す断面図である。
基材の外側領域の一例を示す断面図である。
基材の外側領域及び第1フレームの一例を示す断面図である。
基材の外側領域の一例を示す断面図である。
基材の外側領域の一例を示す断面図である。
基材の外側領域の一例を示す断面図である。
マスク装置の一例を示す断面図である。
【発明を実施するための形態】
【0009】
本明細書および本図面において、特別な説明が無い限りは、「基板」、「シート」、「フィルム」などの、ある構成の基礎となる物質を意味する用語は、呼称の違いのみに基づいて、互いから区別されるものではない。
【0010】
本明細書および本図面において、特別な説明が無い限りは、形状や幾何学的条件並びにそれらの程度を特定する、例えば、「平行」や「直交」等の用語や長さや角度の値等については、厳密な意味に縛られることなく、同様の機能を期待してもよい程度の範囲を含めて解釈する。
(【0011】以降は省略されています)
この特許をJ-PlatPat(特許庁公式サイト)で参照する
関連特許
大日本印刷株式会社
印刷物
1か月前
大日本印刷株式会社
印刷物
1か月前
大日本印刷株式会社
太陽電池
1か月前
大日本印刷株式会社
除電装置
1か月前
大日本印刷株式会社
装飾パネル
17日前
大日本印刷株式会社
プリフォーム
24日前
大日本印刷株式会社
インテリア用品
29日前
大日本印刷株式会社
位置決め搬送装置
9日前
大日本印刷株式会社
旅行記作成システム
1か月前
大日本印刷株式会社
プラスチックボトル
24日前
大日本印刷株式会社
調光部材及び合わせ板
1か月前
大日本印刷株式会社
化粧シート及び化粧材
1か月前
大日本印刷株式会社
広告ボード体および脚体
8日前
大日本印刷株式会社
加飾シート及び樹脂成形品
16日前
大日本印刷株式会社
再配線層及びその製造方法
1か月前
大日本印刷株式会社
処理装置、判断方法及び評価方法
1か月前
大日本印刷株式会社
マスク及び有機デバイスの製造方法
1日前
大日本印刷株式会社
紙印刷物および紙印刷物の製造方法
1か月前
大日本印刷株式会社
マスク及び有機デバイスの製造方法
1日前
大日本印刷株式会社
音響機能付き低反射透明フィルム装置
10日前
大日本印刷株式会社
光学素子及び前記光学素子を含む装置
2日前
大日本印刷株式会社
加飾シート、加飾部材及び表示システム
1か月前
大日本印刷株式会社
内容物充填システムおよび内容物充填方法
2日前
大日本印刷株式会社
マスク、蒸着方法及びデバイスの製造方法
1日前
大日本印刷株式会社
有機デバイス及び有機デバイスの製造方法
9日前
大日本印刷株式会社
情報処理システム、装着装置及びプログラム
1か月前
大日本印刷株式会社
情報処理装置、情報処理方法、及びプログラム
1か月前
大日本印刷株式会社
加飾部材の補修方法、加飾シート及び加飾部材
3日前
大日本印刷株式会社
マスク、マスク装置及びマスク装置の製造方法
1日前
大日本印刷株式会社
化粧シート、化粧シートの製造方法および化粧材
24日前
大日本印刷株式会社
化粧シート、化粧シートの製造方法および化粧材
1か月前
大日本印刷株式会社
測定システム、測定方法、測定プログラム、物体
1か月前
大日本印刷株式会社
光学シート、液晶表示装置及び有機EL表示装置
29日前
大日本印刷株式会社
化粧シート、化粧シートの製造方法および化粧材
24日前
大日本印刷株式会社
金属板の測定装置、測定方法、及び金属板の製造方法
1か月前
大日本印刷株式会社
積層体、チューブ容器及びキャップ付きチューブ容器
8日前
続きを見る
他の特許を見る