TOP
|
特許
|
意匠
|
商標
特許ウォッチ
Twitter
他の特許を見る
10個以上の画像は省略されています。
公開番号
2025177923
公報種別
公開特許公報(A)
公開日
2025-12-05
出願番号
2024085085
出願日
2024-05-24
発明の名称
マスク、蒸着方法及びデバイスの製造方法
出願人
大日本印刷株式会社
代理人
個人
,
個人
,
個人
主分類
C23C
14/04 20060101AFI20251128BHJP(金属質材料への被覆;金属質材料による材料への被覆;化学的表面処理;金属質材料の拡散処理;真空蒸着,スパッタリング,イオン注入法,または化学蒸着による被覆一般;金属質材料の防食または鉱皮の抑制一般)
要約
【課題】マスク層の位置精度を高めることができる蒸着用マスクを提供する。
【解決手段】マスクは、第1面と、第2面302と、第1面から第2面へ貫通する複数の第1開口31と、を含む基材と、第2面に対向する第3面と、第4面と、を含むマスク層40と、基材の第2面とマスク層の第3面との間に位置する中間層50と、を備え、基材は、シリコン又はシリコン化合物を含む。マスク層は、平面視において第1開口に重なる複数の第1領域43と、第2領域44と、を含み、複数の第1領域はそれぞれ、第3面から第4面へ貫通する複数の第2開口を含む有効領域431を含む。中間層は、基材の第2面に位置し、酸化珪素又は窒化珪素を含む第1中間層51と、第1中間層とマスク層との間に位置し、金属を含む第2中間層52と、を含む。第2中間層は、平面視において第1開口に重なるが第1中間層に重ならない面である露出面522を含む。
【選択図】図8
特許請求の範囲
【請求項1】
マスクであって、
第1面と、前記第1面の反対側に位置する第2面と、前記第1面から前記第2面へ貫通する複数の第1開口と、を含む基材と、
前記第2面に対向する第3面と、前記第3面の反対側に位置する第4面と、を含むマスク層と、
前記基材の前記第2面と前記マスク層の前記第3面との間に位置する中間層と、を備え、
前記基材は、シリコン又はシリコン化合物を含み、
前記マスク層は、平面視において前記第1開口に重なる複数の第1領域と、平面視において前記複数の第1領域の間及び前記複数の第1領域の外側に位置する第2領域と、を含み、
前記複数の第1領域はそれぞれ、前記第3面から前記第4面へ貫通する複数の第2開口を含む有効領域を含み、
前記中間層は、前記基材の前記第2面に位置し、酸化珪素又は窒化珪素を含む第1中間層と、前記第1中間層と前記マスク層との間に位置し、金属を含む第2中間層と、を含み、
前記第2中間層は、平面視において前記第1開口に重なるが前記第1中間層に重ならない面である露出面を含む、マスク。
続きを表示(約 840 文字)
【請求項2】
前記複数の第1領域はそれぞれ、平面視において前記有効領域を囲む周囲領域を含み、
前記第2中間層は、平面視において前記マスク層の前記第1領域の前記周囲領域及び前記第2領域に重なるように広がっている、請求項1に記載のマスク。
【請求項3】
前記第2中間層は、平面視において前記マスク層の前記第1領域の前記有効領域に重ならないよう広がっている、請求項2に記載のマスク。
【請求項4】
前記第1中間層は、0.1μm以上の厚みを有する、請求項1~3のいずれか一項に記載のマスク。
【請求項5】
前記第1中間層の厚みは、前記第2中間層の厚みよりも大きい、請求項1~3のいずれか一項に記載のマスク。
【請求項6】
前記第2中間層は、アルミニウム又はアルミニウム合金からなる層を少なくとも含む、請求項1~3のいずれか一項に記載のマスク。
【請求項7】
前記第2中間層は、チタン又はチタン合金からなる層を少なくとも含む、請求項1~3のいずれか一項に記載のマスク。
【請求項8】
前記第2中間層は、チタン又はチタン合金からなる第1層と、前記第1層と前記マスク層との間に位置し、アルミニウム又はアルミニウム合金からなる第2層と、を含む、請求項1~3のいずれか一項に記載のマスク。
【請求項9】
前記基材は、平面視において前記複数の第1開口の間に位置する内側領域と、前記基材の外縁に沿って広がり、平面視において前記複数の第1開口及び前記内側領域を囲む外側領域と、を含み、
前記マスクは、前記外側領域に接続されたフレームを備える、請求項1~3のいずれか一項に記載のマスク。
【請求項10】
前記基材の前記外側領域の前記第1面と前記フレームとの間に位置する接着剤層を備える、請求項9に記載のマスク。
(【請求項11】以降は省略されています)
発明の詳細な説明
【技術分野】
【0001】
本開示の実施形態は、マスク、蒸着方法及びデバイスの製造方法に関する。
続きを表示(約 2,300 文字)
【背景技術】
【0002】
精密なパターンを形成するための方法として、蒸着法が知られている。蒸着法においては、複数の開口が形成されたマスクが基板に組み合わされる。続いて、マスクの開口を介して蒸着材料が基板に付着される。これにより、マスクの開口のパターンに対応したパターンで、蒸着材料を含む蒸着層が基板上に形成される。蒸着法は、例えば、有機EL表示装置の画素を形成する方法として用いられている。
【0003】
例えば特許文献1は、シリコンを含む基材と、複数の開口が形成されたマスク層と、を備える蒸着マスクを開示している。シリコンを含む基材とマスク層とが組み合わされているので、マスク層の貫通孔の形状精度及び位置精度が高められる。
【先行技術文献】
【特許文献】
【0004】
国際公開2023/145951号
【発明の概要】
【発明が解決しようとする課題】
【0005】
基材に歪みなどの変形が生じると、マスク層の複数の開口の位置が全体的に理想的な位置からずれる。
【課題を解決するための手段】
【0006】
本開示の一実施形態によるマスクは、第1面と、前記第1面の反対側に位置する第2面と、前記第1面から前記第2面へ貫通する複数の第1開口と、を含む基材と、前記第2面に対向する第3面と、前記第3面の反対側に位置する第4面と、を含むマスク層と、前記基材の前記第2面と前記マスク層の前記第3面との間に位置する中間層と、を備えてもよい。前記基材は、シリコン又はシリコン化合物を含んでもよい。前記マスク層は、平面視において前記第1開口に重なる複数の第1領域と、平面視において前記複数の第1領域の間及び前記複数の第1領域の外側に位置する第2領域と、を含んでもよい。前記複数の第1領域はそれぞれ、前記第3面から前記第4面へ貫通する複数の第2開口を含む有効領域を含んでもよい。前記中間層は、前記基材の前記第2面に位置し、酸化珪素又は窒化珪素を含む第1中間層と、前記第1中間層と前記マスク層との間に位置し、金属を含む第2中間層と、を含んでもよい。前記第2中間層は、平面視において前記第1開口に重なるが前記第1中間層に重ならない面である露出面を含んでもよい。
【発明の効果】
【0007】
本開示の実施形態によれば、マスク層の位置精度を高めることができる。
【図面の簡単な説明】
【0008】
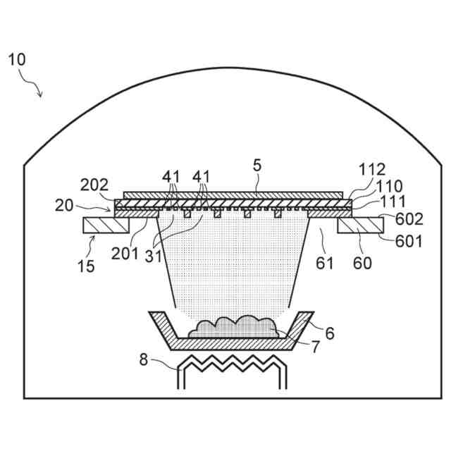
有機デバイスの一例を示す断面図である。
マスクを備えた蒸着装置の一例を示す図である。
入射面の側から見た場合のマスクの一例を示す平面図である。
出射面の側から見た場合のマスクの一例を示す平面図である。
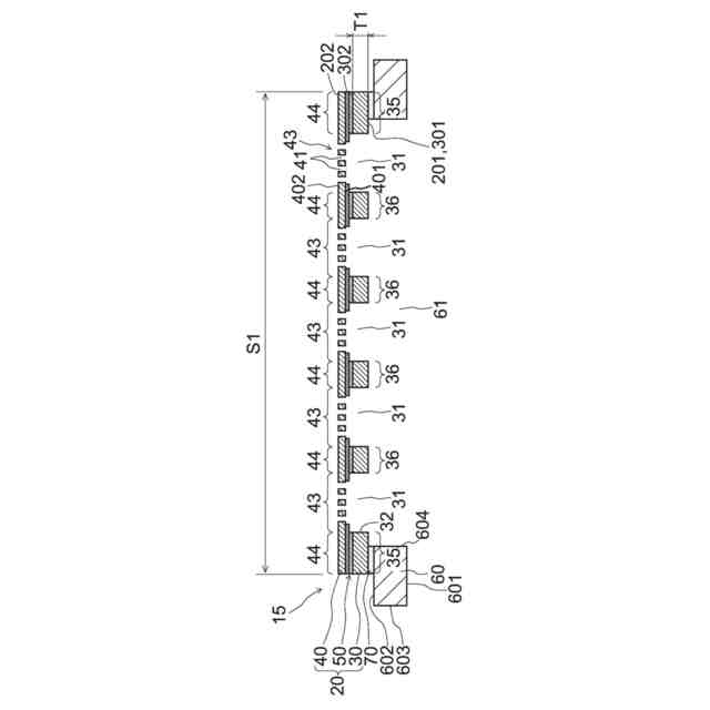
図3のマスクのV-V線に沿った断面図である。
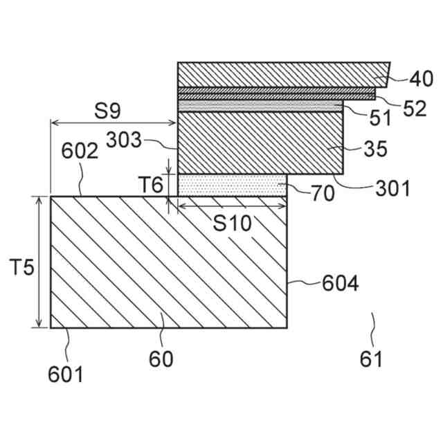
基材の外側領域及びフレームの一例を示す断面図である。
基材の第1開口及びマスク層の第1領域の一例を示す平面図である。
図7のマスクのVIII-VIII線に沿った断面図である。
基材の内側領域及びマスク層の一例を示す断面図である。
マスク層の有効領域の一例を示す断面図である。
第1中間層を形成する工程の一例を示す断面図である。
第2中間層を形成する工程の一例を示す断面図である。
第1レジスト層を形成する工程の一例を示す断面図である。
第1レジスト層を形成する工程の一例を示す平面図である。
マスク層を形成する工程の一例を示す断面図である。
マスク層の第4面を研磨する工程の一例を示す断面図である。
第1レジスト層を除去する工程の一例を示す断面図である。
保護層及び第2レジスト層を形成する工程の一例を示す断面図である。
基材を加工する工程の一例を示す断面図である。
第1中間層の一部を除去する工程の一例を示す断面図である。
第2中間層上に部分的に第3レジスト層を形成する工程の一例を示す断面図である。
第2中間層の一部を除去する工程の一例を示す断面図である。
第2レジスト層、第3レジスト層及び保護層を除去する工程の一例を示す断面図である。
マスクの一部分を加熱する加熱工程を示す図である。
マスクに照射される光の一例を示す平面図である。
マスクに照射される光の一例を示す平面図である。
マスクに照射される光の一例を示す平面図である。
加熱工程が実施される前のマスクの一例を示す平面図である。
加熱工程が実施された後のマスクの一例を示す平面図である。
一変形例によるマスクを示す断面図である。
【発明を実施するための形態】
【0009】
本明細書および本図面において、特別な説明が無い限りは、「基板」、「シート」、「フィルム」などの、ある構成の基礎となる物質を意味する用語は、呼称の違いのみに基づいて、互いから区別されるものではない。
【0010】
本明細書および本図面において、特別な説明が無い限りは、形状や幾何学的条件並びにそれらの程度を特定する、例えば、「平行」や「直交」等の用語や長さや角度の値等については、厳密な意味に縛られることなく、同様の機能を期待してもよい程度の範囲を含めて解釈する。
(【0011】以降は省略されています)
この特許をJ-PlatPat(特許庁公式サイト)で参照する
関連特許
大日本印刷株式会社
装飾パネル
18日前
大日本印刷株式会社
プリフォーム
25日前
大日本印刷株式会社
インテリア用品
1か月前
大日本印刷株式会社
位置決め搬送装置
10日前
大日本印刷株式会社
プラスチックボトル
25日前
大日本印刷株式会社
広告ボード体および脚体
9日前
大日本印刷株式会社
加飾シート及び樹脂成形品
17日前
大日本印刷株式会社
処理装置、判断方法及び評価方法
1か月前
大日本印刷株式会社
紙印刷物および紙印刷物の製造方法
1か月前
大日本印刷株式会社
マスク及び有機デバイスの製造方法
2日前
大日本印刷株式会社
マスク及び有機デバイスの製造方法
2日前
大日本印刷株式会社
音響機能付き低反射透明フィルム装置
11日前
大日本印刷株式会社
光学素子及び前記光学素子を含む装置
3日前
大日本印刷株式会社
有機デバイス及び有機デバイスの製造方法
10日前
大日本印刷株式会社
マスク、蒸着方法及びデバイスの製造方法
2日前
大日本印刷株式会社
内容物充填システムおよび内容物充填方法
3日前
大日本印刷株式会社
加飾部材の補修方法、加飾シート及び加飾部材
4日前
大日本印刷株式会社
情報処理装置、情報処理方法、及びプログラム
1か月前
大日本印刷株式会社
マスク、マスク装置及びマスク装置の製造方法
2日前
大日本印刷株式会社
光学シート、液晶表示装置及び有機EL表示装置
1か月前
大日本印刷株式会社
化粧シート、化粧シートの製造方法および化粧材
1か月前
大日本印刷株式会社
化粧シート、化粧シートの製造方法および化粧材
25日前
大日本印刷株式会社
化粧シート、化粧シートの製造方法および化粧材
25日前
大日本印刷株式会社
積層体、チューブ容器及びキャップ付きチューブ容器
9日前
大日本印刷株式会社
積層体、チューブ容器及びキャップ付きチューブ容器
9日前
大日本印刷株式会社
転写シート、転写用基材付き樹脂成形品、及び樹脂成形品
17日前
大日本印刷株式会社
マスク装置
2日前
大日本印刷株式会社
加飾シート
23日前
大日本印刷株式会社
物品の製造方法および、発泡性接着シートおよび接着剤組成物
17日前
大日本印刷株式会社
注出口付きパウチ
18日前
大日本印刷株式会社
半導体パッケージ
11日前
大日本印刷株式会社
注出口付きパウチ
18日前
大日本印刷株式会社
積層体及び包装材料
23日前
大日本印刷株式会社
積層体および包装袋
23日前
大日本印刷株式会社
蓋体、蓄電デバイス
25日前
大日本印刷株式会社
プラスチックボトル
25日前
続きを見る
他の特許を見る