TOP
|
特許
|
意匠
|
商標
特許ウォッチ
Twitter
他の特許を見る
10個以上の画像は省略されています。
公開番号
2025177932
公報種別
公開特許公報(A)
公開日
2025-12-05
出願番号
2024085096
出願日
2024-05-24
発明の名称
マスク及び有機デバイスの製造方法
出願人
大日本印刷株式会社
代理人
個人
,
個人
,
個人
主分類
C23C
14/04 20060101AFI20251128BHJP(金属質材料への被覆;金属質材料による材料への被覆;化学的表面処理;金属質材料の拡散処理;真空蒸着,スパッタリング,イオン注入法,または化学蒸着による被覆一般;金属質材料の防食または鉱皮の抑制一般)
要約
【課題】蒸着処理中の蒸着マスクの温度上昇を抑制できる、マスクを提供する。
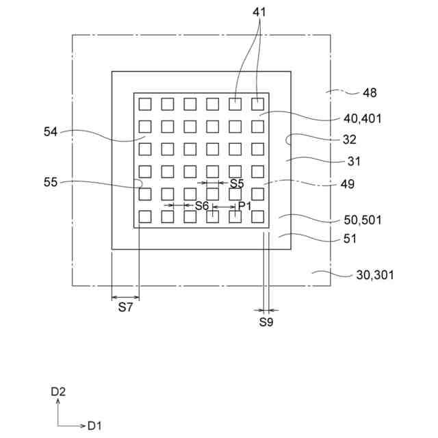
【解決手段】マスク20は、少なくとも1つの第1開口31を含む第1層30と、平面視において第1開口31に重なる複数の第2開口41を含む金属層40と、を含む。金属層40は、複数の第2開口41が形成された有効領域49と、有効領域49を取り囲む周縁領域48と、を含む。周縁領域48には、凹部又は第3開口43が形成されている。
【選択図】図6A
特許請求の範囲
【請求項1】
第1面と、前記第1面の反対側に位置する第2面と、前記第1面から前記第2面へ貫通する少なくとも1つの第1開口と、を含む第1層と、
前記第2面に対向する第3面と、前記第3面の反対側に位置する第4面と、前記第3面から前記第4面へ貫通し、平面視において前記第1開口に重なる複数の第2開口と、を含む金属層と、を含み、
前記第1層は、シリコン又はシリコン化合物を含み、
前記金属層は、前記複数の第2開口が形成された有効領域と、前記有効領域を取り囲む周縁領域と、を含み、
前記周縁領域には、前記第4面から前記第3面に向かって窪む凹部又は前記金属層を貫通する第3開口が形成されている、マスク。
続きを表示(約 780 文字)
【請求項2】
前記凹部又は前記第3開口の少なくとも一部は、前記第1層と重なる位置に形成されている、請求項1に記載のマスク。
【請求項3】
前記第1層は、複数の前記第1開口を含み、
前記凹部又は前記第3開口の少なくとも一部は、前記第1層の隣り合う前記第1開口の間の領域と重なる位置に形成されている、請求項1に記載のマスク。
【請求項4】
前記凹部又は前記第3開口の少なくとも一部は、前記第1層の外縁と前記第1開口との間の領域と重なる位置に形成されている、請求項1に記載のマスク。
【請求項5】
前記周縁領域には、前記第4面から前記第3面に向かって窪む凹部が形成されており、
前記凹部の少なくとも一部は、前記第1開口と重なる位置に形成されている、請求項1に記載のマスク。
【請求項6】
前記第2面と前記第3面との間に位置し、前記第1開口に重なる第4開口を含む中間層を含み、
前記凹部又は前記第3開口は、前記中間層と重なる位置に形成されている、請求項1に記載のマスク。
【請求項7】
前記第2面と前記第3面との間に位置し、前記第1開口に重なる第4開口を含む中間層を含み、
前記周縁領域には、前記金属層を貫通する第3開口が形成されており、
前記第3開口の少なくとも一部は、前記第1開口に重なり且つ前記中間層に重なる位置に形成されている、請求項1に記載のマスク。
【請求項8】
前記凹部又は前記第3開口内に、酸化珪素又は窒化珪素が配置されている、請求項1に記載のマスク。
【請求項9】
請求項1乃至8のいずれか一項に記載のマスクを用いる蒸着法によって基板上に有機層を形成する工程を備える、有機デバイスの製造方法。
発明の詳細な説明
【技術分野】
【0001】
本開示の実施形態は、マスク及び有機デバイスの製造方法に関する。
続きを表示(約 2,600 文字)
【背景技術】
【0002】
精密なパターンを形成するための方法として、蒸着法が知られている。蒸着法においては、まず、開口が形成されたマスクを基板に組み合わせる。続いて、マスクの開口を介して蒸着材料が基板に付着される。これにより、マスクの開口のパターンに対応したパターンで、蒸着材料を含む蒸着層を基板上に形成できる。蒸着法は、例えば、有機EL表示装置の画素を形成する方法として用いられている。特許文献1には、蒸着法に用いられるマスクが開示されている。
【先行技術文献】
【特許文献】
【0003】
特開2009-062565号公報
【発明の概要】
【発明が解決しようとする課題】
【0004】
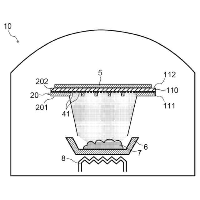
蒸着用マスクは、蒸着装置に組み込まれる。蒸着装置に組み込まれた蒸着マスクは、蒸着処理を複数回実施するために使用される。より具体的には、蒸着マスクは、第1の基板への蒸着層の形成に用いられた後、第2の基板への蒸着層の形成に用いられ、その後、第3の基板への蒸着層の形成に用いられる。このようにして、蒸着用マスクは、蒸着装置に組み込まれたまま、複数の基板に蒸着層を順々に形成するために用いられる。
【0005】
また、るつぼ等の蒸着源に収容された蒸着材料は、加熱されて蒸発し、蒸着装置内を浮遊する。蒸発した蒸着材料が蒸着用マスクを通過して基板に付着することで、蒸着層が形成される。このため、蒸着用マスクは、蒸気や蒸着材料を加熱する熱源によって加熱される。
【0006】
一つの蒸着マスクで蒸着処理を複数回連続して実施すると、蒸着マスクの温度が徐々に上昇する。このため、複数の蒸着処理における蒸着マスクの温度が異なる。一方で、製品の品質を均一にするため、蒸着処理の条件を均一にすることが望まれている。
【0007】
本開示の実施形態は、このような課題を効果的に解決し得るマスクを製造することを目的とする。
【課題を解決するための手段】
【0008】
本開示の一実施形態によるマスクは、第1面と、前記第1面の反対側に位置する第2面と、前記第1面から前記第2面へ貫通する少なくとも1つの第1開口と、を含む第1層と、前記第2面に対向する第3面と、前記第3面の反対側に位置する第4面と、前記第3面から前記第4面へ貫通し、平面視において前記第1開口に重なる複数の第2開口と、を含む金属層と、を含んでもよく、前記第1層は、シリコン又はシリコン化合物を含んでもよく、前記金属層は、前記複数の第2開口が形成された有効領域と、前記有効領域を取り囲む周縁領域と、を含んでもよく、前記周縁領域には、前記第4面から前記第3面に向かって窪む凹部又は前記金属層を貫通する第3開口が形成されていてもよい。
【発明の効果】
【0009】
本開示の実施形態によれば、蒸着処理中の蒸着マスクの温度上昇を抑制できる。
【図面の簡単な説明】
【0010】
有機デバイスの一例を示す断面図である。
マスクを備えた蒸着装置の一例を示す図である。
入射面の側から見た場合のマスクの一例を示す平面図である。
出射面の側から見た場合のマスクの一例を示す平面図である。
図3の二点鎖線で囲まれた部分を拡大して示す図である。
図5Aに示す部分を出射面の側から見た図である。
図3に示すマスクのVI-VI線に沿った断面を示す図である。
図6Aの二点鎖線で囲まれた部分を拡大して示す図である。
図6Aに示すマスクの製造方法の一工程を示す断面図である。
図6Aに示すマスクの製造方法の一工程を示す断面図である。
図6Aに示すマスクの製造方法の一工程を示す断面図である。
図9Aの二点鎖線で囲まれた部分を拡大して示す図である。
図6Aに示すマスクの製造方法の一工程を示す断面図である。
図6Aに示すマスクの製造方法の一工程を示す断面図である。
図6Aに示すマスクの製造方法の一工程を示す断面図である。
図6Aに示すマスクの製造方法の一工程を示す断面図である。
図6Aに示すマスクの製造方法の一工程を示す断面図である。
図6Aに示すマスクの製造方法の一工程を示す断面図である。
図6Aに示すマスクの製造方法の一工程を示す断面図である。
図6Aに示すマスクの製造方法の一工程を示す断面図である。
図6Aに示すマスクの製造方法の一工程を示す断面図である。
図6Aに対応する図であって、マスクの一変形例を示す平面図である。
図19Aの二点鎖線で囲まれた部分を拡大して示す図である。
図19Aに示すマスクの製造方法の一工程を示す断面図である。
図19Aに示すマスクの製造方法の一工程を示す断面図である。
図21Aの二点鎖線で囲まれた部分を拡大して示す図である。
図19Aに示すマスクの製造方法の一工程を示す断面図である。
図19Aに示すマスクの製造方法の変形例の一工程を示す断面図である。
図19Aに示すマスクの製造方法の変形例の一工程を示す断面図である。
図19Aに示すマスクの製造方法の変形例の一工程を示す断面図である。
図25Aの二点鎖線で囲まれた部分を拡大して示す図である。
図19Aに示すマスクの製造方法の変形例の一工程を示す断面図である。
図6Aに示すマスクの製造方法の変形例の一工程を示す断面図である。
図6Aに示すマスクの製造方法の変形例の一工程を示す断面図である。
図6Aに示すマスクの製造方法の変形例の一工程を示す断面図である。
図6Aに示すマスクの製造方法の変形例の一工程を示す断面図である。
図6Aに示すマスクの製造方法の変形例の一工程を示す断面図である。
有機デバイスを備える装置の一例を示す図である。
【発明を実施するための形態】
(【0011】以降は省略されています)
この特許をJ-PlatPat(特許庁公式サイト)で参照する
関連特許
大日本印刷株式会社
印刷物
1か月前
大日本印刷株式会社
印刷物
1か月前
大日本印刷株式会社
除電装置
1か月前
大日本印刷株式会社
太陽電池
1か月前
大日本印刷株式会社
装飾パネル
18日前
大日本印刷株式会社
積層シート
1か月前
大日本印刷株式会社
床用化粧材
1か月前
大日本印刷株式会社
プリフォーム
25日前
大日本印刷株式会社
インテリア用品
1か月前
大日本印刷株式会社
位置決め搬送装置
10日前
大日本印刷株式会社
旅行記作成システム
1か月前
大日本印刷株式会社
プラスチックボトル
25日前
大日本印刷株式会社
積層体および包装容器
1か月前
大日本印刷株式会社
積層体および包装容器
1か月前
大日本印刷株式会社
調光部材及び合わせ板
1か月前
大日本印刷株式会社
化粧シート及び化粧材
1か月前
大日本印刷株式会社
広告ボード体および脚体
9日前
大日本印刷株式会社
加飾シート及び樹脂成形品
1か月前
大日本印刷株式会社
再配線層及びその製造方法
1か月前
大日本印刷株式会社
加飾シート及び樹脂成形品
17日前
大日本印刷株式会社
情報処理装置及びプログラム
1か月前
大日本印刷株式会社
処理装置、判断方法及び評価方法
1か月前
大日本印刷株式会社
マスク及び有機デバイスの製造方法
2日前
大日本印刷株式会社
水素センサおよび水素検知システム
1か月前
大日本印刷株式会社
マスク及び有機デバイスの製造方法
2日前
大日本印刷株式会社
紙印刷物および紙印刷物の製造方法
1か月前
大日本印刷株式会社
音響機能付き低反射透明フィルム装置
11日前
大日本印刷株式会社
位相差板、光学部材、及び、表示装置
1か月前
大日本印刷株式会社
光学素子及び前記光学素子を含む装置
3日前
大日本印刷株式会社
加飾シート、加飾部材及び表示システム
1か月前
大日本印刷株式会社
熱転写シートと中間転写媒体との組合せ
1か月前
大日本印刷株式会社
有機デバイス及び有機デバイスの製造方法
10日前
大日本印刷株式会社
マスク、蒸着方法及びデバイスの製造方法
2日前
大日本印刷株式会社
内容物充填システムおよび内容物充填方法
3日前
大日本印刷株式会社
情報処理装置、情報処理方法及びプログラム
1か月前
大日本印刷株式会社
情報処理装置、情報処理方法及びプログラム
1か月前
続きを見る
他の特許を見る