TOP
|
特許
|
意匠
|
商標
特許ウォッチ
Twitter
他の特許を見る
10個以上の画像は省略されています。
公開番号
2025154885
公報種別
公開特許公報(A)
公開日
2025-10-10
出願番号
2024058138
出願日
2024-03-29
発明の名称
熱転写シートと中間転写媒体との組合せ
出願人
大日本印刷株式会社
代理人
個人
,
個人
主分類
B41M
5/52 20060101AFI20251002BHJP(印刷;線画機;タイプライター;スタンプ)
要約
【課題】熱転写シートを用いて中間転写媒体に熱転写画像を形成する際、熱転写シートと中間転写媒体とを密着後に剥離したときの、中間転写媒体を構成する各層間の剥離力が適切な、熱転写シートと中間転写媒体との組合せの提供。
【解決手段】本開示の熱転写シートと中間転写媒体との組合せは、基材と色材層とを備える熱転写シートと、離型部材と転写シートとを備える中間転写媒体とを備え、転写シートは離型部材側から保護基材と転写層とをこの順に有し、離型部材は転写シート側から剥離層、接着層およびライナー基材をこの順に有し、転写シートの離型部材側とは反対側の表面から、転写シートを貫通して離型部材に至る切れ込みが設けられ、転写シートのうち、切れ込みを外周として区画された領域をパッチとして被転写体に転写可能であって、70℃においてパッチを離型部材から角度90°で剥離した際の保護基材と剥離層との間の剥離力が10gf/cm以下であり、25℃においてパッチを離型部材から角度90°で剥離した際の保護基材と剥離層との間の剥離力が熱転写画像形成時に熱転写シートを転写シートから剥離した際の、色材層と転写層との間の剥離力よりも大きい。
【選択図】なし
特許請求の範囲
【請求項1】
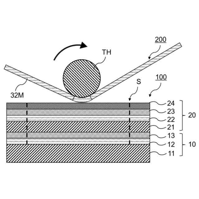
基材と、少なくとも1以上の色材層とを備える、熱転写シートと、
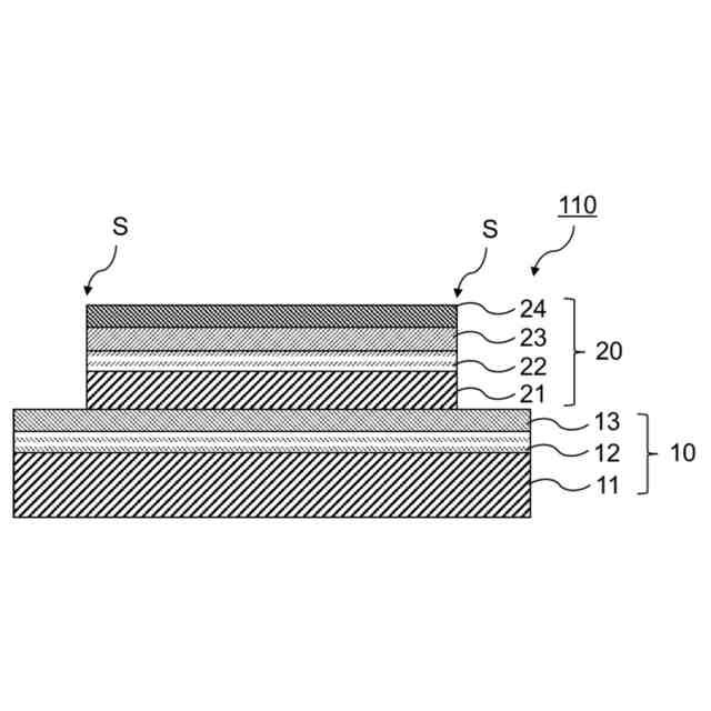
離型部材と、前記離型部材に積層された転写シートとを備える、中間転写媒体とを備え、
前記転写シートは、前記離型部材側から、保護基材と、転写層とをこの順に有し、
前記離型部材は、前記転写シート側から、剥離層、接着層およびライナー基材をこの順に有し、
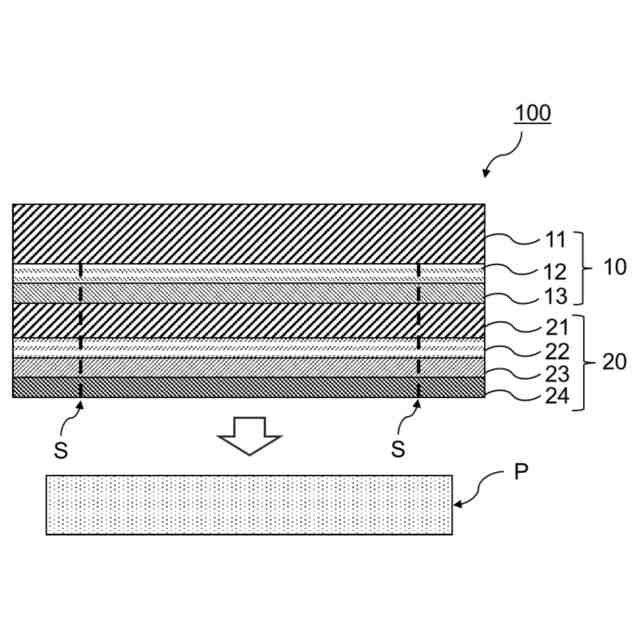
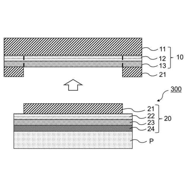
前記転写シートの前記離型部材側とは反対側の表面から、前記転写シートを貫通して前記離型部材に至る切れ込みが設けられ、
前記転写シートのうち、前記切れ込みを外周として区画された領域をパッチとして被転写体に転写可能である、熱転写シートと中間転写媒体との組合せであって、
70℃において、前記パッチを前記離型部材から角度90°で剥離した際の、前記保護基材と前記剥離層との間の剥離力が、10gf/cm以下であり、
25℃において、前記パッチを前記離型部材から角度90°で剥離した際の、前記保護基材と前記剥離層との間の剥離力が、前記熱転写シートを前記転写シートから剥離した際の、前記色材層と前記転写層との間の剥離力よりも大きい、熱転写シートと中間転写媒体との組合せ。
続きを表示(約 350 文字)
【請求項2】
前記中間転写媒体は、前記転写シートのうち、前記パッチの外側の領域が除去されて、前記離型部材が露出しており、
前記熱転写シートを前記離型部材から剥離した際の、前記色材層と前記剥離層との間の熱時剥離力が、55gf/cm以下である、請求項1に記載の熱転写シートと中間転写媒体との組合せ。
【請求項3】
前記転写層が、前記保護基材と反対側の表面に位置する受容層と、前記受容層に接する中間層と、を少なくとも有する、請求項1または2に記載の熱転写シートと中間転写媒体との組合せ。
【請求項4】
前記熱転写シートが、前記色材層として、少なくともイエロー色材層とマゼンタ色材層とを面順次に備える、請求項1または2に記載の熱転写シートと中間転写媒体との組合せ。
発明の詳細な説明
【技術分野】
【0001】
本発明は、熱転写シートと中間転写媒体との組合せに関する。
続きを表示(約 1,900 文字)
【背景技術】
【0002】
基材シート上に着色転写層を形成した熱転写シートにおいて、その背面からサーマルヘッド等により、画像状に加熱して、上記の着色転写層を熱転写受像シートの表面に熱転写して、画像形成する、種々の熱転写方法が知られている。この熱転写方法によれば、フルカラー画像の形成が可能であり、例えば、イエロー、マゼンタ、シアンさらに必要に応じて、ブラックの三色ないし四色の熱転写シートを用意し、同一の熱転写受像シートの表面に各色の画像を重ねて熱転写して、フルカラー画像を形成できるものである。この熱転写方法による熱転写受像シートの具体的な用途は、多岐にわたっている。
【0003】
上記の熱転写受像シートの用途の多様化に伴い、任意の対象物に熱転写画像を形成する要求が高まっている。通常は、熱転写画像を形成する対象物として、基材上に受容層を設けた専用の熱転写受像シートを用いているが、基材等に制約がある場合、受容層が基材上に剥離可能に設けられた中間転写媒体で、その受容層に染料層を有する熱転写シートを用いて、染料を転写して画像を形成し、その後に中間転写媒体を加熱して、受容層を任意の被転写体上に転写する方法が提案されている。
【0004】
特許文献1には、中間転写媒体を用いて任意の対象物に熱転写画像を形成する技術が開示されている。具体的には、樹脂層、剥離層を設けたシート基材と、接着層を設けた透明シートが積層され、該剥離層と透明シートの間で剥離して、被転写体へ接着層付きの透明シートが転写される中間転写媒体が開示されている。特許文献1に開示された中間転写媒体は、剥離層に特定のセルロース樹脂を用いることで、被転写体に透明シートを転写する際に、被転写体と熱融着することを防止するものである。
【0005】
また、熱転写画像を形成する対象物として、IDカードやクレジットカードでは、できるだけ券面全体に画像形成して外縁部の余白を少なくし、当該画像を保護層形成等により適切に保護することが求められる。
【0006】
特許文献2には、被転写体の外縁部の余白を少なくして熱転写画像を形成(「エッジtoエッジ印画」という場合がある)することが可能な中間転写媒体が開示されている。特許文献2に開示された中間転写媒体は、離型部材から剥離可能な転写シートを備え、転写シートは離型部材側から、保護基材と転写層とをこの順に有し、転写シートの表面から当該転写シートを貫通して離型部材に至る切れ込みが設けられており、転写シートのうち、切れ込みを外周として区画された領域をパッチとして被転写体に転写可能とされている。さらに、転写シートは、保護基材側から、剥離層、保護層および受容層を有している。
【0007】
特許文献2に開示された中間転写媒体では、被転写体と密着させた後に剥離させると、パッチ枠内の被転写領域では、離型部材と転写シートとの界面で剥離する。これにより、パッチ枠内では、転写シートが保護基材によって保護される。これに対して、パッチ枠外(パッチの外縁部)の被転写領域では、転写シートにおける保護基材と転写層との界面(すなわち、保護基材と剥離層との界面)で剥離する。したがって、当該中間転写媒体を用いることで、外縁部の余白が少ない印画物を得ることができる。
【先行技術文献】
【特許文献】
【0008】
特許第5115224号公報
特開2020-163781号公報
【発明の概要】
【発明が解決しようとする課題】
【0009】
特許文献1および特許文献2に開示された中間転写媒体によれば、被転写体と中間転写媒体とを密着させて、熱転写画像を含む透明シートあるいは転写シート(パッチ)を被転写体に転写した後、パッチと剥離層との間で容易に剥離することが可能である。
【0010】
しかしながら、特許文献1および特許文献2に開示された中間転写媒体では、熱転写シートを用いて中間転写媒体に熱転写画像を形成する際、熱転写シートと中間転写媒体とを密着させた後、熱転写シートと中間転写媒体とを剥離したときの、熱転写シートと中間転写媒体を構成する受容層または剥離層との間の剥離力、および中間転写媒体を構成する転写シート(パッチ)と剥離層との間の剥離力について、十分な検討がなされていないという課題があった。
(【0011】以降は省略されています)
この特許をJ-PlatPat(特許庁公式サイト)で参照する
関連特許
大日本印刷株式会社
除電装置
25日前
大日本印刷株式会社
装飾パネル
3日前
大日本印刷株式会社
プリフォーム
10日前
大日本印刷株式会社
インテリア用品
15日前
大日本印刷株式会社
プラスチックボトル
10日前
大日本印刷株式会社
旅行記作成システム
29日前
大日本印刷株式会社
調光部材及び合わせ板
29日前
大日本印刷株式会社
化粧シート及び化粧材
18日前
大日本印刷株式会社
加飾シート及び樹脂成形品
2日前
大日本印刷株式会社
処理装置、判断方法及び評価方法
17日前
大日本印刷株式会社
紙印刷物および紙印刷物の製造方法
17日前
大日本印刷株式会社
加飾シート、加飾部材及び表示システム
23日前
大日本印刷株式会社
情報処理システム、装着装置及びプログラム
29日前
大日本印刷株式会社
情報処理装置、情報処理方法、及びプログラム
16日前
大日本印刷株式会社
化粧シート、化粧シートの製造方法および化粧材
17日前
大日本印刷株式会社
光学シート、液晶表示装置及び有機EL表示装置
15日前
大日本印刷株式会社
化粧シート、化粧シートの製造方法および化粧材
10日前
大日本印刷株式会社
化粧シート、化粧シートの製造方法および化粧材
10日前
大日本印刷株式会社
合掌ガセット袋および合掌ガセット袋用シート製造方法
23日前
大日本印刷株式会社
転写シート、転写用基材付き樹脂成形品、及び樹脂成形品
2日前
大日本印刷株式会社
コンピュータプログラム、情報処理方法及び情報処理装置
25日前
大日本印刷株式会社
仮想空間監視装置、プログラム及び仮想空間監視システム
24日前
大日本印刷株式会社
加飾シート
8日前
大日本印刷株式会社
物品の製造方法および、発泡性接着シートおよび接着剤組成物
2日前
大日本印刷株式会社
配線基板群、配線基板群の製造方法、及び配線基板の製造方法
25日前
大日本印刷株式会社
注出口付きパウチ
3日前
大日本印刷株式会社
注出口付きパウチ
3日前
大日本印刷株式会社
積層体及び包装材料
8日前
大日本印刷株式会社
積層体および包装袋
8日前
大日本印刷株式会社
蓋体、蓄電デバイス
10日前
大日本印刷株式会社
プラスチックボトル
10日前
大日本印刷株式会社
加飾シート及び樹脂成形品
2日前
大日本印刷株式会社
検出装置及び放射線特定装置
17日前
大日本印刷株式会社
液体保存容器、液体入り容器、液体入り容器の製造方法、及び液体の製造方法
16日前
大日本印刷株式会社
内容物充填システム及び殺菌方法
23日前
大日本印刷株式会社
プリフォーム及びプラスチックボトル
10日前
続きを見る
他の特許を見る