TOP
|
特許
|
意匠
|
商標
特許ウォッチ
Twitter
他の特許を見る
10個以上の画像は省略されています。
公開番号
2025166138
公報種別
公開特許公報(A)
公開日
2025-11-05
出願番号
2025134348,2024144525
出願日
2025-08-12,2023-08-31
発明の名称
検出装置及び放射線特定装置
出願人
大日本印刷株式会社
代理人
個人
,
個人
,
個人
主分類
G01T
1/18 20060101AFI20251028BHJP(測定;試験)
要約
【課題】その他の放射線が放射線検出器に到達することがあり、その他の放射線に関するデータの有用性は、コンプトン散乱のデータの有用性に比べて低い。
【解決手段】放射線を検出する検出装置は、ガスが収容されている容器と、容器の内部に位置し、コンプトン散乱によって発生した電子を検出してアナログ信号を生成する電子検出器と、電子検出器に対向するドリフト電極と、コンプトン散乱によって散乱された放射線を検出してアナログ信号を生成する放射線検出器と、放射線検出器によって生成されたアナログ信号をデジタル化して第1データを生成し、第1データを第1バッファに格納する第1読出回路と、電子検出器によって生成されたアナログ信号をデジタル化して第2データを生成する第2読出回路と、を備える。第1読出回路は、第1バッファに格納されている第1データを含む第1最終データを、第1トリガー信号に応じて外部のコンピュータへ送信する。
【選択図】図1
特許請求の範囲
【請求項1】
放射線を検出する検出装置であって、
ガスが収容されている容器と、
前記容器の内部に位置し、コンプトン散乱によって発生した電子を検出してアナログ信号を生成する電子検出器と、
前記電子検出器に対向するドリフト電極と、
前記コンプトン散乱によって散乱された放射線を検出してアナログ信号を生成する放射線検出器と、
前記放射線検出器によって生成された前記アナログ信号をデジタル化して第1データを生成し、前記第1データを第1バッファに格納する第1読出回路と、
前記電子検出器によって生成された前記アナログ信号をデジタル化して第2データを生成する第2読出回路と、を備え、
前記第1読出回路は、前記第1バッファに格納されている前記第1データを含む第1最終データを、前記放射線検出器の前記アナログ信号を起点として生成された第1トリガー信号に応じて外部のコンピュータへ送信し、
前記第1最終データは、前記第1データが前記第1バッファに格納された時刻に関する情報を含む、検出装置。
続きを表示(約 1,200 文字)
【請求項2】
前記放射線検出器は、複数の検出素子を含み、
前記第1最終データは、前記放射線検出器上における放射線の到達位置に関する情報を含む、請求項1に記載の検出装置。
【請求項3】
前記第1最終データは、前記放射線検出器によって生成された前記アナログ信号の強度に関する情報を含む、請求項2に記載の検出装置。
【請求項4】
前記第1読出回路の前記第1バッファは、第1格納期間の間、前記第1データを保持し、
前記第1格納期間は、最大移動時間以下であり、
前記最大移動時間は、電子が前記ドリフト電極から前記電子検出器まで移動することに要する時間である、請求項1に記載の検出装置。
【請求項5】
前記検出装置は、前記第1読出回路及び前記第2読出回路に接続された論理回路を備え、
前記論理回路は、前記放射線検出器の前記アナログ信号を起点として前記第1トリガー信号を生成する、請求項1~4のいずれか一項に記載の検出装置。
【請求項6】
前記第1トリガー信号は、前記第2データの生成に応じて生成される、請求項1~4のいずれか一項に記載の検出装置。
【請求項7】
前記第1読出回路は、前記放射線検出器の前記アナログ信号の強度が閾値を超えたときに第1ヒット信号を生成し、
前記第1トリガー信号は、前記第1ヒット信号が生成されてから第1遅延時間が経過した後に生成される、請求項1~4のいずれか一項に記載の検出装置。
【請求項8】
前記放射線検出器は、検出遅延時間(ΔT3)を有し、
前記検出遅延時間(ΔT3)に基づいて、コンプトン散乱によって発生した電子が前記電子検出器まで移動することに要する時間(ΔT2)が算出される、請求項1~4のいずれか一項に記載の検出装置。
【請求項9】
前記放射線検出器によって放射線が検出されてから前記電子検出器によって電子が検出されるまでの時間(ΔT4)に、前記検出遅延時間(ΔT3)を加えることによって、コンプトン散乱によって発生した電子が前記電子検出器まで移動することに要する時間(ΔT2)が算出される、請求項8に記載の検出装置。
【請求項10】
前記第1読出回路は、前記放射線検出器の前記アナログ信号の強度が閾値を超えたときに第1ヒット信号を生成し、
前記第2読出回路は、前記電子検出器の前記アナログ信号の強度が閾値を超えたときに第2ヒット信号を生成し、
前記放射線検出器によって放射線が検出されてから前記電子検出器によって電子が検出されるまでの前記時間(ΔT4)は、前記第1ヒット信号が立ち上がる時刻と、前記第2ヒット信号が立ち上がる時刻との差である、請求項9に記載の検出装置。
(【請求項11】以降は省略されています)
発明の詳細な説明
【技術分野】
【0001】
本開示の実施形態は、放射線を検出する検出装置及び放射線特定装置に関する。
続きを表示(約 1,500 文字)
【背景技術】
【0002】
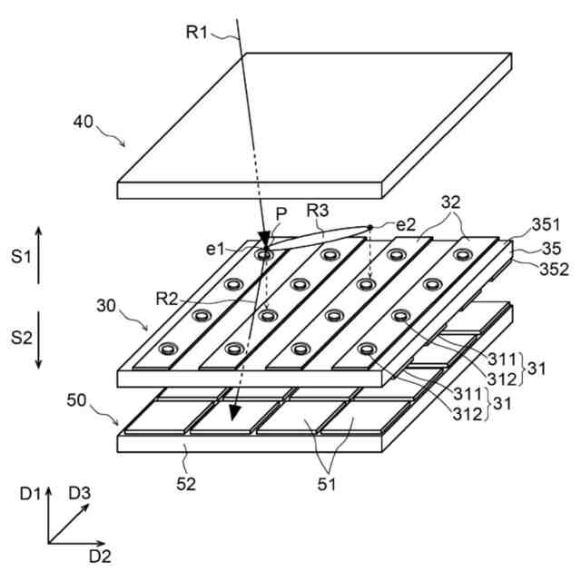
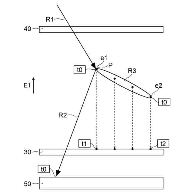
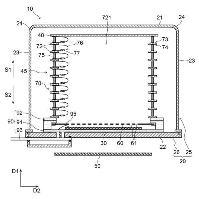
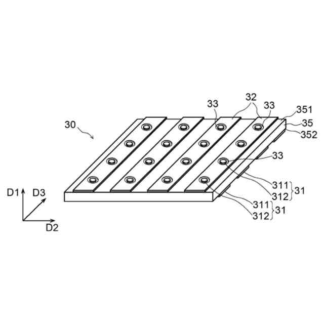
放射線を検出する装置として、例えば特許文献1~3に開示されているように、コンプトン散乱された放射線及びコンプトン散乱によって発生した電子を検出する検出装置が知られている。検出装置は、ガスが収容されている容器と、コンプトン散乱によって発生した電子を検出する電子検出器と、コンプトン散乱によって散乱された放射線を検出する放射線検出器と、を備える。
【0003】
電子検出器によって検出される電子に関するデータは、放射線の分析に役立つ。例えば特許文献1に記載されているように、放射線の散乱方向に関する情報が、放射線検出器によって検出された放射線の位置に関する情報と、電子の発生点に関する情報とから算出される。
【先行技術文献】
【特許文献】
【0004】
特開2015-148448号公報
特開2016-161522号公報
国際公開第2017/209059号
【発明の概要】
【発明が解決しようとする課題】
【0005】
コンプトン散乱によって散乱された放射線に加えて、その他の放射線が放射線検出器に到達することがある。その他の放射線は、容器の内部で散乱されずに放射線検出器に到達する放射線、容器を通過せずに放射線検出器に到達する放射線などである。その他の放射線は、容器の内部における電子の発生を伴わない。このため、その他の放射線に関する分析は、コンプトン散乱によって散乱された放射線の分析に比べて制限される。従って、その他の放射線に関するデータの有用性は、コンプトン散乱によって散乱された放射線のデータの有用性に比べて低い。
【0006】
放射線検出器によって取得された放射線のデータは、コンピュータへ送信される。放射線検出器によって取得された放射線に関する全てのデータがコンピュータに送信されると、コンピュータの負荷が重くなる。
【0007】
本開示の実施形態は、このような課題を効果的に解決し得る検出装置を提供することを目的とする。
【課題を解決するための手段】
【0008】
本開示の実施形態は、以下の[1]~[28]に関する。
[1] 放射線を検出する検出装置であって、
ガスが収容されている容器と、
前記容器の内部に位置し、コンプトン散乱によって発生した電子を検出してアナログ信号を生成する電子検出器と、
前記電子検出器に対向するドリフト電極と、
前記コンプトン散乱によって散乱された放射線を検出してアナログ信号を生成する放射線検出器と、
前記放射線検出器によって生成された前記アナログ信号をデジタル化して第1データを生成し、前記第1データを第1バッファに格納する第1読出回路と、
前記電子検出器によって生成された前記アナログ信号をデジタル化して第2データを生成する第2読出回路と、を備え、
前記第1読出回路は、前記第1バッファに格納されている前記第1データを含む第1最終データを、第1トリガー信号に応じて外部のコンピュータへ送信する、検出装置。
【0009】
[2] [1]に記載の検出装置において、前記第1最終データは、前記第1データが前記第1バッファに格納された時刻に関する情報を含んでいてもよい。
【0010】
[3] [1]又は[2]に記載の検出装置において、前記放射線検出器は、複数の検出素子を含んでいてもよく、前記第1最終データは、前記放射線検出器上における放射線の到達位置に関する情報を含んでいてもよい。
(【0011】以降は省略されています)
この特許をJ-PlatPat(特許庁公式サイト)で参照する
関連特許
大日本印刷株式会社
太陽電池
1か月前
大日本印刷株式会社
除電装置
1か月前
大日本印刷株式会社
装飾パネル
10日前
大日本印刷株式会社
プリフォーム
17日前
大日本印刷株式会社
インテリア用品
22日前
大日本印刷株式会社
位置決め搬送装置
2日前
大日本印刷株式会社
プラスチックボトル
17日前
大日本印刷株式会社
旅行記作成システム
1か月前
大日本印刷株式会社
化粧シート及び化粧材
25日前
大日本印刷株式会社
調光部材及び合わせ板
1か月前
大日本印刷株式会社
広告ボード体および脚体
1日前
大日本印刷株式会社
加飾シート及び樹脂成形品
9日前
大日本印刷株式会社
処理装置、判断方法及び評価方法
24日前
大日本印刷株式会社
紙印刷物および紙印刷物の製造方法
24日前
大日本印刷株式会社
音響機能付き低反射透明フィルム装置
3日前
大日本印刷株式会社
加飾シート、加飾部材及び表示システム
1か月前
大日本印刷株式会社
有機デバイス及び有機デバイスの製造方法
2日前
大日本印刷株式会社
情報処理システム、装着装置及びプログラム
1か月前
大日本印刷株式会社
情報処理装置、情報処理方法、及びプログラム
23日前
大日本印刷株式会社
化粧シート、化粧シートの製造方法および化粧材
24日前
大日本印刷株式会社
光学シート、液晶表示装置及び有機EL表示装置
22日前
大日本印刷株式会社
化粧シート、化粧シートの製造方法および化粧材
17日前
大日本印刷株式会社
化粧シート、化粧シートの製造方法および化粧材
17日前
大日本印刷株式会社
積層体、チューブ容器及びキャップ付きチューブ容器
1日前
大日本印刷株式会社
金属板の測定装置、測定方法、及び金属板の製造方法
1か月前
大日本印刷株式会社
積層体、チューブ容器及びキャップ付きチューブ容器
1日前
大日本印刷株式会社
合掌ガセット袋および合掌ガセット袋用シート製造方法
1か月前
大日本印刷株式会社
転写シート、転写用基材付き樹脂成形品、及び樹脂成形品
9日前
大日本印刷株式会社
コンピュータプログラム、情報処理方法及び情報処理装置
1か月前
大日本印刷株式会社
仮想空間監視装置、プログラム及び仮想空間監視システム
1か月前
大日本印刷株式会社
加飾シート
15日前
大日本印刷株式会社
物品の製造方法および、発泡性接着シートおよび接着剤組成物
9日前
大日本印刷株式会社
配線基板群、配線基板群の製造方法、及び配線基板の製造方法
1か月前
大日本印刷株式会社
注出口付きパウチ
10日前
大日本印刷株式会社
半導体パッケージ
3日前
大日本印刷株式会社
注出口付きパウチ
10日前
続きを見る
他の特許を見る