TOP
|
特許
|
意匠
|
商標
特許ウォッチ
Twitter
他の特許を見る
10個以上の画像は省略されています。
公開番号
2025170057
公報種別
公開特許公報(A)
公開日
2025-11-14
出願番号
2025146437,2024071616
出願日
2025-09-03,2019-03-25
発明の名称
積層体および包装袋
出願人
大日本印刷株式会社
代理人
個人
,
個人
主分類
B32B
27/32 20060101AFI20251107BHJP(積層体)
要約
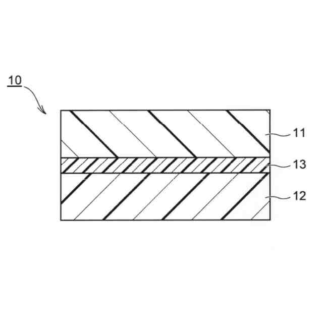
【課題】十分な強度および耐熱性を有し、かつリサイクル性およびガスバリア性にも優れる包装袋などの作製を可能とする、積層体の提供
【解決手段】本発明の積層体は、基材と、シーラント層とを備え、基材およびシーラント層は、同一の材料により構成され、基材は、延伸処理および電子線照射処理の少なくとも一方が施されており、同一材料が、ポリエチレンまたはポリプロピレンであり、基材とシーラント層との間に、バリアコート層を備えることを特徴とする。
【選択図】図1
特許請求の範囲
【請求項1】
基材と、シーラント層とを備える積層体であって、
前記基材および前記シーラント層は、同一の材料により構成され、
前記基材は、延伸処理および電子線照射処理の少なくとも一方が施されており、
前記同一材料が、ポリエチレンまたはポリプロピレンであり、
前記基材と前記シーラント層との間に、バリアコート備えることを特徴とする、積層体。
続きを表示(約 480 文字)
【請求項2】
前記バリアコート層は、金属アルコキシドと水溶性高分子との混合物を、ゾルゲル法によって重縮合して得られる金属アルコキシドの加水分解物または金属アルコキシドの加水分解縮合物を少なくとも1種含むガスバリア性塗布膜である、請求項1に記載の積層体。
【請求項3】
前記バリアコート層の厚さが、0.01μm以上100μm以下である、請求項1または2に記載の積層体。
【請求項4】
前記基材と前記バリアコート層との間、または前記バリアコート層と前記シーラント層との間に、蒸着膜を備える、請求項1~3のいずれか一項に記載の積層体。
【請求項5】
前記蒸着膜が、無機酸化物により構成される、請求項4に記載の積層体。
【請求項6】
包装袋用途に用いられる、請求項1~5のいずれか一項に記載の積層体。
【請求項7】
請求項1~6のいずれか一項に記載の積層体により構成されることを特徴とする、包装袋。
【請求項8】
スパウトを備える、請求項7に記載の包装袋。
発明の詳細な説明
【技術分野】
【0001】
本発明は、包装袋などの作製に使用される積層体に関する。また、本発明は、該積層体から構成される包装袋に関する。
続きを表示(約 1,300 文字)
【0002】
従来、包装袋を構成する材料として、樹脂材料から構成される樹脂フィルムが使用されている。例えば、ポリオレフィンから構成される樹脂フィルムは、適度な柔軟性、透明性を有すると共に、ヒートシール性に優れるため、包装袋に広く使用されている。
【0003】
通常、ポリオレフィンから構成される樹脂フィルムは、強度や耐熱性の面で劣るため、包装袋などを構成するための基材としては使用できず、ポリエステルやポリアミドなどから構成される樹脂フィルムなどと貼り合わせて使用されており、そのため、通常の包装袋は、基材とシーラント層とが異種の樹脂材料からなる積層体から構成されている(例えば、特許文献1)。
【0004】
近年、循環型社会の構築を求める声の高まりとともに、包装袋などには高いリサイクル性が求められている。しかしながら、従来の包装袋は上記したように異種の樹脂材料から構成されており、樹脂材料ごとに分離するのが困難であるため、リサイクルされていないのが現状である。
【先行技術文献】
【特許文献】
【0005】
特開2009-202519号公報
【発明の概要】
【発明が解決しようとする課題】
【0006】
本発明者らは、ポリエチレンフィルムまたはポリプロピレンフィルムに対し、延伸処理および電子線照射処理の少なくとも一方を施すことにより、その強度および耐熱性を著しく改善することができ、包装袋などの作製に使用される積層体が備える基材としての使用が可能となるとの知見を得た。そして、基材と同様に、シーラント層をポリオレフィンから構成することにより、積層体のリサイクル性を顕著に高めることができるとの知見を得た。
さらに、本発明者らは、バリアコート層をさらに設けることにより、本発明の積層体を用いて作製される包装袋に充填される内容物の酸素バリア性および水蒸気バリア性(ガスバリア性)を顕著に改善できるとの知見を得た。
【0007】
本発明は、上記知見に鑑みてなされたものであり、その解決しようとする課題は、十分な強度および耐熱性を有し、かつリサイクル性およびガスバリア性にも優れる包装袋などの作製を可能とする、積層体を提供することである。
【0008】
また、本発明の解決しようとする課題は、該積層体から構成される包装袋を提供することである。
【課題を解決するための手段】
【0009】
本発明の積層体は、基材と、シーラント層とを備え、
基材およびシーラント層は、同一の材料により構成され、
基材は、延伸処理および電子線照射処理の少なくとも一方が施されており、
同一材料が、ポリエチレンまたはポリプロピレンであり、
基材とシーラント層との間に、バリアコート層を備えることを特徴とする。
【0010】
一実施形態において、バリアコート層は、金属アルコキシドと水溶性高分子との混合物を、ゾルゲル法によって重縮合して得られる金属アルコキシドの加水分解物または金属アルコキシドの加水分解縮合物を少なくとも1種含むガスバリア性塗布膜である。
(【0011】以降は省略されています)
この特許をJ-PlatPat(特許庁公式サイト)で参照する
関連特許
大日本印刷株式会社
印刷物
1か月前
大日本印刷株式会社
印刷物
1か月前
大日本印刷株式会社
除電装置
23日前
大日本印刷株式会社
太陽電池
1か月前
大日本印刷株式会社
床用化粧材
1か月前
大日本印刷株式会社
装飾パネル
1日前
大日本印刷株式会社
積層シート
1か月前
大日本印刷株式会社
プリフォーム
8日前
大日本印刷株式会社
インテリア用品
13日前
大日本印刷株式会社
プラスチックボトル
8日前
大日本印刷株式会社
旅行記作成システム
27日前
大日本印刷株式会社
調光部材及び合わせ板
27日前
大日本印刷株式会社
積層体および包装容器
1か月前
大日本印刷株式会社
化粧シート及び化粧材
16日前
大日本印刷株式会社
積層体および包装容器
1か月前
大日本印刷株式会社
加飾シート及び樹脂成形品
1か月前
大日本印刷株式会社
加飾シート及び樹脂成形品
今日
大日本印刷株式会社
再配線層及びその製造方法
1か月前
大日本印刷株式会社
情報処理装置及びプログラム
1か月前
大日本印刷株式会社
処理装置、判断方法及び評価方法
15日前
大日本印刷株式会社
水素センサおよび水素検知システム
1か月前
大日本印刷株式会社
紙印刷物および紙印刷物の製造方法
15日前
大日本印刷株式会社
位相差板、光学部材、及び、表示装置
1か月前
大日本印刷株式会社
熱転写シートと中間転写媒体との組合せ
1か月前
大日本印刷株式会社
加飾シート、加飾部材及び表示システム
21日前
大日本印刷株式会社
情報処理システム、装着装置及びプログラム
27日前
大日本印刷株式会社
情報処理装置、情報処理方法及びプログラム
1か月前
大日本印刷株式会社
情報処理装置、情報処理方法及びプログラム
1か月前
大日本印刷株式会社
情報処理装置、情報処理方法、及びプログラム
14日前
大日本印刷株式会社
化粧シート、化粧シートの製造方法および化粧材
15日前
大日本印刷株式会社
加飾シート、外装部材の製造方法および外装部材
1か月前
大日本印刷株式会社
光学シート、液晶表示装置及び有機EL表示装置
13日前
大日本印刷株式会社
測定システム、測定方法、測定プログラム、物体
1か月前
大日本印刷株式会社
化粧シート、化粧シートの製造方法および化粧材
8日前
大日本印刷株式会社
化粧シート、化粧シートの製造方法および化粧材
8日前
大日本印刷株式会社
加飾積層体、転写シート、加飾部材、及び移動体
1か月前
続きを見る
他の特許を見る