TOP
|
特許
|
意匠
|
商標
特許ウォッチ
Twitter
他の特許を見る
10個以上の画像は省略されています。
公開番号
2025169434
公報種別
公開特許公報(A)
公開日
2025-11-12
出願番号
2025141230,2025003754
出願日
2025-08-27,2024-05-17
発明の名称
蓋体、蓄電デバイス
出願人
大日本印刷株式会社
代理人
個人
主分類
H01M
50/15 20210101AFI20251105BHJP(基本的電気素子)
要約
【課題】集電体の端部を好適に拘束できる蓋体および蓄電デバイスを提供する。
【解決手段】蓄電デバイスの外装体に用いられる蓋体であって、金属材料を含んで構成される蓋本体を含み、蓋本体は、蓄電デバイスの集電体の端部を収容する収容部を有する。
【選択図】図8
特許請求の範囲
【請求項1】
蓄電デバイスの外装体に用いられる蓋体であって、
金属材料を含んで構成される蓋本体を含み、
前記蓋本体は、
基部と、
前記基部から立ち上がる枠状の被覆部と、
前記蓄電デバイスの集電体の端部を収容する収容部を有し、
前記収容部の底部は、前記被覆部によって囲まれる空間内に位置し、
前記被覆部は、前記外装体を構成する外装フィルムと接合可能な幅を有する
蓋体。
続きを表示(約 560 文字)
【請求項2】
前記収容部は、前記基部を貫通しない凹部である
請求項1に記載の蓋体。
【請求項3】
樹脂材料を含んで構成され、前記蓋本体の一部を被覆する被覆体をさらに含む
請求項1または2に記載の蓋体。
【請求項4】
前記被覆部は、貫通孔、前記被覆体と反対側に凹む凹部、または、前記被覆体に向かって突出する凸部の少なくとも1つを有する
請求項3に記載の蓋体。
【請求項5】
前記被覆部の少なくとも一部は、粗面を備える
請求項1または2に記載の蓋体。
【請求項6】
電極体と、
前記電極体を封止する外装体と、を備え、
前記外装体は、
前記電極体を包む外装フィルムと、
前記外装フィルムと接合される蓋体と、含み、
前記蓋体は、
金属材料を含んで構成される蓋本体を含み、
前記蓋本体は、
基部と、
前記基部から立ち上がる枠状の被覆部と、
前記蓄電デバイスの集電体の端部を収容する収容部を有し、
前記収容部の底部は、前記被覆部によって囲まれる空間内に位置し、
前記被覆部は、前記外装フィルムと接合可能な幅を有する
蓄電デバイス。
発明の詳細な説明
【技術分野】
【0001】
本発明は、蓋体および蓄電デバイスに関する。
続きを表示(約 1,000 文字)
【背景技術】
【0002】
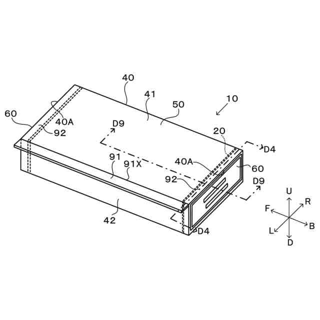
特許文献1は、蓄電デバイスの一例を開示している。この蓄電デバイスは、電極体と、集電体と、電極端子と、電極体および集電体を封止する外装体と、を備える。外装体は、電極体を包む外装フィルムと、外装フィルムと接合される蓋体と、を備える。蓋体は、例えば、金属材料によって構成され、電極端子が挿入される貫通孔が形成される。集電体の一方の端部は、電極体と接続され、他方の端部は、電極端子と接続される。
【先行技術文献】
【特許文献】
【0003】
特開2022-123686号公報
【発明の概要】
【発明が解決しようとする課題】
【0004】
電力を好適に出力するため、集電体の端部は、好適に拘束されることが好ましい。上記蓄電デバイスでは、集電体の端部を好適に拘束する点について、改善の余地がある。
【0005】
本発明は、集電体の端部を好適に拘束できる蓄電デバイス、および、この蓄電デバイスに用いられる蓋体を提供することを目的とする。
【課題を解決するための手段】
【0006】
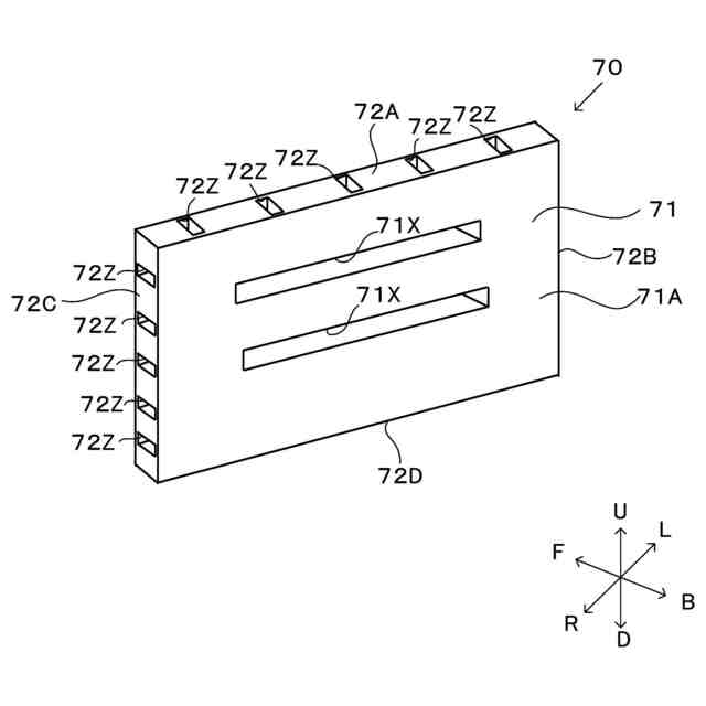
本発明の第1観点に係る蓋体は、蓄電デバイスの外装体に用いられる蓋体であって、金属材料を含んで構成される蓋本体を含み、前記蓋本体は、前記蓄電デバイスの集電体の端部を収容する収容部を有する。
【0007】
本発明の第2観点に係る蓋体は、第1観点に係る蓋体であって、前記収容部は、前記蓋本体を貫通しない凹部である。
【0008】
本発明の第3観点に係る蓋体は、第1観点または第2観点に係る蓋体であって、樹脂材料を含んで構成され、前記蓋本体の一部を被覆する被覆体をさらに含む。
【0009】
本発明の第4観点に係る蓋体は、第3観点に係る蓋体であって、前記蓋本体は、前記被覆体によって被覆される被覆部を有し、前記被覆部は、貫通孔、前記被覆体と反対側に凹む凹部、または、前記被覆体に向かって突出する凸部の少なくとも1つを有する。
【0010】
本発明の第5観点に係る蓋体は、第3観点に係る蓋体であって、前記蓋本体は、前記被覆体によって被覆される被覆部を有し、前記被覆部の少なくとも一部は、粗面を備える。
(【0011】以降は省略されています)
この特許をJ-PlatPat(特許庁公式サイト)で参照する
関連特許
大日本印刷株式会社
印刷物
1か月前
大日本印刷株式会社
印刷物
1か月前
大日本印刷株式会社
太陽電池
1か月前
大日本印刷株式会社
除電装置
23日前
大日本印刷株式会社
装飾パネル
1日前
大日本印刷株式会社
プリフォーム
8日前
大日本印刷株式会社
インテリア用品
13日前
大日本印刷株式会社
プラスチックボトル
8日前
大日本印刷株式会社
旅行記作成システム
27日前
大日本印刷株式会社
調光部材及び合わせ板
27日前
大日本印刷株式会社
化粧シート及び化粧材
16日前
大日本印刷株式会社
加飾シート及び樹脂成形品
今日
大日本印刷株式会社
処理装置、判断方法及び評価方法
15日前
大日本印刷株式会社
紙印刷物および紙印刷物の製造方法
15日前
大日本印刷株式会社
加飾シート、加飾部材及び表示システム
21日前
大日本印刷株式会社
情報処理システム、装着装置及びプログラム
27日前
大日本印刷株式会社
情報処理装置、情報処理方法、及びプログラム
14日前
大日本印刷株式会社
化粧シート、化粧シートの製造方法および化粧材
8日前
大日本印刷株式会社
光学シート、液晶表示装置及び有機EL表示装置
13日前
大日本印刷株式会社
化粧シート、化粧シートの製造方法および化粧材
15日前
大日本印刷株式会社
化粧シート、化粧シートの製造方法および化粧材
8日前
大日本印刷株式会社
金属板の測定装置、測定方法、及び金属板の製造方法
27日前
大日本印刷株式会社
合掌ガセット袋および合掌ガセット袋用シート製造方法
21日前
大日本印刷株式会社
仮想空間監視装置、プログラム及び仮想空間監視システム
22日前
大日本印刷株式会社
コンピュータプログラム、情報処理方法及び情報処理装置
23日前
大日本印刷株式会社
転写シート、転写用基材付き樹脂成形品、及び樹脂成形品
今日
大日本印刷株式会社
加飾シート
6日前
大日本印刷株式会社
動画再生装置、装着装置、動画再生システム及びプログラム
1か月前
大日本印刷株式会社
配線基板群、配線基板群の製造方法、及び配線基板の製造方法
23日前
大日本印刷株式会社
物品の製造方法および、発泡性接着シートおよび接着剤組成物
今日
大日本印刷株式会社
注出口付きパウチ
1日前
大日本印刷株式会社
注出口付きパウチ
1日前
大日本印刷株式会社
プラスチックボトル
8日前
大日本印刷株式会社
蓋体、蓄電デバイス
8日前
大日本印刷株式会社
積層体および包装袋
6日前
大日本印刷株式会社
積層体及び包装材料
6日前
続きを見る
他の特許を見る