TOP
|
特許
|
意匠
|
商標
特許ウォッチ
Twitter
他の特許を見る
10個以上の画像は省略されています。
公開番号
2025166618
公報種別
公開特許公報(A)
公開日
2025-11-06
出願番号
2024070779
出願日
2024-04-24
発明の名称
液体保存容器、液体入り容器、液体入り容器の製造方法、及び液体の製造方法
出願人
大日本印刷株式会社
代理人
個人
,
個人
,
個人
主分類
A61J
1/10 20060101AFI20251029BHJP(医学または獣医学;衛生学)
要約
【課題】安全に液体を取り出しやすい、液体保存容器を提供する。
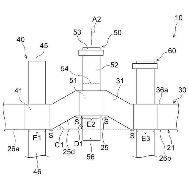
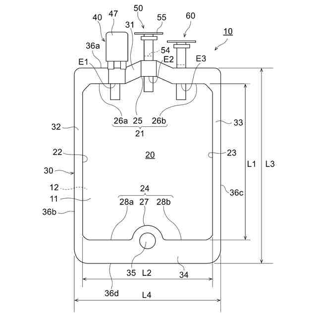
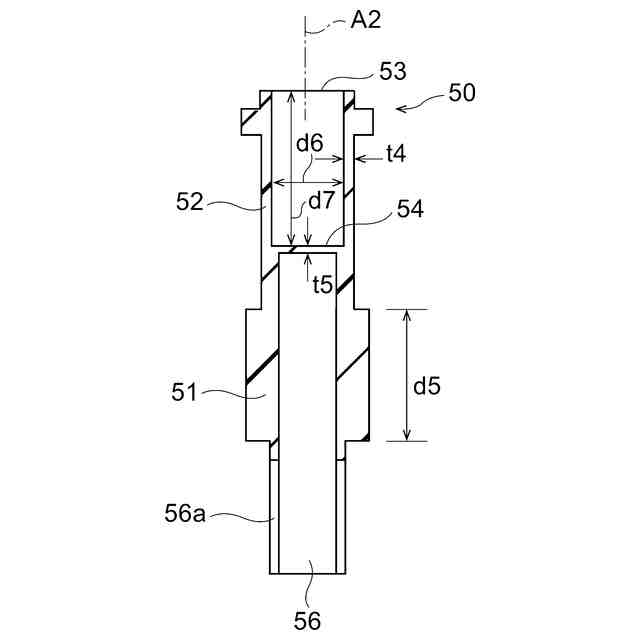
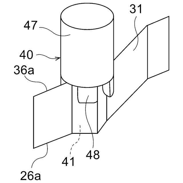
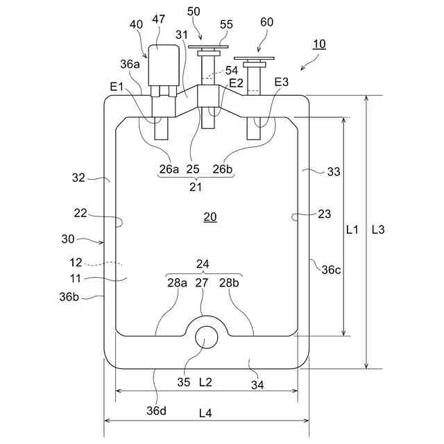
【解決手段】液体保存容器10は、収容部20と、収容部20の周囲に位置するシール部30と、シール部30にそれぞれ接続された少なくとも3つのポート40,50,60と、を備え、少なくとも3つのポート40,50,60は、シール部30に沿って並んで配置され、少なくとも3つのポートは、第1ポート40、第2ポート50及び第3ポート60を含み、第2ポート50は、収容部20の内側と外側とを隔てる隔壁54を有する非連通ポートであり、第2ポート50と収容部20との境界E2は、他のポート40,60と収容部20との境界よりも、第2ポート50の軸線方向において収容部20よりも外側に位置する。
【選択図】図1
特許請求の範囲
【請求項1】
液体保存容器であって、
収容部と、
前記収容部の周囲に位置するシール部と、
前記シール部にそれぞれ接続された少なくとも3つのポートと、を備え、
前記少なくとも3つのポートは、前記シール部に沿って並んで配置され、
前記少なくとも3つのポートは、第1ポート、第2ポート及び第3ポートを含み、
前記第2ポートは、前記収容部の内側と外側とを隔てる隔壁を有する非連通ポートであり、
前記第2ポートと前記収容部との境界は、他の前記ポートと前記収容部との境界よりも、前記第2ポートの軸線方向において前記収容部よりも外側に位置する、液体保存容器。
続きを表示(約 700 文字)
【請求項2】
前記第1ポートは、前記収容部の内側と外側とを連通する連通ポートである、請求項1に記載の液体保存容器。
【請求項3】
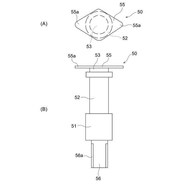
前記第2ポートは、通気性及びバクテリアバリア性を有する蓋部により覆われる、請求項1に記載の液体保存容器。
【請求項4】
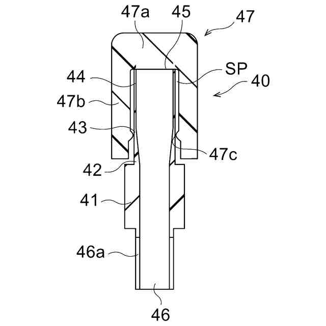
前記第1ポートは、前記シール部の外方に位置する厚肉部と、前記厚肉部よりも前記シール部から遠い側に位置する薄肉部とを有し、前記薄肉部の肉厚は前記厚肉部の肉厚よりも薄い、請求項1に記載の液体保存容器。
【請求項5】
前記薄肉部と前記厚肉部との間に、肉厚の変動する肉厚変動部が位置する、請求項4に記載の液体保存容器。
【請求項6】
前記第1ポートは、キャップで覆われ、前記キャップは、前記薄肉部よりも前記シール部に近い位置で前記第1ポートの外面に接する、請求項4に記載の液体保存容器。
【請求項7】
前記キャップの内面に、前記第1ポートの外面に接する凸部が存在する、請求項6に記載の液体保存容器。
【請求項8】
凍結保存用容器である、請求項1に記載の液体保存容器。
【請求項9】
液体入り容器であって、
請求項1に記載の液体保存容器と、
前記液体保存容器の前記収容部に収容された液体と、を備えた、液体入り容器。
【請求項10】
請求項1に記載の液体保存容器を準備する工程と、
前記液体保存容器の前記収容部に液体を収容する工程と、を含む、液体入り容器の製造方法。
(【請求項11】以降は省略されています)
発明の詳細な説明
【技術分野】
【0001】
本開示は、液体保存容器、液体入り容器、液体入り容器の製造方法、及び液体の製造方法に関する。
続きを表示(約 1,100 文字)
【背景技術】
【0002】
血液又は薬液等の液体を保存する際には、樹脂製のバッグが使用されることがある(例えば、特許文献1参照)。樹脂製のバッグには通常、1つ以上のポートが設けられている。バッグに設けられたポートを介してバッグ内に血液又は薬液等の液体が導入されたり、バッグから液体が取り出されたりする。バッグから液体を取り出す際、ポートの隔壁にビン針、輸液セット等の穿刺部材を差し込み、隔壁を破壊する場合がある。そのような場合、バッグ内の圧力がバッグ外部の圧力より高いと、液体がバッグから飛び出すおそれがある。このとき、バッグ内の液体が周囲に曝露したり、液体の量が減少したりする。また、バッグ内に取り出しきれない液体が残る場合がある。
【先行技術文献】
【特許文献】
【0003】
特開2006-142059号公報
【発明の概要】
【発明が解決しようとする課題】
【0004】
本開示は、安全に液体を取り出しやすい、液体保存容器を提供する。
【課題を解決するための手段】
【0005】
本開示の実施の形態は、以下の[1]~[11]に関する。
【0006】
[1]液体保存容器であって、収容部と、前記収容部の周囲に位置するシール部と、前記シール部にそれぞれ接続された少なくとも3つのポートと、を備え、前記少なくとも3つのポートは、前記シール部に沿って並んで配置され、前記少なくとも3つのポートは、第1ポート、第2ポート及び第3ポートを含み、前記第2ポートは、前記収容部の内側と外側とを隔てる隔壁を有する非連通ポートであり、前記第2ポートと前記収容部との境界は、他の前記ポートと前記収容部との境界よりも、前記第2ポートの軸線方向において前記収容部よりも外側に位置する、液体保存容器。
【0007】
[2]前記第1ポートは、前記収容部の内側と外側とを連通する連通ポートである、[1]に記載の液体保存容器。
【0008】
[3]前記第2ポートは、通気性及びバクテリアバリア性を有する蓋部により覆われる、[1]又は[2]に記載の液体保存容器。
【0009】
[4]前記第1ポートは、前記シール部の外方に位置する厚肉部と、前記厚肉部よりも前記シール部から遠い側に位置する薄肉部とを有し、前記薄肉部の肉厚は前記厚肉部の肉厚よりも薄い、[1]乃至[3]のいずれか一つに記載の液体保存容器。
【0010】
[5]前記薄肉部と前記厚肉部との間に、肉厚の変動する肉厚変動部が位置する、[4]に記載の液体保存容器。
(【0011】以降は省略されています)
この特許をJ-PlatPat(特許庁公式サイト)で参照する
関連特許
大日本印刷株式会社
位置決め搬送装置
3日前
大日本印刷株式会社
広告ボード体および脚体
2日前
大日本印刷株式会社
加飾シート及び樹脂成形品
10日前
大日本印刷株式会社
音響機能付き低反射透明フィルム装置
4日前
大日本印刷株式会社
有機デバイス及び有機デバイスの製造方法
3日前
大日本印刷株式会社
積層体、チューブ容器及びキャップ付きチューブ容器
2日前
大日本印刷株式会社
積層体、チューブ容器及びキャップ付きチューブ容器
2日前
大日本印刷株式会社
転写シート、転写用基材付き樹脂成形品、及び樹脂成形品
10日前
大日本印刷株式会社
物品の製造方法および、発泡性接着シートおよび接着剤組成物
10日前
大日本印刷株式会社
半導体パッケージ
4日前
大日本印刷株式会社
注出口付きパウチ
11日前
大日本印刷株式会社
加飾シート及び樹脂成形品
10日前
大日本印刷株式会社
発光装置、封止シート、面光源装置、及び液晶表示装置
4日前
大日本印刷株式会社
転写シート、転写用基材付き樹脂成形品、及び樹脂成形品
10日前
大日本印刷株式会社
アレルゲン低減化化粧シート、それを用いたアレルゲン低減化粘着加工シート及びアレルゲン低減化化粧板
10日前
大日本印刷株式会社
アレルゲン低減化化粧シート、それを用いたアレルゲン低減化粘着加工シート及びアレルゲン低減化化粧板
10日前
大日本印刷株式会社
蓄電デバイス、蓄電デバイス製造キット及び蓄電デバイスの製造方法
4日前
個人
貼付剤
1か月前
個人
簡易担架
16日前
個人
短下肢装具
4か月前
個人
足踏み器具
23日前
個人
腋臭防止剤
16日前
個人
前腕誘導装置
4か月前
個人
嚥下鍛錬装置
4か月前
個人
排尿補助器具
1か月前
個人
アイマスク装置
3か月前
個人
バッグ式オムツ
5か月前
個人
汚れ防止シート
2か月前
個人
歯の修復用材料
5か月前
個人
ウォート指圧法
1か月前
個人
矯正椅子
6か月前
個人
胸骨圧迫補助具
2か月前
個人
腰ベルト
1か月前
個人
歯の保護用シール
6か月前
個人
湿布連続貼り機。
3か月前
個人
陣痛緩和具
4か月前
続きを見る
他の特許を見る