TOP
|
特許
|
意匠
|
商標
特許ウォッチ
Twitter
他の特許を見る
10個以上の画像は省略されています。
公開番号
2025172589
公報種別
公開特許公報(A)
公開日
2025-11-26
出願番号
2024078181
出願日
2024-05-13
発明の名称
音響機能付き低反射透明フィルム装置
出願人
大日本印刷株式会社
代理人
個人
,
個人
,
個人
主分類
H04R
7/04 20060101AFI20251118BHJP(電気通信技術)
要約
【課題】透明フィルムから片寄りのない均一な音を効率良く発する。
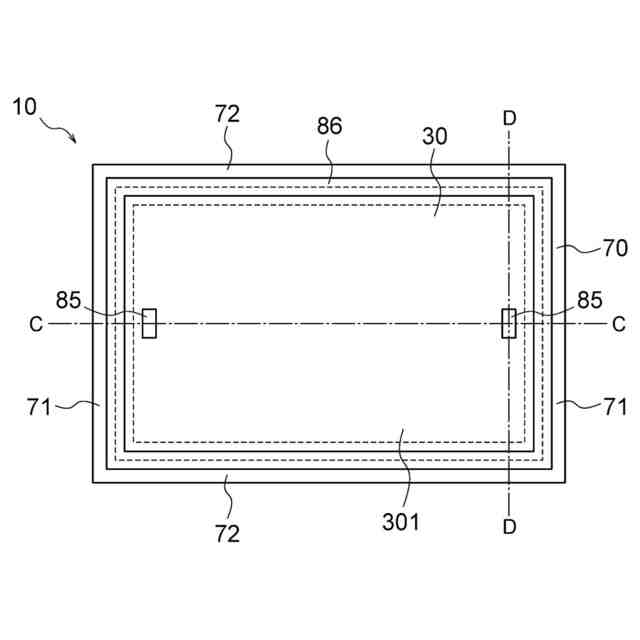
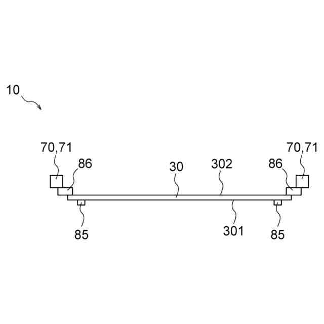
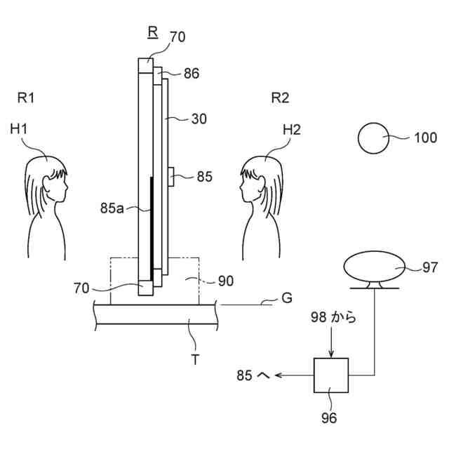
【解決手段】フィルム支持部70に透明フィルム30の周縁が振動吸収材86を介して取り付けられている。透明フィルム30には振動子85が取り付けられている。
【選択図】図1D
特許請求の範囲
【請求項1】
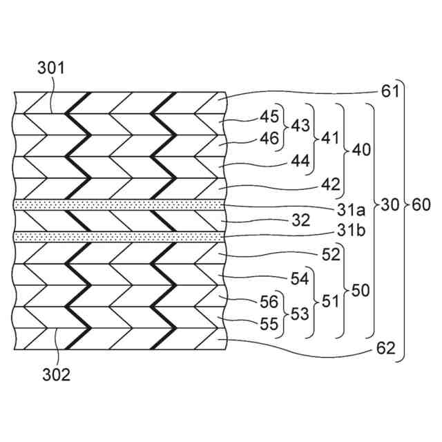
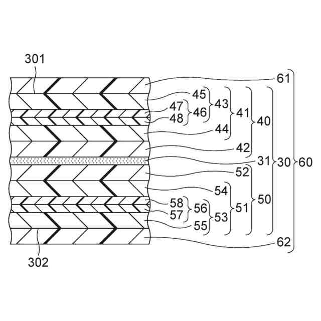
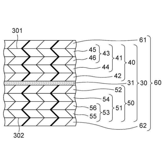
音響機能付き低反射透明フィルム装置において、
第1面と第2面とを有する透明フィルムと、
前記透明フィルムの周縁を支持するフィルム支持枠とを備え、
前記透明フィルムは前記第1面を構成する第1反射防止面と、前記第2面を構成する第2反射防止面とを含み、
前記透明フィルムに振動子を設けて、前記振動子により前記透明フィルムから音を発生させ、
前記透明フィルムの周縁は振動吸収材を介して前記フィルム支持枠に取り付けられている音響機能付き低反射透明フィルム装置。
続きを表示(約 440 文字)
【請求項2】
前記透明フィルムを前記透明フィルムの前記第1面と直交する方向からみて、前記フィルム支持枠と前記透明フィルムは重ならない、請求項1記載の音響機能付き低反射透明フィルム装置。
【請求項3】
前記透明フィルムを前記透明フィルムの前記第1面と直交する方向からみて、前記透明フィルムと前記振動吸収材とが重なり、前記振動吸収材と前記フィルム支持枠とが重なる、請求項2記載の音響機能付き低反射透明フィルム装置。
【請求項4】
前記振動吸収材は、前記透明フィルムの周縁全周に渡って連続的に延びる、請求項1記載の音響機能付き低反射透明フィルム装置。
【請求項5】
前記振動吸収材は、前記透明フィルムの周縁全周に渡って断続的に取り付けられている、請求項1記載の音響機能付き低反射透明フィルム装置。
【請求項6】
前記振動吸収材の振動伝達率は0.2以上、0.5以下となる、請求項1記載の音響機能付き低反射透明フィルム装置。
発明の詳細な説明
【技術分野】
【0001】
本開示は、音響機能付き低反射透明フィルム装置に関する。
続きを表示(約 1,100 文字)
【背景技術】
【0002】
従来よりパーティションを設けて空間を仕切る際、パーティションによりノイズ(騒音)を低減させる技術が開発されている。
【先行技術文献】
【特許文献】
【0003】
特開2020-190599号公報
【発明の概要】
【発明が解決しようとする課題】
【0004】
上述のようにパーティションによりノイズを低減させる技術が開発されている。
【0005】
他方、対面する者同士の間での、くしゃみや咳による唾液等の飛沫の移動を防止するためにパーティションを設置することも考えられている。
【0006】
このような場合、対面する者同士の間に設置されたパーティションが、パーティションで仕切られた空間同士でノイズを低減する機能をもっていたり、パーティション自体から音楽等の音を発することができれば、対面する者同士の間に設置されたパーティションの利用価値が高まって都合が良い。また、パーティションから片寄りのない均一な音を効率よく発することが求められている。
【0007】
本開示はこのような点を考慮してなされたものであり、仕切られた空間同士でノイズを低減することができたり、それ自体から音を発することができ、また片寄りのない均一な音を発したり、音を効率よく発することができる、音響機能付き低反射透明フィルムを提供することを目的とする。
【課題を解決するための手段】
【0008】
本開示は、音響機能付き低反射透明フィルム装置において、第1面と第2面とを有する透明フィルムと、前記透明フィルムの周縁を支持するフィルム支持枠とを備え、前記透明フィルムは前記第1面を構成する第1反射防止面と、前記第2面を構成する第2反射防止面とを含み、前記フィルムに振動子を設けて、前記振動子により前記透明フィルムから音を発生させ、前記透明フィルムの周縁は振動吸収材を介して前記フィルム支持枠に取り付けられている音響機能付き低反射透明フィルム装置である。
【0009】
本開示は、前記透明フィルムを前記透明フィルムの前記第1面と直交する方向からみて、前記フィルム支持枠と前記透明フィルムは重ならない、音響機能付き低反射透明フィルム装置である。
【0010】
本開示は、前記透明フィルムを前記透明フィルムの前記第1面と直交する方向からみて、前記透明フィルムと前記振動吸収材とが重なり、前記振動吸収材と前記フィルム支持枠とが重なる、音響機能付き低反射透明フィルム装置である。
(【0011】以降は省略されています)
この特許をJ-PlatPat(特許庁公式サイト)で参照する
関連特許
大日本印刷株式会社
印刷物
1か月前
大日本印刷株式会社
印刷物
1か月前
大日本印刷株式会社
太陽電池
1か月前
大日本印刷株式会社
除電装置
1か月前
大日本印刷株式会社
装飾パネル
8日前
大日本印刷株式会社
床用化粧材
1か月前
大日本印刷株式会社
プリフォーム
15日前
大日本印刷株式会社
インテリア用品
20日前
大日本印刷株式会社
位置決め搬送装置
今日
大日本印刷株式会社
プラスチックボトル
15日前
大日本印刷株式会社
旅行記作成システム
1か月前
大日本印刷株式会社
積層体および包装容器
1か月前
大日本印刷株式会社
調光部材及び合わせ板
1か月前
大日本印刷株式会社
化粧シート及び化粧材
23日前
大日本印刷株式会社
再配線層及びその製造方法
1か月前
大日本印刷株式会社
加飾シート及び樹脂成形品
7日前
大日本印刷株式会社
加飾シート及び樹脂成形品
1か月前
大日本印刷株式会社
処理装置、判断方法及び評価方法
22日前
大日本印刷株式会社
紙印刷物および紙印刷物の製造方法
22日前
大日本印刷株式会社
音響機能付き低反射透明フィルム装置
1日前
大日本印刷株式会社
位相差板、光学部材、及び、表示装置
1か月前
大日本印刷株式会社
加飾シート、加飾部材及び表示システム
28日前
大日本印刷株式会社
熱転写シートと中間転写媒体との組合せ
1か月前
大日本印刷株式会社
有機デバイス及び有機デバイスの製造方法
今日
大日本印刷株式会社
情報処理システム、装着装置及びプログラム
1か月前
大日本印刷株式会社
情報処理装置、情報処理方法、及びプログラム
21日前
大日本印刷株式会社
測定システム、測定方法、測定プログラム、物体
1か月前
大日本印刷株式会社
化粧シート、化粧シートの製造方法および化粧材
22日前
大日本印刷株式会社
化粧シート、化粧シートの製造方法および化粧材
15日前
大日本印刷株式会社
化粧シート、化粧シートの製造方法および化粧材
15日前
大日本印刷株式会社
光学シート、液晶表示装置及び有機EL表示装置
20日前
大日本印刷株式会社
化粧シート、化粧材、及び、化粧シートの製造方法
1か月前
大日本印刷株式会社
化粧シート、化粧材、及び、化粧シートの製造方法
1か月前
大日本印刷株式会社
金属板の測定装置、測定方法、及び金属板の製造方法
1か月前
大日本印刷株式会社
合掌ガセット袋および合掌ガセット袋用シート製造方法
28日前
大日本印刷株式会社
コンピュータプログラム、情報処理方法及び情報処理装置
1か月前
続きを見る
他の特許を見る