TOP
|
特許
|
意匠
|
商標
特許ウォッチ
Twitter
他の特許を見る
公開番号
2025155943
公報種別
公開特許公報(A)
公開日
2025-10-14
出願番号
2025030180
出願日
2025-02-27
発明の名称
化粧シート、化粧材、及び、化粧シートの製造方法
出願人
大日本印刷株式会社
代理人
弁理士法人WisePlus
主分類
B32B
27/00 20060101AFI20251002BHJP(積層体)
要約
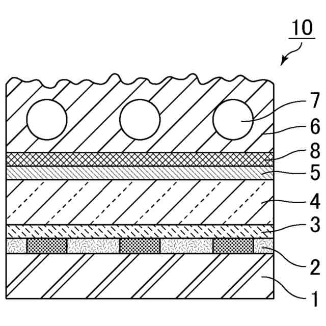
【課題】表面保護層の密着性に優れる化粧シートを提供する。
【解決手段】基材シート上に、少なくとも1層のプライマー層と、上記プライマー層上に表面保護層が積層され、上記プライマー層は、無機フィラーを含有し、上記表面保護層は、電離放射線硬化型樹脂成分の硬化物からなる化粧シート。
【選択図】図1
特許請求の範囲
【請求項1】
基材シート上に、少なくとも1層のプライマー層と、前記プライマー層上に表面保護層が積層され、
前記プライマー層は、無機フィラーを含有し、
前記表面保護層は、電離放射線硬化型樹脂成分の硬化物からなる化粧シート。
続きを表示(約 620 文字)
【請求項2】
前記無機フィラーは、ケイ酸塩粒子である請求項1に記載の化粧シート。
【請求項3】
前記プライマー層は、アクリル-ウレタン系樹脂、ポリウレタン系樹脂及びエポキシ樹脂からなる群より選ばれる少なくとも1種の樹脂を含有する請求項1又は2に記載の化粧シート。
【請求項4】
前記無機フィラーの平均粒子径が、0.1μm以上8μm以下である請求項1又は2に記載の化粧シート。
【請求項5】
前記無機フィラーの含有量は、前記プライマー層中に1質量%以上20質量%以下である請求項2に記載の化粧シート。
【請求項6】
前記プライマー層は複層であり、前記表面保護層側のプライマー層が無機フィラーを含有する請求項2に記載の化粧シート。
【請求項7】
前記無機フィラーを含有するプライマー層の厚みは、0.4μm以上7μm以下である請求項6に記載の化粧シート。
【請求項8】
前記無機フィラーを含有しないプライマー層の厚みは、2μm以上7μm以下である請求項6に記載の化粧シート。
【請求項9】
前記表面保護層の厚みが、60μm以上200μm以下ある請求項1又は2に記載の化粧シート。
【請求項10】
前記表面保護層は、気泡を内包する請求項1又は2に記載の化粧シート。
(【請求項11】以降は省略されています)
発明の詳細な説明
【技術分野】
【0001】
本開示は、化粧シート、化粧材、及び、化粧シートの製造方法に関する。
続きを表示(約 1,000 文字)
【背景技術】
【0002】
建材向けの化粧シートは、住宅内装材等の表面化粧材として長期の使用に堪えるように優れた表面性能(耐摩耗性等)が要求される。
【0003】
これらの性能を満たすために絵柄層(意匠層)を保護する透明性樹脂層と表面保護層とを有する化粧シートが検討されていた。
【0004】
例えば、特許文献1には、第一オレフィン樹脂層(透明性樹脂層)、第二オレフィン樹脂層(透明性樹脂層)、及び表面保護層をこの順に有する化粧シートであって、上記第二オレフィン樹脂層と、表面保護層とが特定の硬さを有するものが開示されている。
【先行技術文献】
【特許文献】
【0005】
特開2022-189905号公報
【発明の概要】
【発明が解決しようとする課題】
【0006】
近年、化粧シートには、更なる表面性能(耐摩耗性等)が要求されている。
【0007】
本発明者らは、化粧シートに更なる表面性能を付与するために、電離放射線硬化型樹脂成分からなる表面保護層を厚くする方法について検討を行った。
しかしながら、表面保護層を厚くすればするほど硬度を付与することができる一方で、柔軟性が損なわれてしまい、表面保護層の密着性が低下するといった課題があることを見出した。
また、上記密着性の課題は、化粧シートが温水に長時間浸漬された場合や、紫外線が照射された場合に特に顕著になることを見出した。
【0008】
そこで本発明は、上述の課題を解決するものであり、表面保護層の密着性に優れる化粧シートを提供することを目的とする。
【課題を解決するための手段】
【0009】
本発明者らは、鋭意検討したところ、表面保護層の下層に位置するプライマー層に無機フィラーを含有させ、表面保護層との比表面積を大きくすることにより密着性を付与でき、上述した課題を解決できることを見出し、本発明を完成させた。
【0010】
本発明は、基材シート上に、少なくとも1層のプライマー層と、上記プライマー層上に表面保護層が積層され、上記プライマー層は、無機フィラーを含有し、上記表面保護層は、電離放射線硬化型樹脂成分の硬化物からなる化粧シートである。
(【0011】以降は省略されています)
この特許をJ-PlatPat(特許庁公式サイト)で参照する
関連特許
大日本印刷株式会社
移動体
29日前
大日本印刷株式会社
印刷物
1日前
大日本印刷株式会社
印刷物
1日前
大日本印刷株式会社
移動体
29日前
大日本印刷株式会社
床構成体
10日前
大日本印刷株式会社
積層シート
8日前
大日本印刷株式会社
床用化粧材
4日前
大日本印刷株式会社
写真撮影装置
1か月前
大日本印刷株式会社
発電モジュール
19日前
大日本印刷株式会社
パネルの固定方法
16日前
大日本印刷株式会社
積層体及び包装容器
17日前
大日本印刷株式会社
積層体および包装容器
4日前
大日本印刷株式会社
積層体および包装容器
19日前
大日本印刷株式会社
積層体および包装容器
19日前
大日本印刷株式会社
積層体および包装容器
8日前
大日本印刷株式会社
積層体および包装容器
19日前
大日本印刷株式会社
積層体および包装容器
19日前
大日本印刷株式会社
再配線層及びその製造方法
3日前
大日本印刷株式会社
加飾シート及び樹脂成形品
4日前
大日本印刷株式会社
情報処理装置及びプログラム
19日前
大日本印刷株式会社
学習支援装置及びプログラム
10日前
大日本印刷株式会社
情報処理装置及びプログラム
9日前
大日本印刷株式会社
クランプ装置及びウェブ搬送装置
19日前
大日本印刷株式会社
ポリエステルフィルム及び積層体
29日前
大日本印刷株式会社
作業装置、作業システム、作業方法
15日前
大日本印刷株式会社
ウェブ搬送装置及びウェブ搬送方法
15日前
大日本印刷株式会社
水素センサおよび水素検知システム
9日前
大日本除蟲菊株式会社
薬剤揮散装置
11日前
大日本印刷株式会社
位相差板、光学部材、及び、表示装置
4日前
大日本印刷株式会社
熱転写シートと中間転写媒体との組合せ
8日前
大日本印刷株式会社
サーバ装置、動画配信方法及びプログラム
19日前
大日本印刷株式会社
バリア性フィルム、積層体および包装容器
19日前
大日本印刷株式会社
バリア性フィルム、積層体および包装容器
19日前
大日本印刷株式会社
バリア性フィルム、積層体および包装容器
19日前
大日本印刷株式会社
情報処理装置、情報処理方法及びプログラム
9日前
大日本印刷株式会社
情報処理装置、情報処理方法及びプログラム
9日前
続きを見る
他の特許を見る