TOP
|
特許
|
意匠
|
商標
特許ウォッチ
Twitter
他の特許を見る
公開番号
2025146288
公報種別
公開特許公報(A)
公開日
2025-10-03
出願番号
2024046974
出願日
2024-03-22
発明の名称
作業装置、作業システム、作業方法
出願人
大日本印刷株式会社
代理人
個人
,
個人
,
個人
主分類
B05C
11/10 20060101AFI20250926BHJP(霧化または噴霧一般;液体または他の流動性材料の表面への適用一般)
要約
【課題】路面に線を引くラインマーカーのような作業装置等に関して、環境光が明るくても、照射装置による光を確認して作業位置を特定することができる作業装置、作業システム、作業方法を提供する。
【解決手段】作業装置20は、作業を行う作業部21を備える。作業装置20は、外部から光を照射される被照射部30を備える。被照射部30は、指向性拡散板を含む。作業は、指向性拡散板で拡散された光によって位置を確認しながら行われる。
【選択図】図1
特許請求の範囲
【請求項1】
作業を行う作業部を備える作業装置であって、
外部から光を照射される被照射部をさらに備え、
前記被照射部は、指向性拡散板を含み、
前記作業は、前記指向性拡散板で拡散された光によって位置を確認しながら行われる、
作業装置。
続きを表示(約 590 文字)
【請求項2】
前記指向性拡散板は、光を透過しながら拡散する、請求項1に記載の作業装置。
【請求項3】
前記指向性拡散板は、光を反射しながら拡散する、請求項1に記載の作業装置。
【請求項4】
作業員が乗り込み可能な乗り込み部をさらに備え、
前記乗り込み部には、前記作業員の視点位置が位置する、
前記指向性拡散板がその板面の法線方向から入射する光を拡散する範囲は、前記視点位置を含む、請求項1に記載の作業装置。
【請求項5】
前記被照射部は、再帰反射部を含む、請求項1に記載の作業装置。
【請求項6】
前記被照射部に設けられた日除け部をさらに備える、請求項1に記載の作業装置。
【請求項7】
前記作業部は、吐出物を吐出する吐出部である、請求項1に記載の作業装置。
【請求項8】
前記被照射部は、前記作業部に設けられている、請求項7に記載の作業装置。
【請求項9】
前記作業部から離れたインジケータをさらに備え、
前記被照射部は、前記インジケータに設けられている、請求項7に記載の作業装置。
【請求項10】
前記被照射部を撮影する撮影装置をさらに備える、請求項1に記載の作業装置。
(【請求項11】以降は省略されています)
発明の詳細な説明
【技術分野】
【0001】
本開示は、作業装置、作業システム、作業方法に関する。
続きを表示(約 1,200 文字)
【背景技術】
【0002】
路面に線を引くラインマーカーのような作業装置が知られている。作業装置は、特定の位置で所定の作業をする。例えば、ラインマーカーは、路面の特定の位置に着色剤を吐出するという作業をして、路面に線を引く。
【先行技術文献】
【特許文献】
【0003】
特開2023-137161号公報
【発明の概要】
【発明が解決しようとする課題】
【0004】
作業装置が作業をする位置を特定するために、照射装置で路面等の作業対象の一部を明るくすることが考えられている。照射装置の光を確認することで、作業装置が作業をする位置を特定できる。しかしながら、日中等の環境光が明るい時間や場所では、照射装置の光を目視で容易に確認できない。本開示は、環境光が明るくても、照射装置による光を確認可能な作業装置を提供することを目的とする。
【課題を解決するための手段】
【0005】
本開示の作業装置は、作業を行う作業部を備える作業装置であって、
外部から光を照射される被照射部をさらに備え、
前記被照射部は、指向性拡散板を含み、
前記作業は、前記指向性拡散板で拡散された光によって位置を確認しながら行われる。
【発明の効果】
【0006】
本開示によれば、環境光が明るくても、照射装置による光を確認できる。
【図面の簡単な説明】
【0007】
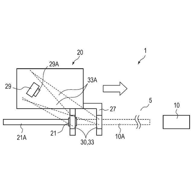
図1は、本開示の一実施の形態の作業システム及び作業装置を概略的に示す斜視図である。
図2は、照射装置の一例を示す斜視図である。
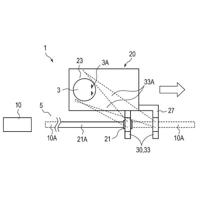
図3は、作業装置が含む被照射部の斜視図である。
図4は、作業システムの一例を示す上面図である。
図5は、作業システムの他の例を示す上面図である。
図6は、作業システムの一変形例を示す上面図である。
【発明を実施するための形態】
【0008】
本件明細書に添付する図面においては、図示と理解のしやすさの便宜上、適宜縮尺および縦横の寸法比等を、実物のそれらから変更し誇張してある。一部の図において示された構成等が、他の図において省略されていることもある。
【0009】
本明細書において、形状や幾何学的条件ならびにそれらの程度を特定する、例えば、「平行」、「直交」、「同一」等の用語や長さや角度の値等は、厳密な意味に限定されることなく、同様の機能を期待し得る程度の範囲を含めて解釈される。
【0010】
本明細書において、シート状の部材の法線方向とは、対象となるシート状の部材のシート面への法線方向のことを指す。また、「シート面」とは、対象となるシート状の部材を全体的且つ大局的に見た場合において対象となるシート状部材と一致する面のことを指す。
(【0011】以降は省略されています)
この特許をJ-PlatPat(特許庁公式サイト)で参照する
関連特許
大日本印刷株式会社
ウェブ搬送装置及びウェブ搬送方法
4日前
大日本印刷株式会社
作業装置、作業システム、作業方法
4日前
大日本除蟲菊株式会社
薬剤揮散装置
今日
大日本印刷株式会社
転写シート、成形品の製造方法および成形品
4日前
大日本印刷株式会社
プログラム、情報処理方法、及び情報処理装置
今日
大日本印刷株式会社
化粧シート、化粧シートの製造方法および化粧部材
今日
大日本印刷株式会社
デュアルインターフェースICカードおよびICモジュール
今日
大日本印刷株式会社
デュアルインターフェースICカードおよびICモジュール
今日
大日本印刷株式会社
包装材料並びに袋及び包装体
4日前
大日本印刷株式会社
ベーパーチャンバおよび電子機器
4日前
大日本印刷株式会社
蓄電デバイス用外装材、その製造方法、及び蓄電デバイス
今日
大日本印刷株式会社
ベーパーチャンバ、電子機器およびベーパーチャンバの製造方法
今日
大日本印刷株式会社
画像出力方法、画像出力システム、画像出力装置及び画像出力プログラム
今日
ベック株式会社
被膜形成方法
3か月前
ベック株式会社
被膜形成方法
今日
ベック株式会社
被膜形成方法
3か月前
アイカ工業株式会社
塗料仕上げ工法
19日前
株式会社吉野工業所
キャップ
3か月前
ベック株式会社
装飾被膜の形成方法
2か月前
スズカファイン株式会社
多色性塗膜
8日前
トヨタ自動車株式会社
塗布装置
6日前
日本ライナー株式会社
塗装装置
20日前
個人
スプレー缶高所対応携帯ホルダー
19日前
プルガティオ株式会社
噴霧装置
3か月前
プルガティオ株式会社
噴霧装置
3か月前
プルガティオ株式会社
噴霧装置
3か月前
株式会社カネカ
塗布装置
8日前
能美防災株式会社
水噴霧ヘッド
4日前
ヒット工業株式会社
マスキング具
1か月前
中外炉工業株式会社
塗工装置
2か月前
株式会社吉野工業所
ポンプ式吐出器
3か月前
東レエンジニアリング株式会社
スリットダイ
今日
株式会社吉野工業所
吐出器
3か月前
株式会社吉野工業所
吐出器
3か月前
旭サナック株式会社
粉体塗装装置
29日前
積水ハウス株式会社
接着剤塗布装置
2か月前
続きを見る
他の特許を見る