TOP
|
特許
|
意匠
|
商標
特許ウォッチ
Twitter
他の特許を見る
公開番号
2025154333
公報種別
公開特許公報(A)
公開日
2025-10-10
出願番号
2024057261
出願日
2024-03-29
発明の名称
塗布装置
出願人
富士フイルム株式会社
代理人
弁理士法人太陽国際特許事務所
主分類
B05C
5/02 20060101AFI20251002BHJP(霧化または噴霧一般;液体または他の流動性材料の表面への適用一般)
要約
【課題】減圧スリットの閉塞抑制性、及び、膜形成時の幅方向端部の厚膜化抑制性に優れる塗布装置を提供する。
【解決手段】搬送する基材に塗布液を吐出する吐出用スリット、及び、減圧スリットを有するスロットダイを備え、上記減圧スリットが、上記スロットダイの基材搬送方向において前記吐出用スリットと同じ位置から上流側、かつ上記吐出用スリットの幅方向の外側に位置する塗布装置。
【選択図】図2
特許請求の範囲
【請求項1】
搬送する基材に塗布液を吐出する吐出用スリット、及び、減圧スリットを有するスロットダイを備え、
前記減圧スリットが、前記スロットダイの基材搬送方向において前記吐出用スリットと同じ位置から上流側、かつ前記吐出用スリットの幅方向の外側に位置する
塗布装置。
続きを表示(約 280 文字)
【請求項2】
前記減圧スリットの開口部が、3mm
2
より大きい請求項1に記載の塗布装置。
【請求項3】
前記減圧スリットが、前記吐出スリット幅方向端部よりも5mm以上前記幅方向の外側に位置する請求項1又は請求項2に記載の塗布装置。
【請求項4】
浮上搬送された基材への塗布用である請求項1又は請求項2に記載の塗布装置。
【請求項5】
水系塗布液塗布用である請求項1又は請求項2に記載の塗布装置。
【請求項6】
電池の電極膜形成用である請求項1又は請求項2に記載の塗布装置。
発明の詳細な説明
【技術分野】
【0001】
本開示は、塗布装置に関する。
続きを表示(約 1,800 文字)
【背景技術】
【0002】
従来から、塗布液を吐出するスリットと減圧のためのスリットを備えたダイを用いて成膜する技術は知られている。
特許文献1は、スロットダイを用いた製造方法で、連続走行する基材とスロットダイ先端との間に塗布ビードを形成し、スロットダイよりも上流に基材の幅方向において対向配置される2つのサイドプレートを含む減圧チャンバーを有する製造方法を開示している。
【0003】
特許文献2は、塗布ヘッドの被塗布物移動方向に対して、上流側を減圧状態に保持する減圧室を有する塗布装置であり、上記減圧室が塗布幅方向で複数室に分割され、上記複数室は独立に減圧度の調整が可能であることを特徴とする塗布装置を開示している。
【0004】
特許文献3は、電極シートを搬送するシート搬送部と、搬送中の上記電極シートに向けて電極材料と絶縁材料を吐出する塗布ノズルと、搬送中の上記電極シートと上記塗布ノズルとの間隔を調節するギャップ調節部とを備え、上記塗布ノズルには、電極材料を吐出する電極材料吐出部と、絶縁材料を吐出する絶縁材料吐出部とが、上記電極シートの搬送方向と交差する方向に並んで配置されており、上記ギャップ調節部は、搬送中の上記電極シートと上記電極材料吐出部の間隔及び上記電極シートと上記絶縁材料吐出部の間隔を同時に調節することを特徴とする、塗布装置を開示している。
【先行技術文献】
【特許文献】
【0005】
特開2016-43321号公報
特開2008-155164号公報
特開2016-167337号公報
【発明の概要】
【発明が解決しようとする課題】
【0006】
本開示の一実施形態が解決しようとする課題は、減圧スリットの閉塞抑制性、及び、膜形成時の幅方向端部の厚膜化抑制性に優れる塗布装置を提供することである。
【課題を解決するための手段】
【0007】
上記課題を解決するための手段には、以下の態様が含まれる。
<1> 搬送する基材に塗布液を吐出する吐出用スリット、及び、減圧スリットを有するスロットダイを備え、上記減圧スリットが、上記スロットダイの基材搬送方向において上記吐出用スリットと同じ位置から上流側、かつ上記吐出用スリットの幅方向の外側に位置する塗布装置。
<2> 上記減圧スリットの開口部が、3mm
2
より大きい<1>に記載の塗布装置。
<3> 上記減圧スリットが、上記吐出スリット幅方向端部よりも5mm以上上記幅方向の外側に位置する<1>又は<2>に記載の塗布装置。
<4> 浮上搬送された基材への塗布用である<1>~<3>のいずれか1つに記載の塗布装置。
<5> 水系塗布液塗布用である<1>~<4>のいずれか1つに記載の塗布装置。
<6> 電池の電極膜形成用である<1>~<5>のいずれか1つに記載の塗布装置。
【発明の効果】
【0008】
本開示によれば、減圧スリットの閉塞抑制性、及び、膜形成時の幅方向端部の厚膜化抑制性に優れる塗布装置を提供することができる。
【図面の簡単な説明】
【0009】
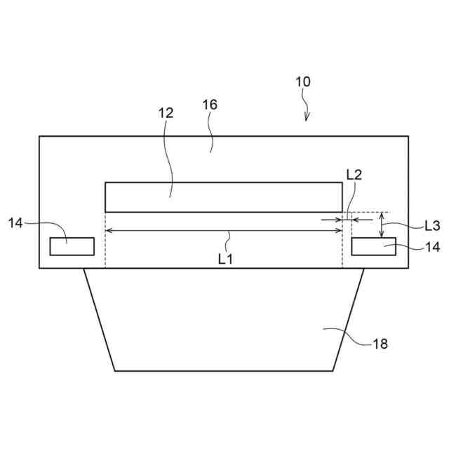
従来の塗布装置の一例におけるスロットダイの塗布面を模式的に示す概略正面図である。
本開示に係る塗布装置の一例におけるスロットダイを模式的に示す概略斜視図である。
図2に示す塗布装置の一例におけるスロットダイ10の塗布面を模式的に示す概略正面図である。
図2に示す塗布装置の一例における吐出用スリット12を側面方向から見たときの断面構造を模式的に示す概略断面図である。
本開示に係る塗布装置の他の一例におけるスロットダイ10の塗布面を模式的に示す概略正面図である。
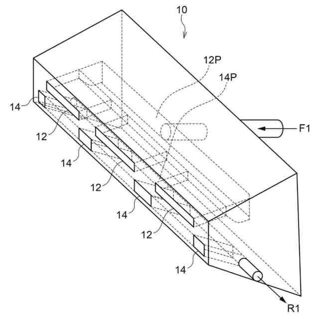
本開示に係る塗布装置の更に他の一例におけるスロットダイ10を模式的に示す概略斜視図である。
【発明を実施するための形態】
【0010】
以下、本開示の実施形態について詳細に説明する。本開示は、以下の実施形態に何ら制限されない。以下の実施形態は、本開示の目的の範囲内において適宜変更されてもよい。
(【0011】以降は省略されています)
この特許をJ-PlatPat(特許庁公式サイト)で参照する
関連特許
富士フイルム株式会社
内視鏡
1日前
富士フイルム株式会社
内視鏡
1日前
富士フイルム株式会社
内視鏡
1日前
富士フイルム株式会社
内視鏡
1日前
富士フイルム株式会社
内視鏡
1日前
富士フイルム株式会社
システム
1日前
富士フイルム株式会社
塗布装置
1日前
富士フイルム株式会社
放射線撮影装置
1日前
富士フイルム株式会社
内視鏡補助具の操作装置
1日前
富士フイルム株式会社
超音波内視鏡及びシステム
1日前
富士フイルム株式会社
異方導電性部材及び接合体
2日前
富士フイルム株式会社
混合物、組成物、及び化合物
1日前
富士フイルム株式会社
感光性転写材料及びその製造方法
1日前
富士フイルム株式会社
フタロシアニン化合物の製造方法
1日前
富士フイルム株式会社
ウェブ切換装置及びウェブ切換方法
1日前
富士フイルム株式会社
医療支援装置、方法およびプログラム
1日前
富士フイルム株式会社
動作音抑制装置及びX線断層像撮影装置
2日前
富士フイルム株式会社
情報処理装置、情報処理方法、及びプログラム
1日前
富士フイルム株式会社
多層膜、光学部材、撮像機器および多層膜の製造方法
1日前
富士フイルム株式会社
医用画像撮影装置、及び医用画像撮影装置の制御方法
1日前
富士フイルム株式会社
画像表示装置、画像表示方法、及び画像表示プログラム
1日前
富士フイルム株式会社
情報処理装置、撮像装置、情報処理方法、及び情報処理プログラム
1日前
富士フイルム株式会社
情報処理装置、画像撮影システム、プログラム更新方法、及びプログラム更新プログラム
1日前
富士フイルム株式会社
不溶性担体を含む免疫学的測定試薬の製造方法、保存方法、測定対象物質の測定方法、および免疫学的測定試薬
1日前
富士フイルム株式会社
感活性光線性又は感放射線性樹脂組成物、感活性光線性又は感放射線性膜、パターン形成方法、及び電子デバイスの製造方法
2日前
富士フイルム株式会社
ポリイミド前駆体又はポリアミドイミド前駆体の製造方法、硬化性樹脂組成物の製造方法、硬化性樹脂組成物、及びポリイミド前駆体又はポリアミドイミド前駆体
1日前
ベック株式会社
被膜形成方法
3か月前
ベック株式会社
被膜形成方法
3か月前
ベック株式会社
被膜形成方法
4日前
アイカ工業株式会社
塗料仕上げ工法
23日前
ベック株式会社
装飾被膜の形成方法
2か月前
株式会社吉野工業所
キャップ
3か月前
スズカファイン株式会社
多色性塗膜
12日前
プルガティオ株式会社
噴霧装置
3か月前
能美防災株式会社
水噴霧ヘッド
8日前
日本ライナー株式会社
塗装装置
24日前
続きを見る
他の特許を見る