TOP
|
特許
|
意匠
|
商標
特許ウォッチ
Twitter
他の特許を見る
公開番号
2025161243
公報種別
公開特許公報(A)
公開日
2025-10-24
出願番号
2024064265
出願日
2024-04-11
発明の名称
X線透視撮像装置、および、画像処理方法
出願人
富士フイルム株式会社
代理人
弁理士法人山王坂特許事務所
主分類
A61B
6/00 20240101AFI20251017BHJP(医学または獣医学;衛生学)
要約
【課題】透視画像の精度やリアルタイム性が必要とされない時に、補間画像の割合を高めることでX線による被ばく量を低減することができ、かつ、透視画像の精度やリアルタイム性が必要とされる時と同等の表示フレームレートを維持できるようにする。
【解決手段】X線透視撮像装置は、操作者の操作に応じて照射レートを変更可能である。X線透視撮像装置は、照射レートが基準レート以上である場合、照射レートで生成された透視画像を画像表示装置に表示させ、照射レートが基準レートよりも低い場合、表示レートが基準レートと等しくなるように補間フレームを生成し、照射レートで生成された透視画像及び補間フレームを画像表示装置に表示させる。
【選択図】図1
特許請求の範囲
【請求項1】
被検体に対してX線を照射するX線管、及び、前記被検体を透過したX線を検出するX線検出器を含む照射装置と、
前記照射装置のX線パルスの照射レートを制御するシステム制御装置と、
前記X線検出器の出力から前記照射レートに対応するレートで透視画像を生成する画像処理制御装置と、
前記画像処理制御装置が生成した前記透視画像を画像表示装置に表示させる画像処理装置とを有し、
前記システム制御装置は、操作者の操作に応じて前記照射レートを変更可能であり、
前記画像処理装置は、前記透視画像を前記画像表示装置に表示している間に、前記照射レートが透視開始時よりも低い値に変更された場合、前記画像表示装置に表示される画像のフレームレートが前記透視開始時の前記照射レートと等しくなるように補間フレームを生成し、前記透視画像及び前記補間フレームを前記画像表示装置に表示させる
ことを特徴とするX線透視撮像装置。
続きを表示(約 1,300 文字)
【請求項2】
請求項1に記載のX線透視撮像装置であって、
前記操作者から前記照射レートの設定を受け付ける照射レート操作器を有し、
前記システム制御装置は、前記照射レート操作器が受け付けた前記照射レートで、前記照射装置から前記X線パルスを照射させる
ことを特徴とするX線透視撮像装置。
【請求項3】
請求項1に記載のX線透視撮像装置であって、
前記操作者の音声を取得するマイクロフォン、又は、前記操作者の身体動作を撮像するカメラを有し、
前記システム制御装置は、前記マイクロフォンを介した音声による選択操作、又は前記カメラを介した身体動作による選択操作に従い、前記照射レートを変更する
ことを特徴とするX線透視撮像装置。
【請求項4】
請求項1に記載のX線透視撮像装置であって、
前記操作者の頭部に装着される視野カメラを有し、
前記システム制御装置は、前記視野カメラにより撮像された画像に含まれる前記画像表示装置の画面の位置及び大きさの少なくとも一方に応じて、前記照射レートを変更する
ことを特徴とするX線透視撮像装置。
【請求項5】
請求項1に記載のX線透視撮像装置であって、
前記システム制御装置は、前記画像表示装置の画面の位置及び大きさの少なくとも一方に基づき、
前記画面を前記操作者が見ていないと判定した場合は、前記照射レートを低下させ、
前記画面を前記操作者が見ていると判定した場合は、前記照射レートを基準レートに設定する
ことを特徴とするX線透視撮像装置。
【請求項6】
請求項1から5のいずれか一項に記載のX線透視撮像装置であって、
前記画像処理装置は、前記補間フレームを表示する場合、前記補間フレームが表示されていることを示す画像を、前記画像表示装置に表示させる
ことを特徴とするX線透視撮像装置。
【請求項7】
X線透視撮像装置による透視画像撮影方法であって、
透視開始の指示を操作者から受けた場合、予め設定された照射レートで被検体に対してX線パルスを照射し、前記照射レートに等しいレートで透視画像を生成して、接続されている画像表示装置に表示するステップと、
透視を行っている最中に、前記照射レートが変更された場合、変更後の照射レートで前記被検体に対してX線パルスを照射し、前記変更後の照射レートに等しいレートで透視画像を生成するステップと、
前記変更後の照射レートが透視開始時の照射レートよりも小さいかどうか判定し、透視開始時の照射レートよりも変更後の照射レートが小さい場合、透視開始時の照射レートに等しいレートで前記画像表示装置に画像が表示されるように、補間フレームを生成し、前記変更後の照射レートに等しいレートで生成された透視画像と前記補間フレームとを前記画像表示装置に表示させるステップと
を含むことを特徴とする画像処理方法。
発明の詳細な説明
【技術分野】
【0001】
本発明は、透視画像を生成可能なX線透視撮像装置、および、画像処理方法に関する。
続きを表示(約 1,900 文字)
【背景技術】
【0002】
X線透視を行いながら術者が被検者に施術を行う場合、被検者や施術者の放射線の被ばくが生じるため、被ばく量を低減する技術が提案されている。例えば、特許文献1には、パルス透視において、透視画像の表示フレームレートを維持しながら被ばく量を低減させる方法として、X線の照射間隔を長くし、前後のフレームの中間画像から生成した補間画像で画像間を補間する技術が開示されている。
【先行技術文献】
【特許文献】
【0003】
国際公開第2016/021240号
【発明の概要】
【発明が解決しようとする課題】
【0004】
X線画像の取得回数を減らし、代わりに補間画像を増やすことで、さらなる被ばく量の低減が見込める。しかし、補間画像の割合を増やすことで画像の信頼性は低下し、補間画像の割合が増えるほど時遅れが増加し、リアルタイム性が損なわれるという問題が発生する。一方、透視の途中でフレームレートを変化させた場合、録画された透視画像を後で見返す際に、途中でフレームレートが変わることで観察者が違和感を持つことがある。
【0005】
本発明の目的は、透視画像の精度やリアルタイム性が必要とされない時に、補間画像の割合を高めることでX線による被ばく量を低減することができ、かつ、透視画像の精度やリアルタイム性が必要とされる時と同等の表示フレームレートを維持できるようにすることにある。
【課題を解決するための手段】
【0006】
上記目的を達成するために、本発明の一態様によれば、被検体に対してX線を照射するX線管、及び、被検体を透過したX線を検出するX線検出器を含む照射装置と、照射装置のX線パルスの照射レートを制御するシステム制御装置と、X線検出器の出力から照射レートに対応するレートで透視画像を生成する画像処理制御装置と、画像処理制御装置が生成した透視画像を画像表示装置に表示させる画像処理装置とを有するX線透視撮像装置が提供される。システム制御装置は、操作者の操作に応じて照射レートを変更可能である。画像処理装置は、透視画像を画像表示装置に表示している間に、照射レートが透視開始時よりも低い値に変更された場合、画像表示装置に表示される画像のフレームレートが透視開始時の照射レートと等しくなるように補間フレームを生成し、透視画像及び補間フレームを画像表示装置に表示させる。
【発明の効果】
【0007】
本発明の一態様によれば、透視画像の精度やリアルタイム性が必要とされない時に、補間画像の割合を高めることでX線による被ばく量を低減することができ、かつ、透視画像の精度やリアルタイム性が必要とされる時と同等の表示フレームレートを維持できる。
【図面の簡単な説明】
【0008】
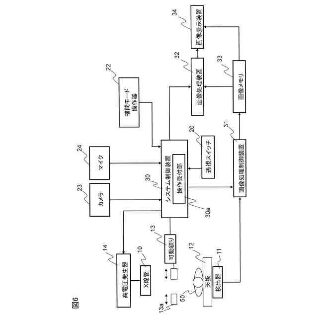
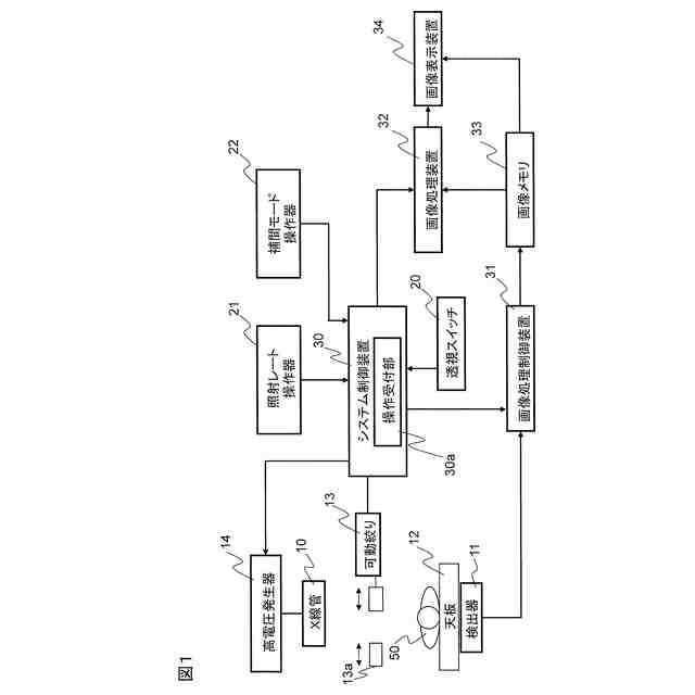
本発明の実施形態1のX線透視撮像装置の全体構成を示すブロック図。
実施形態1の照射レート操作器の表示を示す図。
実施形態1の補間モード操作器の表示を示す図。
実施形態1のX線透視撮像装置の補間モード(表示レート一定)の動作を説明する図。
実施形態1のX線透視撮像装置の動作を示すフローチャート。
実施形態2のX線透視撮像装置の全体構成を示すブロック図。
実施形態2のX線透視撮像装置の補間モード(表示レート一定)の動作を説明する図。
実施形態2のX線透視撮像装置の動作を示すフローチャート。
実施形態3のX線透視撮像装置の全体構成を示すブロック図。
実施形態3のX線透視撮像装置の補間モード(表示レート一定)の動作を説明する図。
実施形態3のX線透視撮像装置の動作を示すフローチャート。
実施形態4のX線透視撮像装置の補間モード(表示レート一定)の動作を説明する図。
実施形態4のX線透視撮像装置の動作を示すフローチャート。
【発明を実施するための形態】
【0009】
以下、本発明の実施形態のX線透視撮像装置について図面を用いて説明する。
【0010】
<<実施形態1>>
実施形態1のX線透視撮像装置について、図1~5を用いて説明する。図1は、実施形態1のX線透視撮像装置の全体構成を示すブロック図であり、図2は、照射レート操作器の表示を示す図であり、図3は、補間モード操作器の表示を示す図であり、図4は、補間モード(表示レート一定)の動作を説明する図であり、図5は、X線透視撮像装置の動作を示すフローチャートである。
(【0011】以降は省略されています)
この特許をJ-PlatPat(特許庁公式サイト)で参照する
関連特許
個人
貼付剤
24日前
個人
簡易担架
6日前
個人
腋臭防止剤
6日前
個人
短下肢装具
4か月前
個人
足踏み器具
13日前
個人
嚥下鍛錬装置
4か月前
個人
排尿補助器具
1か月前
個人
前腕誘導装置
4か月前
個人
腰ベルト
27日前
個人
汚れ防止シート
1か月前
個人
バッグ式オムツ
5か月前
個人
ウォート指圧法
1か月前
個人
アイマスク装置
2か月前
個人
歯の修復用材料
5か月前
個人
胸骨圧迫補助具
2か月前
個人
排尿排便補助器具
8日前
個人
哺乳瓶冷まし容器
3か月前
個人
湿布連続貼り機。
3か月前
個人
陣痛緩和具
4か月前
個人
美容セット
15日前
個人
エア誘導コルセット
2か月前
個人
治療用酸化防御装置
2か月前
個人
性行為補助具
3か月前
株式会社八光
剥離吸引管
5か月前
株式会社コーセー
化粧料
1か月前
株式会社大野
骨壷
4か月前
個人
精力増強キット
1か月前
個人
シリンダ式歩行補助具
3か月前
株式会社ニデック
眼科装置
2か月前
個人
高気圧環境装置
5か月前
個人
こむら返り応急治し具
13日前
株式会社ニデック
眼科装置
2か月前
株式会社松風
口腔用組成物
4か月前
個人
形見の製造方法
5か月前
株式会社ニデック
眼科装置
1か月前
個人
手指運動ツール
3か月前
続きを見る
他の特許を見る