TOP
|
特許
|
意匠
|
商標
特許ウォッチ
Twitter
他の特許を見る
10個以上の画像は省略されています。
公開番号
2025161886
公報種別
公開特許公報(A)
公開日
2025-10-24
出願番号
2025135528,2021161790
出願日
2025-08-15,2021-09-30
発明の名称
画像処理装置、画像処理方法、及びプログラム
出願人
富士フイルム株式会社
代理人
弁理士法人太陽国際特許事務所
主分類
A61B
34/10 20160101AFI20251017BHJP(医学または獣医学;衛生学)
要約
【課題】3次元対象部位画像における仮想軸を用いず、かつ断面の幾何特性を変更できない場合と比較して、対象部位における断面を簡便に探索できる画像処理装置、画像処理方法、及びプログラムを提供する。
【解決手段】画像処理装置は、プロセッサを備え、プロセッサは、対象部位を示す3次元画像である3次元対象部位画像を表示装置に表示させるための情報を出力し、3次元対象部位画像における対象部位の仮想軸を算出し、仮想軸上の第1位置と交差する第1断面に対応する2次元画像を表示装置に表示させるための情報を出力し、第1断面の幾何特性を変更する指示に従って幾何特性を変更し、幾何特性を変更した第2断面に対応する2次元画像を表示装置に表示させるための情報を出力する。
【選択図】図7
特許請求の範囲
【請求項1】
プロセッサを備え、
前記プロセッサは、
対象部位を示す3次元画像である3次元対象部位画像を表示装置に表示させるための情報を出力し、
前記3次元対象部位画像における前記対象部位の中心軸を算出し、
前記中心軸上の第1位置と交差する第1断面に対応する2次元画像を前記表示装置に表示させるための情報を出力し、
前記第1断面の幾何特性を変更する指示に従って前記幾何特性を変更し、
前記第1断面の前記幾何特性が変更されることで得られた第2断面に対応する2次元画像を前記表示装置に表示させるための情報を出力し、
さらに、前記第2断面の位置は、前記中心軸を回転軸として前記第1断面を回転させた位置、及び前記中心軸と交差し且つ前記第1断面の法線方向に沿った軸を回転軸として前記第1断面を回転させた位置のうちの少なくとも1つである、
画像処理装置。
続きを表示(約 1,000 文字)
【請求項2】
前記幾何特性は、前記第1断面の前記中心軸上での位置、及び前記第1断面の前記中心軸に対する傾きのうちの少なくとも1つである
請求項1に記載の画像処理装置。
【請求項3】
前記プロセッサは、指定された前記第2断面に沿って前記3次元対象部位画像を第1領域と第2領域とに分割する
請求項1又は請求項2に記載の画像処理装置。
【請求項4】
前記プロセッサは、前記第1領域及び前記第2領域の何れか一方を前記表示装置に対して表示させるための情報を出力する
請求項3に記載の画像処理装置。
【請求項5】
前記プロセッサは、
前記3次元対象部位画像内に関心領域を特定した情報に基づいて、前記第1領域及び前記第2領域のうちの前記関心領域が含まれていない領域を前記表示装置に対して表示させるための情報を出力する
請求項4に記載の画像処理装置。
【請求項6】
前記プロセッサは、
前記3次元対象部位画像内に関心領域を特定し、
前記3次元対象部位画像における前記関心領域の位置と、前記関心領域が含まれていない領域の体積又は前記関心領域が含まれている領域の体積とに基づいて前記幾何特性を算出する
請求項1から請求項5の何れか一項に記載の画像処理装置。
【請求項7】
前記プロセッサは、
前記3次元対象部位画像のうちの表示対象とされる領域のうち、前記関心領域が含まれていない領域の体積を最大化させる幾何特性を算出する
請求項6に記載の画像処理装置。
【請求項8】
前記プロセッサは、
前記3次元対象部位画像内に関心領域を特定し、
前記関心領域から指定された範囲の領域を前記関心領域の周辺領域として表示するための情報を出力する
請求項1から請求項7の何れか一項に記載の画像処理装置。
【請求項9】
前記プロセッサは、前記周辺領域が前記第1断面及び前記第2断面のうちの少なくとも一方と交差する場合に、通知装置に通知させる
請求項8に記載の画像処理装置。
【請求項10】
前記対象部位は、指定された臓器であり、
前記3次元対象部位画像は、前記臓器を示す3次元臓器画像である
請求項1から請求項9の何れか一項に記載の画像処理装置。
(【請求項11】以降は省略されています)
発明の詳細な説明
【技術分野】
【0001】
本開示の技術は、画像処理装置、画像処理方法、及びプログラムに関する。
続きを表示(約 2,600 文字)
【背景技術】
【0002】
特許文献1には、組織切除のための方法であって、方法は、組織内にエネルギー源を位置付けることと、エネルギー源から組織に向かって半径方向外向きにエネルギーを方向付けることと、所定の容量の組織を除去するようにエネルギー源を移動させることであって、エネルギー源の移動は、自動コントローラによって少なくとも部分的に制御される、こととを含む、方法が開示されている。
【0003】
特許文献2には、種類の異なる複数の医用画像診断装置によって取得された対象物の3次元画像データに対して、3次元画像データに対応する3次元立体モデルを使用して表示領域を指定する第一処理部と、3次元画像データの画像座標系と、3次元立体モデルに対して定義される計測座標系とを相互に対応付ける第二処理部と、3次元立体モデルを用いて指定された領域を指定領域とし、3次元画像データの中から指定領域に対応する領域を特定し且つその領域の画像を構成する第三処理部と、指定領域に対応する領域の画像を提示する第四処理部と、を備えることを特徴とする医用情報提示装が開示されている。
【0004】
特許文献3には、手術空間に置かれた被検体の画像を含む手術進行情報をリアルタイムで取得する計測手段と、予め取得された被検体の三次元画像および計測手段が取得した手術進行情報を記録する記録手段と、操作者からの指令を入力する入力部と操作者の入力に必要なGUIおよび記録手段に記録された手術進行情報並びに三次元画像を表示する表示部とを備えた入出力手段と、記録手段に記録された被検体の三次元画像および入出力手段を介して入力された操作者の指令に基づき、手術ガイド情報を算出し、算出された手術ガイド情報を記録手段に記録するとともに表示部に表示させる計算手段と、計測手段、記録手段、入出力手段および計算手段を制御する制御手段と、を備えた手術支援システムにおいて、計算手段は、計測手段が取得したリアルタイムの手術進行情報と手術ガイド情報とを比較し、比較結果を表示部に表示させる比較手段と、計測手段が取得したリアルタイムの被検体画像を用いて、手術ガイド情報を算出し、直前に算出された手術ガイド情報を更新する手術ガイド情報更新手段と、を備えたことを特徴とする手術支援システムが開示されている。
【先行技術文献】
【特許文献】
【0005】
特表2015-509789号公報
特開2011-224194号公報
特開2008-173159号公報
【発明の概要】
【0006】
本開示の技術に係る一つの実施形態は、3次元対象部位画像における仮想軸を用いず、かつ断面の幾何特性を変更できない場合と比較して、対象部位における断面を簡便に探索できる画像処理装置、画像処理方法、及びプログラムを提供する。
【課題を解決するための手段】
【0007】
本開示の技術に係る第1の態様は、プロセッサを備え、プロセッサは、対象部位を示す3次元画像である3次元対象部位画像を表示装置に表示させるための情報を出力し、3次元対象部位画像における対象部位の仮想軸を算出し、仮想軸上の第1位置と交差する第1断面に対応する2次元画像を表示装置に表示させるための情報を出力し、第1断面の幾何特性を変更する指示に従って幾何特性を変更し、第1断面の幾何特性が変更されることで得られた第2断面に対応する2次元画像を表示装置に表示させるための情報を出力する画像処理装置である。
【0008】
本開示の技術に係る第2の態様は、対象部位を示す3次元画像である3次元対象部位画像を表示装置に表示させるための情報を出力すること、3次元対象部位画像における対象部位の仮想軸を算出すること、仮想軸上の第1位置と交差する第1断面に対応する2次元画像を表示装置に表示させるための情報を出力すること、第1断面の幾何特性を変更する指示に従って幾何特性を変更すること、及び、幾何特性を変更した第2断面に対応する2次元画像を表示装置に表示させるための情報を出力することを含む画像処理方法である。
【0009】
本開示の技術に係る第3の態様は、コンピュータに、対象部位を示す3次元画像である3次元対象部位画像を表示装置に表示させるための情報を出力すること、3次元対象部位画像における対象部位の仮想軸を算出すること、仮想軸上の第1位置と交差する第1断面に対応する2次元画像を表示装置に表示させるための情報を出力すること、第1断面の幾何特性を変更する指示に従って幾何特性を変更すること、及び、幾何特性を変更した第2断面に対応する2次元画像を表示装置に表示させるための情報を出力することを含む処理を実行させるプログラムである。
【図面の簡単な説明】
【0010】
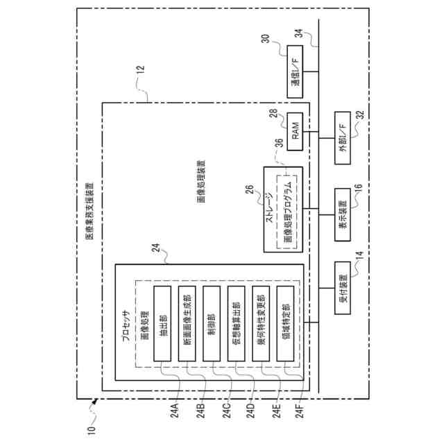
医療業務支援装置の概略構成を示す概念図である。
医療業務支援装置の電気系のハードウェア構成の一例を示すブロック図である。
抽出部の処理内容の一例を示す概念図である。
断面画像生成部の処理内容の一例を示す概念図である。
第1断面が表示装置に表示される態様の一例を示す概念図である。
第1断面の幾何特性の変更指示が受け付けられる態様の一例を示す概念図である。
第2断面が表示装置に表示される態様の一例を示す概念図である。
幾何特性の変更の態様の一例を示す概念図である。
画像処理の流れの一例を示すフローチャートである。
関心領域及び周辺領域が表示装置に表示される態様の一例を示す概念図である。
第1断面の幾何特性の変更指示が受け付けられる態様の一例を示す概念図である。
分割された後の第1領域のみが表示装置に表示される態様の一例を示す概念図である。
幾何特性の変更指示が制限される態様の一例を示す概念図である。
第2断面の幾何特性が設定される態様の一例を示す概念図である。
断面位置における矢状面、冠状面、及び横断面が表示装置に表示される態様の一例を示す概念図である。
医療業務支援システムの概略構成を示す概念図である。
【発明を実施するための形態】
(【0011】以降は省略されています)
この特許をJ-PlatPat(特許庁公式サイト)で参照する
関連特許
個人
貼付剤
22日前
個人
健康器具
9か月前
個人
簡易担架
4日前
個人
腋臭防止剤
4日前
個人
短下肢装具
3か月前
個人
足踏み器具
11日前
個人
鼾防止用具
9か月前
個人
白内障治療法
8か月前
個人
脈波測定方法
9か月前
個人
マッサージ機
9か月前
個人
排尿補助器具
1か月前
個人
導電香
9か月前
個人
嚥下鍛錬装置
4か月前
個人
脈波測定方法
9か月前
個人
前腕誘導装置
4か月前
個人
洗井間専家。
7か月前
個人
バッグ式オムツ
5か月前
個人
歯の修復用材料
4か月前
個人
腰ベルト
25日前
個人
胸骨圧迫補助具
2か月前
個人
ウォート指圧法
1か月前
個人
アイマスク装置
2か月前
個人
矯正椅子
5か月前
個人
汚れ防止シート
1か月前
個人
ホバーアイロン
7か月前
個人
歯の保護用シール
5か月前
個人
口内洗浄具
9か月前
個人
シャンプー
6か月前
個人
排尿排便補助器具
6日前
個人
車椅子持ち上げ器
8か月前
個人
哺乳瓶冷まし容器
3か月前
三生医薬株式会社
錠剤
8か月前
個人
美容セット
13日前
個人
湿布連続貼り機。
3か月前
個人
陣痛緩和具
4か月前
株式会社コーセー
化粧料
1か月前
続きを見る
他の特許を見る