TOP
|
特許
|
意匠
|
商標
特許ウォッチ
Twitter
他の特許を見る
10個以上の画像は省略されています。
公開番号
2025162889
公報種別
公開特許公報(A)
公開日
2025-10-28
出願番号
2024066383
出願日
2024-04-16
発明の名称
塗装設備用のフィルタモジュール
出願人
トリニティ工業株式会社
代理人
個人
主分類
B05B
14/43 20180101AFI20251021BHJP(霧化または噴霧一般;液体または他の流動性材料の表面への適用一般)
要約
【課題】圧力損失が少なく、塗料保持量が大きい塗装設備用のフィルタモジュールを提供すること。
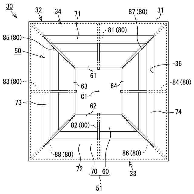
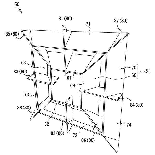
【解決手段】本発明のフィルタモジュール30は、外箱31、エリミネータ40及び拡散構造体50を備える。外箱31は、流入口36及び流出口37を有し、塗料粒子を含む空気が流入口36から内部に流れ込んで流出口37から排出される。エリミネータ40は、外箱31内に収容され、ジグザグ状をなす複数の板状のエリミネータエレメント43,44を並設してなり、空気から塗料粒子を分離する。拡散構造体50は、外箱31内においてエリミネータ40と流入口36との間に収容され、エリミネータ40の前端部に空気を導くとともに、流入口36から導入された空気の流れ方向を変更することで、流入口36と流出口37とを繋ぐ流路の中央部から外周側に向けて空気を拡散させる。
【選択図】図3
特許請求の範囲
【請求項1】
塗装設備の排気経路上に設けられ、可燃性材料からなるフィルタモジュールであって、
上流側面にて開口する流入口及び前記上流側面に対向する下流側面にて開口する流出口を有し、塗料粒子を含む空気が前記流入口から内部に流れ込んで前記流出口から排出される外箱と、
前記外箱内に収容され、ジグザグ状をなす複数の板状のエリミネータエレメントを並設してなり、前記空気から前記塗料粒子を分離するエリミネータと、
前記外箱内において前記エリミネータと前記流入口との間に収容され、前記エリミネータの前端部に前記空気を導くとともに、前記流入口から導入された前記空気の流れ方向を変更することで、前記流入口と前記流出口とを繋ぐ流路の中央部から外周側に向けて前記空気を拡散させる拡散構造体と
を備えたことを特徴とする塗装設備用のフィルタモジュール。
続きを表示(約 1,500 文字)
【請求項2】
前記拡散構造体は、前記流路に対して傾斜し、前記流路の中央部から外周側に向けて前記空気を拡散させる拡散板を含んで構成されていることを特徴とする請求項1に記載の塗装設備用のフィルタモジュール。
【請求項3】
前記拡散板は、1枚の内周側斜板と、前記内周側斜板を包囲する1枚の外周側斜板とからなる二重構造を有していることを特徴とする請求項2に記載の塗装設備用のフィルタモジュール。
【請求項4】
前記内周側斜板及び前記外周側斜板は、矩形環状または円環状に形成されていることを特徴とする請求項3に記載の塗装設備用のフィルタモジュール。
【請求項5】
前記内周側斜板及び前記外周側斜板が、前記拡散構造体の中央部から外周部に向かって放射状に延びる複数枚の連結板を介して連結保持されていることを特徴とする請求項3に記載の塗装設備用のフィルタモジュール。
【請求項6】
前記内周側斜板及び前記外周側斜板における複数箇所に第1切込部が形成され、前記連結板に前記第1切込部が差込可能な第2切込部が形成され、
前記第1切込部と前記第2切込部との接触部分が非接着の状態で、前記内周側斜板及び前記外周側斜板が前記連結板を介して連結保持されている
ことを特徴とする請求項5に記載の塗装設備用のフィルタモジュール。
【請求項7】
前記内周側斜板及び前記外周側斜板は、前記流路の外周側かつ上方に傾斜する上方傾斜板と、前記流路の外周側かつ下方に傾斜する下方傾斜板と、前記流路の外周側かつ左方に傾斜する左方傾斜板と、前記流路の外周側かつ右方に傾斜する右方傾斜板とによって形成され、
前記内周側斜板の前記上方傾斜板及び前記外周側斜板の前記上方傾斜板、並びに、前記内周側斜板の前記下方傾斜板及び前記外周側斜板の前記下方傾斜板が、前記連結板である第1の連結板を介してそれぞれ連結保持されるとともに、
前記内周側斜板の前記左方傾斜板及び前記外周側斜板の前記左方傾斜板、並びに、前記内周側斜板の前記右方傾斜板及び前記外周側斜板の前記右方傾斜板が、前記第1の連結板とは異なる方向に延びる前記連結板である第2の連結板を介してそれぞれ連結保持されている
ことを特徴とする請求項5に記載の塗装設備用のフィルタモジュール。
【請求項8】
前記拡散板は、前記流路の外周側かつ上方に傾斜する上方傾斜板と、前記流路の外周側かつ下方に傾斜する下方傾斜板と、前記流路の外周側かつ左方に傾斜する左方傾斜板と、前記流路の外周側かつ右方に傾斜する右方傾斜板とを有していることを特徴とする請求項2に記載の塗装設備用のフィルタモジュール。
【請求項9】
前記上方傾斜板及び前記下方傾斜板が、第1の連結板を介して連結保持されるとともに、
前記左方傾斜板及び前記右方傾斜板が、前記第1の連結板とは異なる方向に延びる第2の連結板を介して連結保持され、
前記上方傾斜板、前記下方傾斜板及び前記第1の連結板により構成される上下拡散ユニットと、前記左方傾斜板、前記右方傾斜板及び前記第2の連結板により構成される左右拡散ユニットとが、前記流路の前後方向に隣接して配置されている
ことを特徴とする請求項8に記載の塗装設備用のフィルタモジュール。
【請求項10】
前記エリミネータエレメントの前端部には、前記流入口から前記流出口に向かう方向に延びる複数の直線状板部が並設されていることを特徴とする請求項1に記載の塗装設備用のフィルタモジュール。
(【請求項11】以降は省略されています)
発明の詳細な説明
【技術分野】
【0001】
本発明は、空気から塗料粒子を分離する塗装設備用のフィルタモジュールに関するものである。
続きを表示(約 2,100 文字)
【背景技術】
【0002】
従来、空気から塗料粒子を分離するフィルタモジュールが種々提案されている(例えば、特許文献1~3参照)。例えば、図16,図17に示されるように、特許文献1に記載のフィルタモジュール141は、外箱142とエリミネータ143とを備えている。外箱142は、直方体状をなし、上面にて開口する流入口144及び側面にて開口する流出口145を有している。また、エリミネータ143は、外箱142内に収容され、ジグザグ状をなす複数の板状のエリミネータエレメント146を並設してなる。そして、塗料粒子を含む空気A2(塗料ミスト)は、流入口144を介して外箱142内に流れ込み、90°程度向きを変えてから隣接するエリミネータエレメント146間を通過し、流出口145から排出される。なお、塗料粒子は、エリミネータエレメント146間の通過時に空気A2から分離される。
【先行技術文献】
【特許文献】
【0003】
特許第6895011号公報
特許第6475241号公報
特許第6723677号公報
【発明の概要】
【発明が解決しようとする課題】
【0004】
ところが、上記した従来のフィルタモジュール141の場合、流入口144から流れ込んだ空気A2が、外箱142内において急激に(90°程度)向きを変えるため、圧力損失が生じてしまうという問題がある。また、流入口144から流れ込んだ空気A2は、流入口144と流出口145とを繋ぐ流路の中央部を流れて、エリミネータ143に誘導される。これにより、空気A2に含まれる塗料粒子は、流路の中央部に偏在して溜まりやすくなる。しかも、エリミネータエレメント146間の流路の断面積は小さいため、塗料粒子によって流路が詰まりやすく、塗料保持量が小さいという問題がある。
【0005】
本発明は上記の課題に鑑みてなされたものであり、その目的は、圧力損失が少なく、塗料保持量が大きい塗装設備用のフィルタモジュールを提供することにある。
【課題を解決するための手段】
【0006】
上記課題を解決するために、請求項1に記載の発明は、塗装設備の排気経路上に設けられ、可燃性材料からなるフィルタモジュールであって、上流側面にて開口する流入口及び前記上流側面に対向する下流側面にて開口する流出口を有し、塗料粒子を含む空気が前記流入口から内部に流れ込んで前記流出口から排出される外箱と、前記外箱内に収容され、ジグザグ状をなす複数の板状のエリミネータエレメントを並設してなり、前記空気から前記塗料粒子を分離するエリミネータと、前記外箱内において前記エリミネータと前記流入口との間に収容され、前記エリミネータの前端部に前記空気を導くとともに、前記流入口から導入された前記空気の流れ方向を変更することで、前記流入口と前記流出口とを繋ぐ流路の中央部から外周側に向けて前記空気を拡散させる拡散構造体とを備えたことを特徴とする塗装設備用のフィルタモジュールをその要旨とする。
【0007】
請求項1に記載の発明では、流入口及び流出口が、外箱において互いに対向する位置に設けられる。このため、流入口から流れ込んだ空気は、外箱内において向きを変えることなく流出口に導かれるため、圧力損失が少なくなる。また、エリミネータと流入口との間に拡散構造体が収容されるため、流入口から流れ込んだ空気は、流入口と流出口とを繋ぐ流路の中央部から外周側に向けて拡散されて、エリミネータに誘導される。これにより、塗料粒子を含む空気は、フィルタモジュール全体に広がってフィルタモジュール内を均一に流れるようになる。その結果、エリミネータエレメント間の流路が塗料粒子によって詰まることが防止され、塗料保持量が大きくなる。
【0008】
さらに、請求項1では、フィルタモジュールが可燃性材料からなるため、フィルタモジュールの焼却や使い捨て交換が可能である。ここで、可燃性材料としては、紙、樹脂、木材などが挙げられる。なお、可燃性材料として、段ボール紙やプラスチック段ボールを用いれば、フィルタモジュールの強度が向上する。
【0009】
請求項2に記載の発明は、請求項1において、前記拡散構造体は、前記流路に対して傾斜し、前記流路の中央部から外周側に向けて前記空気を拡散させる拡散板を含んで構成されていることをその要旨とする。
【0010】
請求項2に記載の発明では、流入口から外箱内に導入された空気が拡散板に衝突して方向を変えることで、空気が下流側のエリミネータに導かれる。その結果、空気が偏りなく均一に流れる。即ち、単位流量当りの空気の接触面積が増加する。このため、空気に含まれる塗料粒子が拡散板の表面に付着しやすくなり、下流側のエリミネータエレメントの表面にも付着しやすくなるため、塗料粒子の除去効率が向上する。
(【0011】以降は省略されています)
この特許をJ-PlatPat(特許庁公式サイト)で参照する
関連特許
ベック株式会社
被膜形成方法
4か月前
ベック株式会社
被膜形成方法
4か月前
ベック株式会社
被膜形成方法
28日前
有限会社 芦屋ドレス
湯噴霧器
13日前
ベック株式会社
装飾被膜の形成方法
3か月前
スズカファイン株式会社
多色性塗膜
1か月前
アイカ工業株式会社
塗料仕上げ工法
1か月前
株式会社吉野工業所
キャップ
3か月前
能美防災株式会社
水噴霧ヘッド
1か月前
プルガティオ株式会社
噴霧装置
4か月前
プルガティオ株式会社
噴霧装置
4か月前
プルガティオ株式会社
噴霧装置
4か月前
株式会社カネカ
塗布装置
1か月前
個人
スプレー缶高所対応携帯ホルダー
1か月前
トヨタ自動車株式会社
塗布装置
1か月前
日本ライナー株式会社
塗装装置
1か月前
ヒット工業株式会社
マスキング具
2か月前
株式会社吉野工業所
ポンプ式吐出器
4か月前
中外炉工業株式会社
塗工装置
3か月前
東レエンジニアリング株式会社
スリットダイ
28日前
東レエンジニアリング株式会社
粉体吐出装置
26日前
ブラザー工業株式会社
塗工装置
25日前
ブラザー工業株式会社
塗工装置
25日前
ブラザー工業株式会社
塗工装置
25日前
旭サナック株式会社
粉体塗装装置
1か月前
株式会社吉野工業所
吐出器
3か月前
株式会社吉野工業所
吐出器
4か月前
株式会社大関
塗装用ローラとその製造方法
4か月前
トリニティ工業株式会社
回転霧化式塗装機
1か月前
AWJ株式会社
ステンシルプレートセット
2か月前
個人
散水形態を変更可能な吐水装置
1か月前
積水ハウス株式会社
接着剤塗布装置
3か月前
ブラザー工業株式会社
静電塗工装置
25日前
トヨタ自動車株式会社
間欠塗工装置
7日前
三菱鉛筆株式会社
多液混合型塗布具
3か月前
株式会社トーモク
印刷装置および印刷方法
1か月前
続きを見る
他の特許を見る