TOP
|
特許
|
意匠
|
商標
特許ウォッチ
Twitter
他の特許を見る
公開番号
2025170986
公報種別
公開特許公報(A)
公開日
2025-11-20
出願番号
2024075900
出願日
2024-05-08
発明の名称
静電塗装ガン
出願人
旭サナック株式会社
代理人
弁理士法人サトー
主分類
B05B
5/025 20060101AFI20251113BHJP(霧化または噴霧一般;液体または他の流動性材料の表面への適用一般)
要約
【課題】静電反発の発生を抑制しつつ、塗着効率の向上を図ることができる静電塗装ガンを提供する。
【解決手段】静電塗装ガンは、本体部と、本体部の内部に設けられる塗料経路と、塗料経路を流れる粉体塗料に旋回流を発生させる整流部と、高電圧が印加される放電電極と、放電電極の周囲に設けられ塗料経路を流れる粉体塗料を噴出するための複数の噴出口を有するノズルと、を備え、噴出口は、塗料経路の粉体塗料の流れ方向に対してねじれた形状で形成されている。
【選択図】図5
特許請求の範囲
【請求項1】
本体部と、
前記本体部の内部に設けられる塗料経路と、
前記塗料経路を流れる粉体塗料に旋回流を発生させる整流部と、
高電圧が印加される放電電極と、
前記放電電極の周囲に設けられ前記塗料経路を流れる粉体塗料を噴出するための複数の噴出口を有するノズルと、を備え、
前記噴出口は、前記塗料経路の粉体塗料の流れ方向に対してねじれた形状で形成されている、
静電塗装ガン。
続きを表示(約 190 文字)
【請求項2】
前記ノズルは、前記噴出口を外側から覆うように設けられ、前記噴出口から噴出した粉体塗料の一部と接触する覆い部を有する、
請求項1に記載の静電塗装ガン。
【請求項3】
前記ノズルは、前記ノズルの先端面を内側に窪んで形成される窪み部を有し、
前記放電電極の先端は、前記窪み部内に位置している、
請求項1又は2に記載の静電塗装ガン。
発明の詳細な説明
【技術分野】
【0001】
本発明の実施形態は、静電塗装ガンに関する。
続きを表示(約 1,900 文字)
【背景技術】
【0002】
静電塗装は、例えば作業者が直接操作する静電塗装ガンから噴出した粉体塗料を、静電引力によって例えば自動車の車体等の被塗物に塗着させることで、被塗物を塗装する塗装方法である。このような静電塗装において、被塗物の表面には、帯電した塗料粒子と帯電に寄与しなかったフリーイオンの堆積により塗膜が形成される。そして、粉体層内の電界強度が増加し粉体層の絶縁破壊電界強度を越えると小規模な放電が発生する、いわゆる静電反発が生じると塗膜表面の平滑性が損なわれるため問題となっている。
【0003】
従来、静電反発の発生を抑制するために、フリーイオンの発生量を抑制することあるいはフリーイオンが被塗物に向かわないようにすることが行われている。特許文献1には、フリーイオントラップ装置及び誘導電界形成用電極を備える静電粉体塗装装置を用いて粉体塗料を静電気的に荷電して塗装する方法が開示されている。
【先行技術文献】
【特許文献】
【0004】
特開平8-57405号公報
【発明の概要】
【発明が解決しようとする課題】
【0005】
ところで、従来構成では、誘導電界形成用電極を用いることで、被塗物の表面への塗着効率を向上が図られているが、誘導電界形成用電極の適正な配置等が必要であり、装置構成の複雑化を招くおそれがある。このため、静電反発の発生を抑制しつつ、塗着効率の向上を図る点において、改善の余地があった。
【0006】
本発明は、上記事情に鑑みてなされたものであり、その目的は、静電反発の発生を抑制しつつ、塗着効率の向上を図ることができる静電塗装ガンを提供することにある。
【課題を解決するための手段】
【0007】
実施形態の静電塗装ガンは、本体部と、前記本体部の内部に設けられる塗料経路と、前記塗料経路を流れる粉体塗料に旋回流を発生させる整流部と、高電圧が印加される放電電極と、前記放電電極の周囲に設けられ前記塗料経路を流れる粉体塗料を噴出するための複数の噴出口を有するノズルと、を備え、前記噴出口は、前記塗料経路の粉体塗料の流れ方向に対してねじれた形状で形成されている。
【図面の簡単な説明】
【0008】
一実施形態による静電塗装ガンの一例について、概略構成を模式的に示す断面図
一実施形態による静電塗装ガンについて、旋回流発生部の構成の一例を示す図
一実施形態による静電塗装ガンについて、ノズルの構成の一例を示す図
一実施形態による静電塗装ガンについて、ノズルを正面から見た図
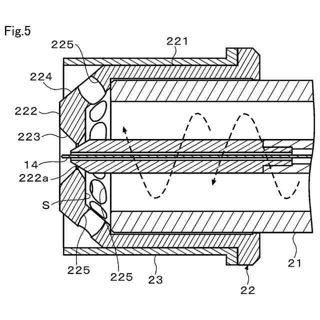
一実施形態による静電塗装ガンについて、ノズルの先端付近の概略構成を図4のX5-X5線に沿って示す断面図
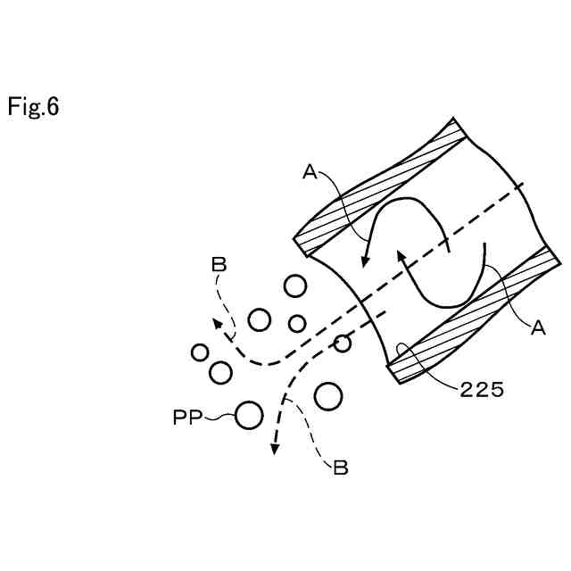
一実施形態による静電塗装ガンについて、噴出口から噴出される塗料の流れを模式的に示す図
一実施形態による静電塗装ガンについて、荷電電極の周囲が塗料粒子によって密に覆われた状態を示す図
【発明を実施するための形態】
【0009】
以下、一実施形態に係る静電塗装ガンについて、図面を参照しながら説明する。
図1に示す静電塗装ガン10は、例えば粉体塗料を静電引力によって被塗物に塗着させることで、被塗物に粉体塗料を塗布するためのものである。静電塗装ガン10は、被塗物に自動で粉体塗料を塗布できる自動ガンであってもよいし、作業者が手動で操作する手動ガンであってもよい。静電塗装ガン10は、図1に示すように、本体部11、塗料経路12、高電圧発生部13、放電電極14、ノズルキャップ15、及びノズル20を備えている。
【0010】
本体部11は、静電塗装ガン10の主体を構成している。本体部11は、例えば電気絶縁性を有する合成樹脂で構成されている。なお、本実施形態では、図1における紙面の左側が粉体塗料の噴出方向であって本体部11の先端側となり、図1における紙面の右側が粉体塗料の噴出方向と反対側であって本体部11の基端側となる。塗料経路12は、本体部11の内部に設けられている。塗料経路12は、本体部11の軸心に沿って延びている。塗料経路12は、図示しない外部の塗料供給源から塗料ホース等を介して搬送エアによって供給される粉体塗料をノズル20に導くためのものである。外部とは、静電塗装ガン10の外部を意味する。
(【0011】以降は省略されています)
この特許をJ-PlatPat(特許庁公式サイト)で参照する
関連特許
旭サナック株式会社
静電塗装ガン
1日前
旭サナック株式会社
塗料用開閉弁
1か月前
個人
微細霧発生装置
14日前
ベック株式会社
被膜形成方法
9日前
ベック株式会社
被膜形成方法
9日前
ベック株式会社
被膜形成方法
9日前
ベック株式会社
被膜形成方法
9日前
ベック株式会社
被膜形成方法
9日前
ベック株式会社
被膜形成方法
1か月前
有限会社 芦屋ドレス
湯噴霧器
1か月前
株式会社吉野工業所
キャップ
4か月前
ベック株式会社
装飾被膜の形成方法
3か月前
アイカ工業株式会社
塗料仕上げ工法
2か月前
スズカファイン株式会社
多色性塗膜
1か月前
日本ライナー株式会社
塗装装置
2か月前
株式会社カネカ
塗布装置
1か月前
トヨタ自動車株式会社
塗布装置
1か月前
能美防災株式会社
水噴霧ヘッド
1か月前
個人
スプレー缶高所対応携帯ホルダー
2か月前
ヒット工業株式会社
マスキング具
3か月前
中外炉工業株式会社
塗工装置
3か月前
ブラザー工業株式会社
塗工装置
1か月前
ブラザー工業株式会社
塗工装置
1か月前
東レエンジニアリング株式会社
粉体吐出装置
1か月前
東レエンジニアリング株式会社
スリットダイ
1か月前
ブラザー工業株式会社
塗工装置
1か月前
株式会社吉野工業所
吐出器
4か月前
旭サナック株式会社
粉体塗装装置
2か月前
ブラザー工業株式会社
静電塗工装置
1か月前
トリニティ工業株式会社
回転霧化式塗装機
1か月前
積水ハウス株式会社
接着剤塗布装置
3か月前
AWJ株式会社
ステンシルプレートセット
3か月前
三菱鉛筆株式会社
多液混合型塗布具
3か月前
株式会社トーモク
印刷装置および印刷方法
2か月前
個人
散水形態を変更可能な吐水装置
1か月前
トヨタ自動車株式会社
間欠塗工装置
24日前
続きを見る
他の特許を見る