TOP
|
特許
|
意匠
|
商標
特許ウォッチ
Twitter
他の特許を見る
10個以上の画像は省略されています。
公開番号
2025141865
公報種別
公開特許公報(A)
公開日
2025-09-29
出願番号
2025036676
出願日
2025-03-07
発明の名称
バリア性フィルム、積層体および包装容器
出願人
大日本印刷株式会社
代理人
個人
,
個人
,
個人
主分類
B32B
27/32 20060101AFI20250919BHJP(積層体)
要約
【課題】延伸ポリオレフィンフィルムと蒸着膜とを備えるバリア性フィルムであって、蒸着膜の密着性に優れるとともに、ガスバリア性に優れるバリア性フィルムを提供する。
【解決手段】少なくとも、ポリオレフィンフィルムの延伸フィルムと、アンカーコート層と、蒸着膜と、を積層方向にこの順に備えるバリア性フィルムであり、前記ポリオレフィンフィルムは、ポリエチレンフィルムまたはポリプロピレンフィルムであり、ポリオレフィンフィルムおよびその延伸フィルムは、それぞれ、第1の面と、第1の面に対向する第2の面と、を有し、アンカーコート層は、極性基を有する樹脂材料を含有し、アンカーコート層は、延伸フィルムにおける少なくとも第2の面上に設けられており、蒸着膜は、アンカーコート層上に設けられている、バリア性フィルム。
【選択図】なし
特許請求の範囲
【請求項1】
バリア性フィルムであって、
前記バリア性フィルムは、少なくとも、
ポリオレフィンフィルムの延伸フィルムと、
アンカーコート層と、
蒸着膜と、
を積層方向にこの順に備え、
前記ポリオレフィンフィルムは、ポリエチレンフィルムまたはポリプロピレンフィルムであり、前記ポリオレフィンフィルムおよびその延伸フィルムは、それぞれ、第1の面と、前記第1の面に対向する第2の面と、を有し、
前記アンカーコート層は、極性基を有する樹脂材料を含有し、
前記アンカーコート層は、前記延伸フィルムにおける少なくとも前記第2の面上に設けられており、
前記蒸着膜は、前記アンカーコート層上に設けられている、
バリア性フィルム。
続きを表示(約 1,600 文字)
【請求項2】
前記ポリオレフィンフィルムが、前記ポリエチレンフィルムであり、
前記ポリエチレンフィルムが、その第2の面を構成する層として、高密度ポリエチレンと前記高密度ポリエチレン以外のポリエチレンとを含有するポリエチレン層を備えるか、あるいは、高密度ポリエチレンおよび中密度ポリエチレンからなる群から選択される少なくとも1種の重合体と、前記重合体以外の他のポリエチレンと、を含有するポリエチレン層を備える、
請求項1に記載のバリア性フィルム。
【請求項3】
前記ポリエチレンフィルムの前記第2の面を構成する前記ポリエチレン層が、前記高密度ポリエチレン以外のポリエチレンとして、中密度ポリエチレンまたは直鎖状低密度ポリエチレンを含有する、請求項2に記載のバリア性フィルム。
【請求項4】
前記ポリエチレンフィルムの前記第2の面を構成する前記ポリエチレン層が、前記他のポリエチレンとして、直鎖状密度ポリエチレンを含有する、請求項2に記載のバリア性フィルム。
【請求項5】
前記ポリエチレンフィルムの前記第2の面を構成する前記ポリエチレン層において、高密度ポリエチレンおよび中密度ポリエチレンの含有割合の合計が、20質量%以上60質量%以下であり、直鎖状低密度ポリエチレンの含有割合が、40質量%以上80質量%以下である、請求項4に記載のバリア性フィルム。
【請求項6】
前記ポリエチレンフィルムの前記第2の面を構成する前記ポリエチレン層が、前記高密度ポリエチレンを含有し、前記高密度ポリエチレンが、0.945g/cm
3
超0.960g/cm
3
以下の密度を有するエチレン-α-オレフィン共重合体であり、前記直鎖状低密度ポリエチレンが、0.930g/cm
3
以下の密度を有するエチレン-α-オレフィン共重合体である、請求項4に記載のバリア性フィルム。
【請求項7】
前記ポリエチレンフィルムが、
前記第1の面を構成する第1の表面樹脂層と、
ポリエチレン中間層と、
前記第2の面を構成する第2の表面樹脂層と、
を備え、
前記第1の表面樹脂層および前記ポリエチレン中間層が、それぞれ独立して、高密度ポリエチレンおよび中密度ポリエチレンからなる群から選択される少なくとも1種の重合体と、直鎖状低密度ポリエチレンとを含有し、
ただし、前記ポリエチレンフィルムを構成する隣り合う層同士の樹脂組成が同じで互いに区別できない場合は、隣り合う層同士は一体化して一つの層を構成していてもよい、
請求項4に記載のバリア性フィルム。
【請求項8】
前記第1の表面樹脂層および前記ポリエチレン中間層において、それぞれ独立して、高密度ポリエチレンおよび中密度ポリエチレンの含有割合の合計が、20質量%以上60質量%以下であり、直鎖状低密度ポリエチレンの含有割合が、40質量%以上80質量%以下である、請求項7に記載のバリア性フィルム。
【請求項9】
前記第1の表面樹脂層および前記ポリエチレン中間層が、それぞれ独立して、0.945g/cm
3
超0.960g/cm
3
以下の密度を有するエチレン-α-オレフィン共重合体である高密度ポリエチレンと、0.930g/cm
3
以下の密度を有するエチレン-α-オレフィン共重合体である直鎖状低密度ポリエチレンと、を含有する、請求項7に記載のバリア性フィルム。
【請求項10】
前記ポリエチレンフィルムが、前記ポリエチレン中間層を2層以上備える、請求項7に記載のバリア性フィルム。
(【請求項11】以降は省略されています)
発明の詳細な説明
【技術分野】
【0001】
本開示は、バリア性フィルム、積層体および包装容器に関する。
続きを表示(約 2,100 文字)
【背景技術】
【0002】
液体および粉体などの内容物を収容するため、包装容器が用いられている。包装容器は、基材およびヒートシール層を備える積層体を用いて作製されている(例えば特許文献1参照)。
【先行技術文献】
【特許文献】
【0003】
特開2020-55156号公報
【発明の概要】
【発明が解決しようとする課題】
【0004】
本発明者は、基材として延伸ポリオレフィンフィルムを備える積層体を用いて、包装容器を作製することを検討した。しかしながら、延伸ポリオレフィンフィルムはガスバリア性が低いことから、このような包装容器はガスバリア性が充分ではなかった。そこで本発明者は、基材として、延伸ポリオレフィンフィルム上に蒸着膜を備えるバリア性フィルムを用いることを検討したところ、延伸ポリオレフィンフィルムと蒸着膜との密着性が充分ではなく、また、該バリア性フィルムは依然としてガスバリア性が充分ではない場合があった。
本開示は、延伸ポリオレフィンフィルムと蒸着膜とを備えるバリア性フィルムであって、蒸着膜の密着性に優れるとともに、ガスバリア性に優れるバリア性フィルムを提供することを一つの目的とする。
【課題を解決するための手段】
【0005】
本開示のバリア性フィルムの一態様は、少なくとも、ポリオレフィンフィルムの延伸フィルムと、アンカーコート層と、蒸着膜と、を積層方向にこの順に備え、ポリオレフィンフィルムは、ポリエチレンフィルムまたはポリプロピレンフィルムであり、ポリオレフィンフィルムおよびその延伸フィルムは、それぞれ、第1の面と、第1の面に対向する第2の面と、を有し、アンカーコート層は、極性基を有する樹脂材料を含有し、アンカーコート層は、延伸フィルムにおける少なくとも第2の面上に設けられており、蒸着膜は、アンカーコート層上に設けられている。
【発明の効果】
【0006】
本開示によれば、延伸ポリオレフィンフィルムと蒸着膜とを備えるバリア性フィルムであって、蒸着膜の密着性に優れるとともに、ガスバリア性に優れるバリア性フィルムを提供できる。該バリア性フィルムは、例えば、ガスバリア性に優れる包装容器を作製するための包装材料における基材として有用である。
【図面の簡単な説明】
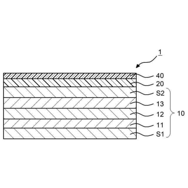
【0007】
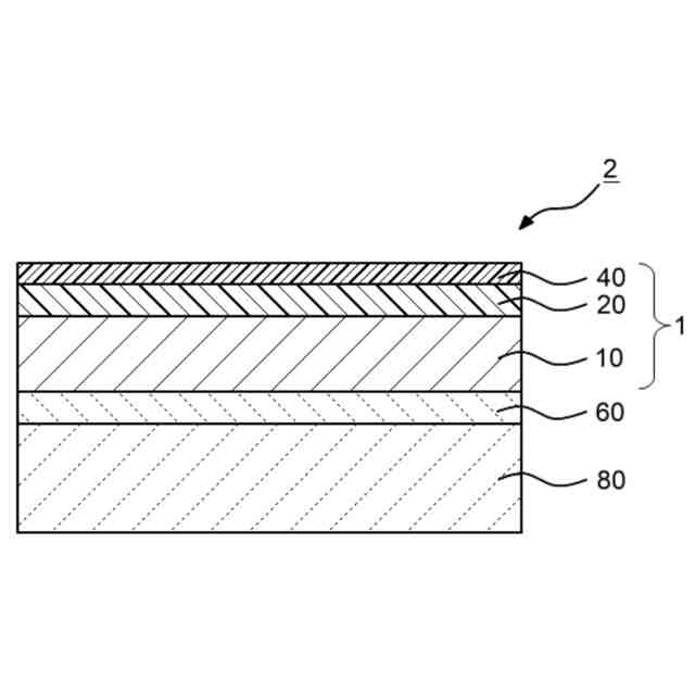
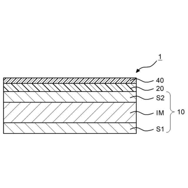
図1Aは、バリア性フィルムの一実施形態を示す模式断面図である。
図1Bは、バリア性フィルムの一実施形態を示す模式断面図である。
図1Cは、バリア性フィルムの一実施形態を示す模式断面図である。
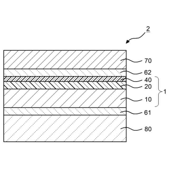
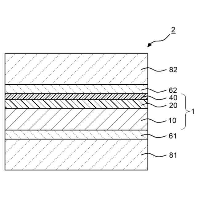
図2は、積層体の一実施形態を示す模式断面図である。
図3は、積層体の一実施形態を示す模式断面図である。
図4は、積層体の一実施形態を示す模式断面図である。
図5は、積層体を含むチューブ容器本体と、キャップと、を備えるチューブ容器の一実施形態を示す斜視図である。
図6は、図5のA-A断面図である。
【発明を実施するための形態】
【0008】
以下、本開示の実施形態について、詳細に説明する。図面は、説明をより明確にするため、実施形態に比べ、各層の幅、厚さおよび形状等について模式的に表される場合があるが、あくまで一例であって、本開示の解釈を限定しない。本明細書と各図において、既出の図に関してすでに説明したものと同様の要素には、同一の符号を付して、詳細な説明を適宜省略することがある。
【0009】
本明細書において、あるパラメータに関して複数の上限値の候補および複数の下限値の候補が挙げられている場合、そのパラメータの数値範囲は、任意の1つの上限値の候補と任意の1つの下限値の候補とを組み合わせることによって構成されてもよい。上記パラメータとしては、例えば、物性値、成分の含有割合および層の厚さが挙げられる。一例として、「パラメータBは、好ましくはA1以上、より好ましくはA2以上、さらに好ましくはA3以上である。パラメータBは、好ましくはA4以下、より好ましくはA5以下、さらに好ましくはA6以下である。」との記載について説明する。この例において、パラメータBの数値範囲は、A1以上A4以下でもよく、A1以上A5以下でもよく、A1以上A6以下でもよく、A2以上A4以下でもよく、A2以上A5以下でもよく、A2以上A6以下でもよく、A3以上A4以下でもよく、A3以上A5以下でもよく、A3以上A6以下でもよい。
【0010】
本明細書において、ポリエチレンとは、全繰返し構成単位中、エチレン由来の構成単位の含有割合が50モル%超の重合体をいう。この重合体において、エチレン由来の構成単位の含有割合は、好ましくは70モル%以上、より好ましくは80モル%以上、さらに好ましくは90モル%以上、特に好ましくは95モル%以上である。上記含有割合は、NMR法により測定される。
(【0011】以降は省略されています)
この特許をJ-PlatPat(特許庁公式サイト)で参照する
関連特許
大日本印刷株式会社
印刷物
1か月前
大日本印刷株式会社
印刷物
1か月前
大日本印刷株式会社
除電装置
21日前
大日本印刷株式会社
太陽電池
28日前
大日本印刷株式会社
積層シート
1か月前
大日本印刷株式会社
床用化粧材
1か月前
大日本印刷株式会社
プリフォーム
6日前
大日本印刷株式会社
インテリア用品
11日前
大日本印刷株式会社
旅行記作成システム
25日前
大日本印刷株式会社
プラスチックボトル
6日前
大日本印刷株式会社
化粧シート及び化粧材
14日前
大日本印刷株式会社
調光部材及び合わせ板
25日前
大日本印刷株式会社
積層体および包装容器
1か月前
大日本印刷株式会社
積層体および包装容器
1か月前
大日本印刷株式会社
再配線層及びその製造方法
1か月前
大日本印刷株式会社
加飾シート及び樹脂成形品
1か月前
大日本印刷株式会社
処理装置、判断方法及び評価方法
13日前
大日本印刷株式会社
紙印刷物および紙印刷物の製造方法
13日前
大日本印刷株式会社
位相差板、光学部材、及び、表示装置
1か月前
大日本印刷株式会社
熱転写シートと中間転写媒体との組合せ
1か月前
大日本印刷株式会社
加飾シート、加飾部材及び表示システム
19日前
大日本印刷株式会社
情報処理システム、装着装置及びプログラム
25日前
大日本印刷株式会社
情報処理装置、情報処理方法、及びプログラム
12日前
大日本印刷株式会社
測定システム、測定方法、測定プログラム、物体
1か月前
大日本印刷株式会社
加飾シート、外装部材の製造方法および外装部材
1か月前
大日本印刷株式会社
加飾積層体、転写シート、加飾部材、及び移動体
1か月前
大日本印刷株式会社
化粧シート、化粧シートの製造方法および化粧材
6日前
大日本印刷株式会社
化粧シート、化粧シートの製造方法および化粧材
6日前
大日本印刷株式会社
化粧シート、化粧シートの製造方法および化粧材
13日前
大日本印刷株式会社
光学シート、液晶表示装置及び有機EL表示装置
11日前
大日本印刷株式会社
化粧シート、化粧材、及び、化粧シートの製造方法
1か月前
大日本印刷株式会社
化粧シート、化粧材、及び、化粧シートの製造方法
1か月前
大日本印刷株式会社
金属板の測定装置、測定方法、及び金属板の製造方法
25日前
大日本印刷株式会社
合掌ガセット袋および合掌ガセット袋用シート製造方法
19日前
大日本印刷株式会社
熱転写シートの洗浄方法およびリサイクル原料の製造方法
1か月前
大日本印刷株式会社
仮想空間監視装置、プログラム及び仮想空間監視システム
20日前
続きを見る
他の特許を見る