TOP
|
特許
|
意匠
|
商標
特許ウォッチ
Twitter
他の特許を見る
公開番号
2025153714
公報種別
公開特許公報(A)
公開日
2025-10-10
出願番号
2024056328
出願日
2024-03-29
発明の名称
熱転写シートの洗浄方法およびリサイクル原料の製造方法
出願人
大日本印刷株式会社
代理人
個人
,
個人
主分類
B29B
17/02 20060101AFI20251002BHJP(プラスチックの加工;可塑状態の物質の加工一般)
要約
【課題】良好な洗浄性と、良好な低起泡性と、を両立した熱転写シートの洗浄方法を提供する。
【解決手段】熱転写シートの破砕片を準備する準備工程と、複数の破砕片を、中性の水系洗浄液を用いて洗浄処理する洗浄処理工程と、を有し、熱転写シートの厚さは、3.5μm以上、12μm以下であり、水系洗浄液は、少なくとも界面活性剤を含む洗浄剤と、水と、を含有し、破砕片の質量の合計に対する水の質量が、160倍以上であり、破砕片の質量の合計に対する洗浄剤の質量が、1倍以上、85倍以下である。
【選択図】図1
特許請求の範囲
【請求項1】
熱転写シートの洗浄方法であって、
前記熱転写シートの洗浄方法は、前記熱転写シートの破砕片を準備する準備工程と、複数の前記破砕片を、中性の水系洗浄液を用いて洗浄処理する洗浄処理工程と、を有し、
前記熱転写シートの厚さは、3.5μm以上、12μm以下であり、
前記水系洗浄液は、少なくとも界面活性剤を含む洗浄剤と、水と、を含有し、
前記破砕片の質量の合計に対する前記水の質量が、160倍以上であり、
前記破砕片の質量の合計に対する前記洗浄剤の質量が、1倍以上、85倍以下である、熱転写シートの洗浄方法。
続きを表示(約 600 文字)
【請求項2】
前記破砕片の質量の合計に対する前記水の質量が、600倍以下である、請求項1に記載の熱転写シートの洗浄方法。
【請求項3】
前記水系洗浄液における前記洗浄剤の濃度が、0.2質量%以上、15.0質量%以下である、請求項1に記載の熱転写シートの洗浄方法。
【請求項4】
前記水系洗浄液は、前記洗浄剤として消泡剤を含有する、請求項1に記載の熱転写シートの洗浄方法。
【請求項5】
前記水系洗浄液は、前記洗浄剤として消泡剤を含有しない、請求項1に記載の熱転写シートの洗浄方法。
【請求項6】
前記水系洗浄液は、前記界面活性剤として、ノニオン性界面活性剤、アニオン性界面活性剤、カチオン性界面活性剤、両性界面活性剤の少なくとも一種を含有する、請求項1に記載の熱転写シートの洗浄方法。
【請求項7】
前記熱転写シートは、基材層と、色材層および保護層の少なくとも一方と、を有する、請求項1に記載の熱転写シートの洗浄方法。
【請求項8】
前記基材層の厚さが、5.0μm未満である、請求項7に記載の熱転写シートの洗浄方法。
【請求項9】
請求項1から請求項8までのいずれかの請求項に記載の熱転写シートの洗浄方法を用いて、熱転写シートを洗浄する洗浄工程を有する、リサイクル原料の製造方法。
発明の詳細な説明
【技術分野】
【0001】
本開示は、熱転写シートの洗浄方法およびリサイクル原料の製造方法に関する。
続きを表示(約 1,600 文字)
【背景技術】
【0002】
環境問題への取り組みの一つとして、資源の再利用が挙げられる。例えば、特許文献1には、少なくともプラスチック基材層および印刷層を備える積層体を、脱離液に浸漬させ、印刷層を所定のサイズとなるように脱離させ、プラスチック基材を回収する工程を含む、積層体の分離回収方法が開示されている。また、特許文献2には、プラスチック片を脱墨する装置が開示されている。
【先行技術文献】
【特許文献】
【0003】
特許第7168814号
特許第7368036号
【発明の概要】
【発明が解決しようとする課題】
【0004】
例えば、使用済みの熱転写シートを、資源として再利用する場合、リサイクル先が制限されないように、熱転写シートを洗浄処理する洗浄処理工程が必要となる。洗浄処理工程では、通常、熱転写シートの破砕片に洗浄液を加えて、破砕片に含まれる色材を脱色したり、破砕片の汚れを落としたりする。熱転写シートの破砕片は、薄く、かつ、コシが少ないため、破砕片同士が凝集しやすい。そのため、例えば、厚い樹脂シート等の洗浄対象と比較して、良好な洗浄性が得られにくい。
【0005】
本願発明者等は、洗浄液に界面活性剤を添加することで、破砕片同士の凝集を抑制することを知見した。しかしながら、洗浄液に界面活性剤を添加すると、洗浄処理の際に、洗浄液に泡が発生しやすくなる。洗浄液に泡が発生すると、例えば、タンクからオーバーフローが生じやすくなり、オーバーフローが生じると作業効率が低下する。そのため、洗浄処理の際に、良好な低起泡性(泡立が少ないこと)が求められる。一方、良好な低起泡性を得ようとすると、良好な洗浄性が得られない場合がある。
【0006】
本開示は、上記実情に鑑みてなされたものであり、良好な洗浄性と、良好な低起泡性と、を両立した熱転写シートの洗浄方法を提供することを主目的とする。
【課題を解決するための手段】
【0007】
本開示においては、熱転写シートの洗浄方法であって、上記熱転写シートの洗浄方法は、上記熱転写シートの破砕片を準備する準備工程と、複数の上記破砕片を、中性の水系洗浄液を用いて洗浄処理する洗浄処理工程と、を有し、上記熱転写シートの厚さは、3.5μm以上、12μm以下であり、上記水系洗浄液は、少なくとも界面活性剤を含む洗浄剤と、水と、を含有し、上記破砕片の質量の合計に対する上記水の質量が、160倍以上であり、上記破砕片の質量の合計に対する上記洗浄剤の質量が、1倍以上、85倍以下である、熱転写シートの洗浄方法を提供する。
【0008】
本開示においては、上述した熱転写シートの洗浄方法を用いて、熱転写シートを洗浄する洗浄工程を有する、リサイクル原料の製造方法を提供する。
【発明の効果】
【0009】
本開示においては、良好な洗浄性と、良好な低起泡性と、を両立した熱転写シートの洗浄方法を提供できるという効果を奏する。
【図面の簡単な説明】
【0010】
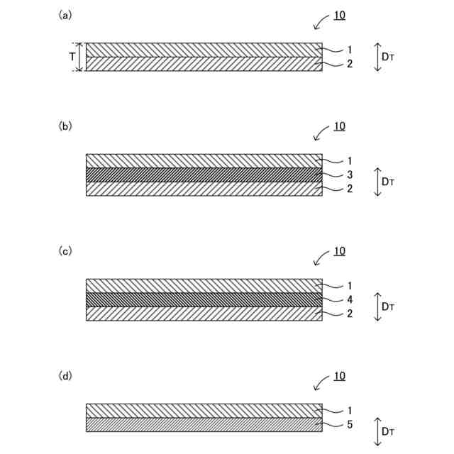
本開示における熱転写シートの洗浄方法を例示するフロー図である。
本開示における熱転写シートを例示する概略断面図である。
本開示における破砕片を例示する概略平面図である。
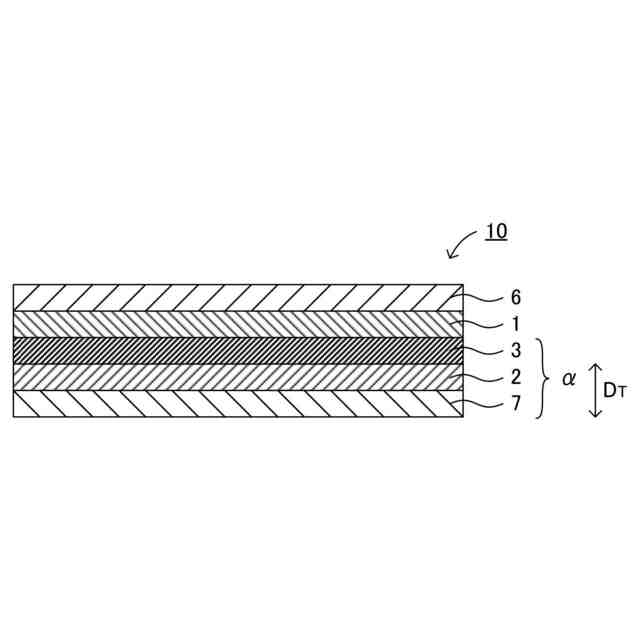
本開示における熱転写シートを例示する概略断面図である。
本開示における熱転写シートを例示する概略断面図である。
本開示における熱転写シートを例示する概略断面図である。
本開示における破砕片を例示する概略平面図である。
【発明を実施するための形態】
(【0011】以降は省略されています)
この特許をJ-PlatPat(特許庁公式サイト)で参照する
関連特許
大日本印刷株式会社
床構成体
4日前
大日本印刷株式会社
積層シート
2日前
大日本印刷株式会社
発電モジュール
13日前
大日本印刷株式会社
パネルの固定方法
10日前
大日本印刷株式会社
積層体及び包装容器
11日前
大日本印刷株式会社
積層体および包装容器
13日前
大日本印刷株式会社
積層体および包装容器
13日前
大日本印刷株式会社
積層体および包装容器
13日前
大日本印刷株式会社
積層体および包装容器
13日前
大日本印刷株式会社
積層体および包装容器
2日前
大日本印刷株式会社
学習支援装置及びプログラム
4日前
大日本印刷株式会社
情報処理装置及びプログラム
3日前
大日本印刷株式会社
情報処理装置及びプログラム
13日前
大日本印刷株式会社
クランプ装置及びウェブ搬送装置
13日前
大日本印刷株式会社
水素センサおよび水素検知システム
3日前
大日本印刷株式会社
ウェブ搬送装置及びウェブ搬送方法
9日前
大日本印刷株式会社
作業装置、作業システム、作業方法
9日前
大日本除蟲菊株式会社
薬剤揮散装置
5日前
大日本印刷株式会社
熱転写シートと中間転写媒体との組合せ
2日前
大日本印刷株式会社
バリア性フィルム、積層体および包装容器
13日前
大日本印刷株式会社
バリア性フィルム、積層体および包装容器
13日前
大日本印刷株式会社
サーバ装置、動画配信方法及びプログラム
13日前
大日本印刷株式会社
バリア性フィルム、積層体および包装容器
13日前
大日本印刷株式会社
転写シート、成形品の製造方法および成形品
9日前
大日本印刷株式会社
情報処理装置、情報処理方法及びプログラム
3日前
大日本印刷株式会社
情報処理装置、情報処理方法及びプログラム
3日前
大日本印刷株式会社
プログラム、情報処理方法、及び情報処理装置
5日前
大日本印刷株式会社
加飾積層体、転写シート、加飾部材、及び移動体
2日前
大日本印刷株式会社
ボビン、熱転写シートリボン及び熱転写印画装置
13日前
大日本印刷株式会社
加飾シート、外装部材の製造方法および外装部材
2日前
大日本印刷株式会社
化粧シート、化粧シートの製造方法および化粧部材
5日前
大日本印刷株式会社
熱転写シートの洗浄方法およびリサイクル原料の製造方法
2日前
大日本印刷株式会社
熱転写シートの洗浄方法およびリサイクル原料の製造方法
2日前
大日本印刷株式会社
デュアルインターフェースICカードおよびICモジュール
5日前
大日本印刷株式会社
デュアルインターフェースICカードおよびICモジュール
5日前
大日本印刷株式会社
光学素子、前記光学素子を含む装置、及び光学素子の製造方法
10日前
続きを見る
他の特許を見る