TOP
|
特許
|
意匠
|
商標
特許ウォッチ
Twitter
他の特許を見る
公開番号
2025147547
公報種別
公開特許公報(A)
公開日
2025-10-07
出願番号
2024047844
出願日
2024-03-25
発明の名称
化粧シート、化粧シートの製造方法および化粧部材
出願人
大日本印刷株式会社
代理人
個人
,
個人
主分類
B32B
7/12 20060101AFI20250930BHJP(積層体)
要約
【課題】ステイン塗料等の塗料を化粧シートに塗工した際に、良好な奥行き感を付与可能な化粧シートを提供する。
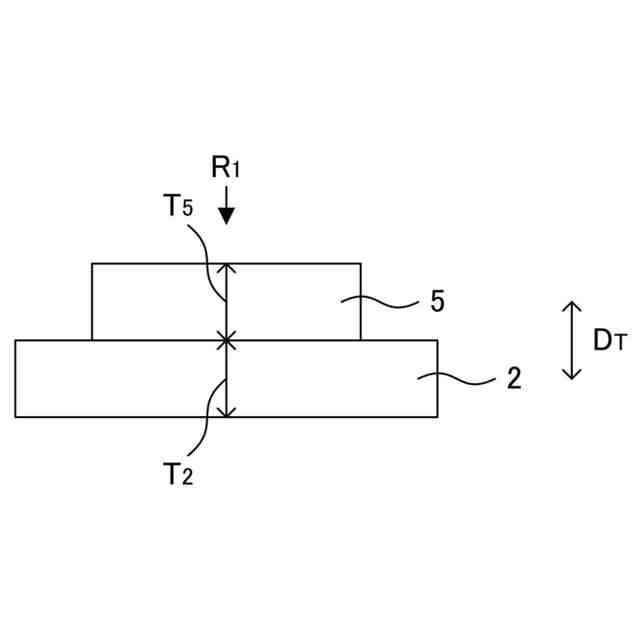
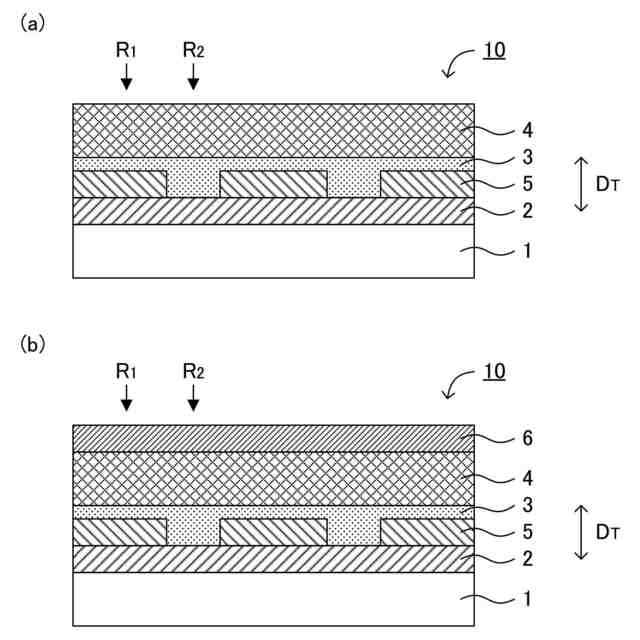
【解決手段】基材層1、意匠層2、接着層3および不織布層4を、厚さ方向において、この順に有する化粧シート10であって、上記意匠層および上記接着層の間に、パターン状の凸層5が配置されている、化粧シートとする。
【選択図】図1
特許請求の範囲
【請求項1】
基材層、意匠層、接着層および不織布層を、厚さ方向において、この順に有する化粧シートであって、
前記意匠層および前記接着層の間に、パターン状の凸層が配置されている、化粧シート。
続きを表示(約 640 文字)
【請求項2】
前記凸層が、粒子を含有する、請求項1に記載の化粧シート。
【請求項3】
前記凸層が、前記粒子として、光輝性顔料およびフィラーの少なくとも一方を含有する、請求項2に記載の化粧シート。
【請求項4】
前記光輝性顔料が、パール顔料である、請求項3に記載の化粧シート。
【請求項5】
前記凸層の厚さが、2μm以上、15μm以下である、請求項1に記載の化粧シート。
【請求項6】
前記意匠層は、絵柄を有する絵柄層を備え、
前記厚さ方向からみて、前記凸層は、前記絵柄に応じて配置されている、請求項1に記載の化粧シート。
【請求項7】
前記化粧シートは、前記不織布層の前記接着層とは反対の面側に、表面保護層を有する、請求項1に記載の化粧シート。
【請求項8】
基材層、意匠層、および、パターン状の凸層を、厚さ方向において、この順に有する第1積層体を準備する第1積層体準備工程と、
前記第1積層体の前記凸層側の面に、接着層を形成し、第2積層体を準備する第2積層体準備工程と、
前記第2積層体の前記接着層側の面に、不織布層を配置し、前記第2積層体および前記不織布層を接着する不織布層設置工程と、
を有する化粧シートの製造方法。
【請求項9】
被着部材と、請求項1から請求項7までのいずれかの請求項に記載の化粧シートと、を有する、化粧部材。
発明の詳細な説明
【技術分野】
【0001】
本開示は、化粧シート、化粧シートの製造方法および化粧部材に関する。
続きを表示(約 1,200 文字)
【背景技術】
【0002】
主に欧米を中心として、ステイン塗料を、一般消費者が自ら木製の建築物内装材等の表面に塗装することが一般的に行われている。このようなステイン塗料は、木材の内部に浸透して木材を着色する塗料であり、木材の意匠性を向上させることができる。
【0003】
一方、建築物内装材等の表面に、木目模樣を有する化粧シートを配置する場合があり、ステイン塗料等の塗料による塗装に対応可能な化粧シートが知られている。例えば、特許文献1には、紙基材と、接着層と、不織布層とを備えたステイナブル性化粧シートが開示されている。不織布層は、ステイン塗料等の塗料が染み込む着肉性を有する。また、塗料が染み込む着肉性を有する不織布層を備えた化粧シートは、リコート性を有する化粧シートとも称される。
【先行技術文献】
【特許文献】
【0004】
特開2019-64131号公報
【発明の概要】
【発明が解決しようとする課題】
【0005】
上記のように、不織布層は、塗料が染み込む着肉性を有しているが、その染み込み深さは、不織布層の面方向(厚さ方向に直交する方向)において異なる領域で、通常、均一である。すなわち、不織布層の一の領域における、塗料の染み込み深さは、不織布層の他の領域における、塗料の染み込み深さと、通常、同程度である。そのため、塗料の染み込みによって、化粧シートの意匠に奥行き感を付与することは困難である。
【0006】
本開示は、上記実情に鑑みてなされたものであり、ステイン塗料等の塗料を化粧シートに塗工した際に、良好な奥行き感を付与可能な化粧シートを提供することを主目的とする。
【課題を解決するための手段】
【0007】
本開示においては、基材層、意匠層、接着層および不織布層を、厚さ方向において、この順に有する化粧シートであって、上記意匠層および上記接着層の間に、パターン状の凸層が配置されている、化粧シートを提供する。
【0008】
本開示においては、基材層、意匠層、および、パターン状の凸層を、厚さ方向において、この順に有する第1積層体を準備する第1積層体準備工程と、上記第1積層体の上記凸層側の面に、接着層を形成し、第2積層体を準備する第2積層体準備工程と、上記第2積層体の上記接着層側の面に、不織布層を配置し、上記第2積層体および上記不織布層を接着する不織布層設置工程と、を有する化粧シートの製造方法を提供する。
【0009】
本開示においては、被着部材と、上述した化粧シートと、を有する、化粧部材を提供する。
【発明の効果】
【0010】
本開示においては、ステイン塗料等の塗料を化粧シートに塗工した際に、良好な奥行き感を付与可能な化粧シートを提供できるという効果を奏する。
【図面の簡単な説明】
(【0011】以降は省略されています)
この特許をJ-PlatPat(特許庁公式サイト)で参照する
関連特許
大日本印刷株式会社
印刷物
1日前
大日本印刷株式会社
印刷物
1日前
大日本印刷株式会社
移動体
29日前
大日本印刷株式会社
移動体
29日前
大日本印刷株式会社
床構成体
10日前
大日本印刷株式会社
積層シート
8日前
大日本印刷株式会社
床用化粧材
4日前
大日本印刷株式会社
発電モジュール
19日前
大日本印刷株式会社
パネルの固定方法
16日前
大日本印刷株式会社
積層体及び包装容器
17日前
大日本印刷株式会社
積層体および包装容器
19日前
大日本印刷株式会社
積層体および包装容器
8日前
大日本印刷株式会社
積層体および包装容器
4日前
大日本印刷株式会社
積層体および包装容器
19日前
大日本印刷株式会社
積層体および包装容器
19日前
大日本印刷株式会社
積層体および包装容器
19日前
大日本印刷株式会社
再配線層及びその製造方法
3日前
大日本印刷株式会社
加飾シート及び樹脂成形品
4日前
大日本印刷株式会社
情報処理装置及びプログラム
19日前
大日本印刷株式会社
学習支援装置及びプログラム
10日前
大日本印刷株式会社
情報処理装置及びプログラム
9日前
大日本印刷株式会社
クランプ装置及びウェブ搬送装置
19日前
大日本印刷株式会社
ポリエステルフィルム及び積層体
29日前
大日本印刷株式会社
水素センサおよび水素検知システム
9日前
大日本印刷株式会社
作業装置、作業システム、作業方法
15日前
大日本印刷株式会社
ウェブ搬送装置及びウェブ搬送方法
15日前
大日本除蟲菊株式会社
薬剤揮散装置
11日前
大日本印刷株式会社
位相差板、光学部材、及び、表示装置
4日前
大日本印刷株式会社
熱転写シートと中間転写媒体との組合せ
8日前
大日本印刷株式会社
サーバ装置、動画配信方法及びプログラム
19日前
大日本印刷株式会社
バリア性フィルム、積層体および包装容器
19日前
大日本印刷株式会社
バリア性フィルム、積層体および包装容器
19日前
大日本印刷株式会社
バリア性フィルム、積層体および包装容器
19日前
大日本印刷株式会社
情報処理装置、情報処理方法及びプログラム
9日前
大日本印刷株式会社
情報処理装置、情報処理方法及びプログラム
9日前
大日本印刷株式会社
転写シート、成形品の製造方法および成形品
15日前
続きを見る
他の特許を見る